TOP
|
特許
|
意匠
|
商標
意匠ウォッチ
Twitter
他の意匠を見る
24個以上の画像は省略されています。
発行日
2025-09-04
公報種別
意匠公報(S)
登録番号
1807769
登録日
2025-08-27
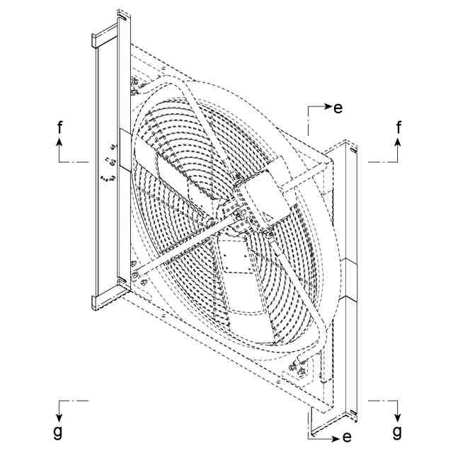
意匠に係る物品
送風機
意匠分類
K8
-700(動力機械器具、ポンプ、圧縮機、送風機等)
出願番号
2024020387
出願日
2024-10-01
意匠権者
三菱電機株式会社
,
MITSUBISHI ELECTRIC CORPORATION
代理人
個人
,
個人
,
個人
意匠に係る物品の説明
本物品は、倉庫や工場等において、主に天井から吊り下げて使用し、送風部の角度調整を行うことができる送風機である。
意匠の説明
部分意匠として意匠登録を受けようとする部分を実線で、それ以外の部分を破線で表している。一点鎖線は、部分意匠として意匠登録を受けようとする部分とその他の部分との境界のみを示す線である。意匠登録を受けようとする部分に薄墨を施した参考図において薄墨を施した部分が、部分意匠として意匠登録を受けようとする部分である。部分意匠として意匠登録を受けようとする部分は左右対称であり、形態的及び機能的な一体性を有するものである。
この意匠をJ-PlatPat(特許庁公式サイト)で参照する
関連意匠
三菱電機株式会社
7か月前
三菱電機株式会社
5か月前
三菱電機株式会社
2か月前
三菱電機株式会社
7か月前
三菱電機株式会社
7か月前
三菱電機株式会社
7か月前
三菱電機株式会社
7か月前
三菱電機株式会社
6か月前
三菱電機株式会社
6か月前
三菱電機株式会社
5か月前
三菱電機株式会社
2か月前
三菱電機株式会社
5か月前
三菱電機株式会社
4か月前
三菱電機株式会社
4か月前
三菱電機株式会社
4か月前
三菱電機株式会社
4か月前
三菱電機株式会社
4か月前
三菱電機株式会社
4か月前
三菱電機株式会社
4か月前
三菱電機株式会社
4か月前
三菱電機株式会社
2か月前
三菱電機株式会社
4か月前
三菱電機株式会社
8か月前
三菱電機株式会社
8か月前
三菱電機株式会社
1か月前
三菱電機株式会社
8か月前
三菱電機株式会社
8か月前
三菱電機株式会社
電動車
11か月前
三菱電機株式会社
電動車
11か月前
三菱電機株式会社
電動車
11か月前
三菱電機株式会社
電動車
11か月前
三菱電機株式会社
情報表示用画像
4か月前
三菱電機株式会社
情報表示用画像
10か月前
三菱電機株式会社
情報表示用画像
10か月前
三菱電機株式会社
情報表示用画像
10か月前
三菱電機株式会社
情報表示用画像
7か月前
続きを見る
他の意匠を見る