TOP
|
特許
|
意匠
|
商標
意匠ウォッチ
Twitter
他の意匠を見る
発行日
2025-09-30
公報種別
意匠公報(S)
登録番号
1809468
登録日
2025-09-19
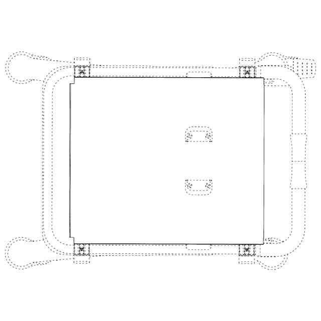
意匠に係る物品
ワゴン
意匠分類
D6
-56(室内整理用家具・用具)
出願番号
2025008490
出願日
2025-04-28
意匠権者
コクヨ株式会社
代理人
弁理士法人藤本パートナーズ
意匠に係る物品の説明
意匠の説明
実線であらわした部分が、意匠登録を受けようとする部分である。断面図及びB-B部拡大斜視図を含めて意匠登録を受けようとする部分を特定している。
意匠ウォッチbot のツイートを見る
この意匠をJ-PlatPat(特許庁公式サイト)で参照する
関連意匠
コクヨ株式会社
7か月前
コクヨ株式会社
3か月前
コクヨ株式会社
11か月前
コクヨ株式会社
3か月前
コクヨ株式会社
3か月前
コクヨ株式会社
3か月前
コクヨ株式会社
椅子
5か月前
コクヨ株式会社
椅子
6か月前
コクヨ株式会社
椅子
5か月前
コクヨ株式会社
椅子
5か月前
コクヨ株式会社
椅子
5か月前
コクヨ株式会社
椅子
4か月前
コクヨ株式会社
椅子
6か月前
コクヨ株式会社
椅子
26日前
コクヨ株式会社
ソファ
7か月前
コクヨ株式会社
ソファ
6か月前
コクヨ株式会社
ソファ
7か月前
コクヨ株式会社
ソファ
7か月前
コクヨ株式会社
ソファ
2か月前
コクヨ株式会社
ソファ
7か月前
コクヨ株式会社
ついたて
5か月前
コクヨ株式会社
テーブル
5か月前
コクヨ株式会社
テーブル
10か月前
コクヨ株式会社
テーブル
10か月前
コクヨ株式会社
テーブル
10か月前
コクヨ株式会社
テーブル
5か月前
コクヨ株式会社
テーブル
4か月前
コクヨ株式会社
テーブル
5か月前
コクヨ株式会社
テーブル
5か月前
コクヨ株式会社
テーブル
4か月前
コクヨ株式会社
テーブル
4か月前
コクヨ株式会社
テーブル
4か月前
コクヨ株式会社
テーブル
4か月前
コクヨ株式会社
テーブル
3か月前
コクヨ株式会社
テーブル
5か月前
コクヨ株式会社
テーブル
2か月前
続きを見る
他の意匠を見る