TOP特許意匠商標
意匠ウォッチ Twitter
発行日2025-10-01
公報種別意匠公報(S)
登録番号1809683
登録日2025-09-22
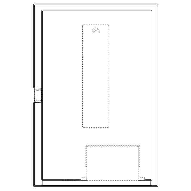
意匠に係る物品Charger for electric vehicle
意匠分類H2-2120(回転電気機械、配電機械器具)
出願番号2025500251,30-2024-0034293
出願日
意匠権者LG ELECTRONICS INC.
代理人
意匠に係る物品の説明
意匠の説明The broken lines indicate portions of the article that form no part of the claimed design. 1.1)Perspective; 1.2)Back perspective view; 1.3)Front; 1.4)Back; 1.5)Left; 1.6)Right; 1.7)Top; 1.8)Bottom
この意匠をJ-PlatPat(特許庁公式サイト)で参照する

関連意匠

LG ELECTRONICS INC.
Speaker
3か月前
LG ELECTRONICS INC.
Speaker
3か月前
LG ELECTRONICS INC.
Projector
2か月前
LG Electronics Inc.
Hair dryer
14日前
LG ELECTRONICS INC.
Air purifier
3か月前
LG Electronics Inc.
Laptop computer
6か月前
LG ELECTRONICS INC.
Air purifier
3か月前
LG ELECTRONICS INC.
Air purifier
4か月前
LG ELECTRONICS INC.
Dehumidifier
4か月前
LG ELECTRONICS INC.
Washing machine
6か月前
LG ELECTRONICS INC.
Washing machine
4か月前
LG Electronics Inc.
Vacuum cleaner
12か月前
LG Electronics Inc.
Refrigerator
10か月前
LG ELECTRONICS INC.
Interactive kiosk
10か月前
LG ELECTRONICS INC.
Television screen
7か月前
LG Electronics Inc.
Air conditioner
3か月前
LG Electronics Inc.
Air conditioner
12か月前
LG Electronics Inc.
Air conditioner
12か月前
LG Electronics Inc.
Air conditioner
12か月前
LG Electronics Inc.
Air conditioner
3か月前
LG Electronics Inc.
Air conditioner
3か月前
LG Electronics Inc.
Air conditioner
3か月前
LG Electronics Inc.
Air conditioner
3か月前
LG Electronics Inc.
Air conditioner
3か月前
LG Electronics Inc.
Air conditioner
12か月前
LG Electronics Inc.
Air conditioner
12か月前
LG Electronics Inc.
Air conditioner
6か月前
LG Electronics Inc.
Air conditioner
3か月前
LG ELECTRONICS INC.
Air conditioner
13日前
LG Electronics Inc.
Air conditioner
3か月前
LG ELECTRONICS INC.
Air conditioner
2か月前
LG Electronics Inc.
Air conditioner
20日前
LG Electronics Inc.
Air conditioner
1か月前
LG ELECTRONICS INC.
Television receiver
9か月前
LG ELECTRONICS INC.
Television receiver
8か月前
LG ELECTRONICS INC.
Television receiver
10か月前
続きを見る