TOP
|
特許
|
意匠
|
商標
特許ウォッチ
Twitter
他の特許を見る
10個以上の画像は省略されています。
公開番号
2025023459
公報種別
公開特許公報(A)
公開日
2025-02-17
出願番号
2023127587
出願日
2023-08-04
発明の名称
車両用灯具
出願人
株式会社小糸製作所
代理人
個人
主分類
F21S
41/32 20180101AFI20250207BHJP(照明)
要約
【課題】投影レンズを備えた車両用灯具において、灯具効率の低下を最小限に抑えた上で、対向車ドライバに大きなグレアを与えてしまわないようにする。
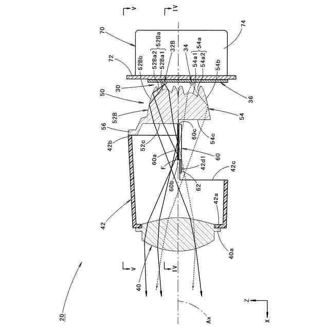
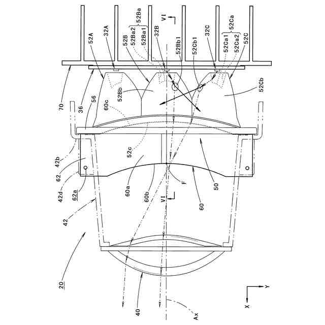
【解決手段】リフレクタとして機能する透光部材50の第1透光部52Bとして、第1発光素子32Bからの出射光が到達する全反射面52Bbの一部領域に凹凸部52Bb1が形成された構成とする。これにより、対向車ドライバに大きなグレアを与えてしまう原因となる光がシェード60の上向き反射面60aに入射してしまわないようにする。そしてこれにより、従来のように、グレア抑制を図るためにシェードの上向き反射面にリフレクタからの反射光の一部を遮光する突起部が形成された構成を採用した場合のように、必要以上の遮光が行われてしまわないようする。
【選択図】図6
特許請求の範囲
【請求項1】
ロービーム用配光パターンを形成するように構成された車両用灯具において、
投影レンズと、上記投影レンズの後側焦点よりも灯具後方側に配置された光源と、上記光源の上方側に配置された状態で上記光源からの出射光を上記投影レンズへ向けて反射させるリフレクタと、上記リフレクタと上記投影レンズとの間に配置された状態で上記ロービーム用配光パターンのカットオフラインを形成するために上記リフレクタからの反射光の一部を遮光するシェードとを備えており、
上記シェードに、上記リフレクタからの反射光を上記投影レンズへ向けて上向きに反射させる上向き反射面が形成されており、
上記リフレクタは透光部材で構成されており、
上記透光部材は、上記光源からの出射光を入射させる入射面と、上記入射面から入射した光を全反射させる全反射面と、上記全反射面で全反射した光を出射させる出射面とを備えており、
上記全反射面は、上記入射面から入射した光を上記シェードの上向き反射面へ向かう光として全反射させる反射領域の一部に凹凸部が形成された構成となっている、ことを特徴とする車両用灯具。
続きを表示(約 210 文字)
【請求項2】
上記凹凸部は、上記入射面から入射して上記凹凸部に到達した光を上記透光部材の外部空間へ出射させる表面形状を有している、ことを特徴とする請求項1記載の車両用灯具。
【請求項3】
上記シェードは、上記透光部材の一部として構成されており、
上記上向き反射面は、上記透光部材の表面に鏡面処理が施されることによって構成されている、ことを特徴とする請求項1または2記載の車両用灯具。
発明の詳細な説明
【技術分野】
【0001】
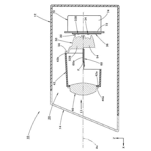
本願発明は、投影レンズを備えた車両用灯具に関するものである。
続きを表示(約 1,800 文字)
【背景技術】
【0002】
従来より、ロービーム用配光パターンを形成するための車両用灯具として、投影レンズの後側焦点よりも灯具後方側に配置された光源からの出射光を、この光源の上方側に配置されたリフレクタにより投影レンズへ向けて反射させるようにした上で、リフレクタと投影レンズとの間に配置されたシェードによりリフレクタからの反射光の一部を遮光してロービーム用配光パターンのカットオフラインを形成するように構成されたものが知られている。
【0003】
「特許文献1」には、このような車両用灯具におけるシェードの構成として、リフレクタからの反射光を投影レンズへ向けて上向きに反射させる上向き反射面が形成され、かつ、この上向き反射面における投影レンズの光軸よりも自車線側の位置に、リフレクタからの反射光の一部を遮光する突起部が形成されたものが記載されている。
【0004】
また「特許文献2」には、このようなシェードを備えた車両用灯具のリフレクタとして、光源からの出射光を入射させる入射面と、この入射面から入射した光を全反射させる全反射面と、この全反射面で全反射した光を出射させる出射面とを備えた透光部材で構成されたものが記載されている。
【先行技術文献】
【特許文献】
【0005】
特開2008-243433号公報
国際公開第2023/054513号
【発明の概要】
【発明が解決しようとする課題】
【0006】
上記「特許文献1」や「特許文献2」に記載された車両用灯具のように、そのシェードに上向き反射面が形成された構成とすることにより、光源からの出射光に対する光束利用率を高めることができ、かつ、その上向き反射面に突起部が形成された構成とすることにより、ロービーム用配光パターンにおける対向車線側カットオフラインの下方近傍領域の明るさを局所的に抑えることが可能となる。そしてこれにより、自車がピッチングしたような場合においても、対向車ドライバに大きなグレアを与えてしまわないようにすることが可能となる。
【0007】
しかしながら、このような構成を採用した場合には、リフレクタからの反射光のうち、対向車線側カットオフラインの下方近傍領域の明るさを局所的に抑えるのに必要な光以外の光についても、突起部によって少なからず遮光されてしまうので、その分だけ灯具効率が低下してしまう。
【0008】
本願発明は、このような事情に鑑みてなされたものであって、投影レンズを備えた車両用灯具において、灯具効率の低下を最小限に抑えた上で、対向車ドライバに大きなグレアを与えてしまわないようにすることができる車両用灯具を提供することを目的とするものである。
【課題を解決するための手段】
【0009】
本願発明は、リフレクタの構成に工夫を施すことにより、上記目的達成を図るようにしたものである。
【0010】
すなわち、本願発明に係る車両用灯具は、
ロービーム用配光パターンを形成するように構成された車両用灯具において、
投影レンズと、上記投影レンズの後側焦点よりも灯具後方側に配置された光源と、上記光源の上方側に配置された状態で上記光源からの出射光を上記投影レンズへ向けて反射させるリフレクタと、上記リフレクタと上記投影レンズとの間に配置された状態で上記ロービーム用配光パターンのカットオフラインを形成するために上記リフレクタからの反射光の一部を遮光するシェードとを備えており、
上記シェードに、上記リフレクタからの反射光を上記投影レンズへ向けて上向きに反射させる上向き反射面が形成されており、
上記リフレクタは透光部材で構成されており、
上記透光部材は、上記光源からの出射光を入射させる入射面と、上記入射面から入射した光を全反射させる全反射面と、上記全反射面で全反射した光を出射させる出射面とを備えており、
上記全反射面は、上記入射面から入射した光を上記シェードの上向き反射面へ向かう光として全反射させる反射領域の一部に凹凸部が形成された構成となっている、ことを特徴とするものである。
(【0011】以降は省略されています)
この特許をJ-PlatPat(特許庁公式サイト)で参照する
関連特許
他の特許を見る