TOP
|
特許
|
意匠
|
商標
特許ウォッチ
Twitter
他の特許を見る
10個以上の画像は省略されています。
公開番号
2025030098
公報種別
公開特許公報(A)
公開日
2025-03-07
出願番号
2023135113
出願日
2023-08-23
発明の名称
遊技機
出願人
株式会社三共
代理人
主分類
A63F
5/04 20060101AFI20250228BHJP(スポーツ;ゲーム;娯楽)
要約
【課題】計数処理の制御に関して改良を施した遊技機を提供する。
【解決手段】遊技者により特定期間に亘ってなされる操作である特定操作がされたことに基づいて特定フラグを設定し、特定フラグが設定されている場合に、価値記憶手段に記憶される遊技用価値から特定数の遊技用価値量のユニットへの移動と特定フラグの設定解除とを行う更新処理を行い、特定操作と異なる特別操作がされたことに基づいて特別フラグを設定し、特別フラグが設定されている場合、特定操作が行われているか否かにかかわらず特定フラグの設定を行うことにより特定期間が経過するごとに更新処理を繰り返す全計数処理を行う。
【選択図】図73
特許請求の範囲
【請求項1】
遊技を行う遊技機において、
遊技者所有の遊技用価値を記憶可能な価値記憶手段と、
遊技者所有の遊技用価値を記憶可能なユニットと前記価値記憶手段との間で遊技用価値を移動させる価値制御手段と、を備え、
前記価値制御手段は、
遊技者により特定期間に亘ってなされる操作である特定操作がされたことに基づいて、前記価値記憶手段に記憶される遊技用価値から特定数の遊技用価値量の前記ユニットへの移動を行う更新処理を行い、
前記特定操作と異なる特別操作がされた場合、前記特定操作が行われているか否かにかかわらず前記特定操作がされているとみなして、前記特定期間が経過するごとに前記更新処理を繰り返す全計数処理を行い、
前記更新処理が行われ、前記価値記憶手段に記憶される遊技用価値が0になったことを報知する特定報知手段をさらに備え、
前記特定報知手段は、前記全計数処理により前記更新処理が行われ前記価値記憶手段に記憶される遊技用価値が0になったときと、前記全計数処理によらず前記更新処理が行われ前記価値記憶手段に記憶される遊技用価値が0になったときと、で異なる態様で遊技用価値が0になったことを報知する、遊技機。
発明の詳細な説明
【技術分野】
【0001】
本発明は、遊技を行うことが可能な遊技機に関する。
続きを表示(約 4,500 文字)
【背景技術】
【0002】
遊技機として、遊技者が有する遊技用価値を管理するカードユニットを有するスロットマシン等がある。たとえば、特開2019-187772号公報(以下、特許文献1と称する。)には、スロットマシン内に記憶されている遊技用価値(クレジット数)をカードユニットに移動させる計数処理が行われることが記載されている。
【0003】
特許文献1に記載の遊技機は、クレジット数を表示するためのクレジット表示器を有する。特許文献1には、計数ボタンが押下し続けた時間に応じて計数処理が繰り返し実行されることが記載されている。すなわち、特許文献1に記載の遊技機では、遊技者が計数ボタンを押下している期間にだけ計数処理が実行される。
【先行技術文献】
【特許文献】
【0004】
特開2019-187772号公報
【発明の概要】
【発明が解決しようとする課題】
【0005】
特許文献1の遊技機において、計数処理の制御に関して改良の余地があった。
【0006】
本発明は、かかる実情に鑑み考え出されたものであり、その目的は、計数処理の制御に関して改良を施した遊技機を提供することである。
【課題を解決するための手段】
【0007】
遊技を行う遊技機(たとえば、図1に示されているS台2)において、
遊技者所有の遊技用価値を記憶可能な価値記憶手段(たとえば、図2に示されているメダル数制御基板17のRAM171c)と、
遊技者所有の遊技用価値を記憶可能なユニット(たとえば、図1に示されているCU3)と前記価値記憶手段との間で遊技用価値を移動させる価値制御手段(たとえば、図2に示されているメダル数制御基板17のCPU171a)と、を備え、
前記価値制御手段は、
遊技者により特定期間(たとえば、図72に示されている500ms)に亘ってなされる操作である特定操作(たとえば、計数ボタン10による計数操作)がされたことに基づいて、前記価値記憶手段に記憶される遊技用価値から特定数(たとえば、50枚)の遊技用価値量の前記ユニットへの移動(たとえば、図77に示されるS408、S409の処理)を行う更新処理(たとえば、一括計数処理)を行い、
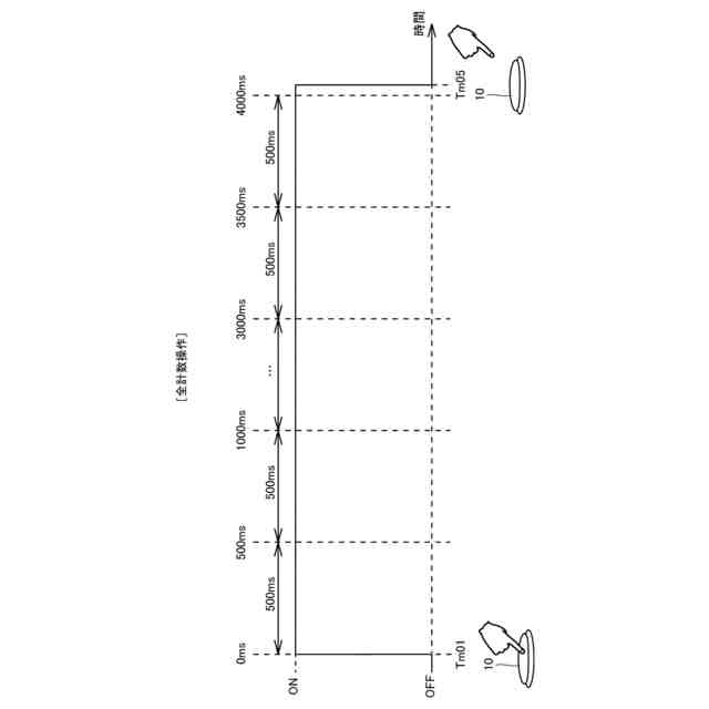
前記特定操作と異なる特別操作(たとえば、図73に示される4000msの期間、計数ボタンが押下され続ける操作)がされた場合、前記特定操作が行われているか否かにかかわらず前記特定操作がされているとみなして、前記特定期間が経過するごとに前記更新処理を繰り返す全計数処理(たとえば、図73に示される全計数処理)を行い、
前記更新処理が行われ、前記価値記憶手段に記憶される遊技用価値が0になったことを報知する特定報知手段(ステップS413の全計数終了音)をさらに備え、
前記特定報知手段は、前記全計数処理により前記更新処理が行われ前記価値記憶手段に記憶される遊技用価値が0になったときと、前記全計数処理によらず前記更新処理が行われ前記価値記憶手段に記憶される遊技用価値が0になったときと、で異なる態様で遊技用価値が0になったことを報知する。
【図面の簡単な説明】
【0008】
カードユニットおよびスロットマシンの正面図である。
カードユニットおよびスロットマシンの内部構成を示すブロック図である。
リールの図柄配列を示す図である。
遊技状態の遷移を説明するための図である。
入賞役の種類、入賞役の図柄組合せ、および入賞時の付与について説明する ための図である。
入賞役の種類、入賞役の図柄組合せ、および入賞時の付与について説明する ための図である。
入賞役の種類、入賞役の図柄組合せ、および入賞時の付与について説明する ための図である。
入賞役の種類、入賞役の図柄組合せ、および入賞時の付与について説明する ための図である。
遊技状態ごとに抽選対象役として読み出される入賞役の組合せについて説明 するための図である。
押し順役当選時のリール制御を説明するための図である。
スタートスイッチが操作されたときに主制御部が演出制御部に対して送信 する遊技開始時コマンドを示す図である。
第3停止時に主制御部が演出制御部に送信する遊技終了時コマンドを示す である。
主制御基板がメダル数制御基板へ送信するコマンドの種類を示す図である 。
遊技機設置情報コマンドを説明する図である。
遊技機特性の詳細を示す図である。
役物情報コマンドの構成を示す図である。
役物作動情報の詳細を示す図である。
有利区間情報コマンドの構成を示す図である。
有利区間情報の詳細を示す図である。
投入コマンドの構成を示す図である。
精算コマンドの構成を示す図である。
開始時コマンドの構成を示す図である。
終了時コマンドの構成を示す図である。
払出パルスコマンドの構成を示す図である。
大当りコマンドの構成を示す図である。
ホールコンピュータ信号の詳細を示す図である。
遊技機不正1コマンドの構成を示す図である。
設定情報の詳細を示す図である。
遊技機不正2コマンドの構成を示す図である。
ドア情報の詳細を示す図である。
遊技機不正3コマンドの構成を示す図である。
主制御状態コマンドの構成を示す図である。
主制御基板エラーコマンドの構成を示す図である。
主制御基板エラー一覧を示す図である。
遊技機性能情報(予備)コマンドの構成を示す図である。
メダル数制御基板から主制御基板へのコマンド一覧を示す図である。
応答コマンドの構成を示す図である。
枠側情報コマンドの構成を示す図である。
主制御基板とメダル数制御基板間の通信の一例を示す図である。
枠側情報コマンドの通信を説明するための図である。
主制御基板がコマンド受信をする際の処理を示すフローチャートである。
電源投入からの主制御基板とメダル数制御基板との間の通信の流れを示す 図である。
通番が正常である場合の通信の一例を示す図である。
通番不一致エラーが発生した場合の通信の一例を示す図である。
遊技メダルに関するエラーが発生した場合の通信の一例を示す図である。
遊技機設置情報コマンドの送受信前における通信が発生した例を示す図で ある。
電源投入におけるタイムアウトの例を示す図である。
賭数設定操作と精算操作について説明する図である。
賭数設定操作後、応答コマンドを受信する前に新たに賭数設定操作がされ た例を示す図である。
精算操作後、応答コマンドを受信する前に新たに精算操作がされた例を示 す図である。
賭数設定操作後、応答コマンドを受信する前に新たに精算操作がされた例 を示す図である。
精算操作後、応答コマンドを受信する前に新たに賭数設定操作がされた例 を示す図である。
賭数設定操作における通番エラーを説明する図である。
精算操作における通番エラーを説明する図である。
払出枚数の表示制御を説明する図である。
役比モニタを示す図である。
役比モニタの表示例を示す図である。
役比情報の初期化処理を説明するための図である。
CUとの接続切断時の処理の第1例を示す図である。
CUとの接続切断時の処理の第2例を示す図である。
CUとの接続切断時の処理の第3例を示す図である。
CUとの接続切断時の処理の第4例を示す図である。
特定演出の態様を説明するための図である。
主制御部が用いるメモリ領域のアドレスマップである。
主制御部のCPUに含まれるレジスタバンクを説明するための図である。
主制御部の起動処理を示すフローチャートである。
主制御基板が行う初期設定処理を説明する図である。
主制御基板が行うメイン処理の制御内容を説明する図である。
主制御基板が行うRT情報出力処理の制御内容を説明する図である。
主制御基板が行う安全装置関連処理の制御内容を説明する図である。
単数計数操作を説明するための図である。
一括計数操作を説明するための図である。
全計数操作を説明するための図である。
メダル数制御基板におけるメイン処理である。
計数処理に用いられる各種データを説明するための図である。
計数ボタン検出処理(S103)内の処理を示すフローチャートである。
計数処理(ステップS108)内の処理を示すフローチャートである。
一括計数操作が連続して行われたときの各構成の状態の一例を示す図であ る。
更新表示を説明するための図である。
一括計数操作が連続して行われているときにCUとの接続が切断されたと きの各構成の状態の一例を示す図である。
クレジット表示器の更新処理を説明するためのフローチャートである。
全計数処理の第1例を示す図である。
全計数操作の第2例を示す図である。
設定確認画面の表示例を示す図である。
設定確認画面の表示中にCUとの接続が切断されたときの処理を説明する ための図である。
設定確認画面の表示中にCUとの接続が切断されたときの処理を説明する ため図である。
メニュー画面の表示例を示す図である。
メニュー画面の表示中にCUとの接続が切断されたときの処理を説明する ための図である。
設定変更画面の表示例を示す図である。
設定変更画面の表示中にCUとの接続が切断されたときの処理を説明する ための図である。
【発明を実施するための形態】
【0009】
本発明に係る遊技機の一例であるスロットマシンを実施するための形態を実施例に基づいて以下に説明する。
【0010】
実施の形態1.
[スロットマシンの構成]
図1は、カードユニットおよびスロットマシンの正面図である。
(【0011】以降は省略されています)
この特許をJ-PlatPat(特許庁公式サイト)で参照する
関連特許
株式会社三共
遊技機
今日
株式会社三共
遊技機
24日前
株式会社三共
遊技機
24日前
株式会社三共
遊技機
24日前
株式会社三共
遊技機
24日前
株式会社三共
遊技機
24日前
株式会社三共
遊技機
24日前
株式会社三共
遊技機
24日前
株式会社三共
遊技機
24日前
株式会社三共
遊技機
24日前
株式会社三共
遊技機
24日前
株式会社三共
遊技機
24日前
株式会社三共
遊技機
24日前
株式会社三共
遊技機
24日前
株式会社三共
遊技機
24日前
株式会社三共
遊技機
24日前
株式会社三共
遊技機
24日前
株式会社三共
遊技機
24日前
株式会社三共
遊技機
24日前
株式会社三共
遊技機
24日前
株式会社三共
遊技機
21日前
株式会社三共
遊技機
21日前
株式会社三共
遊技機
21日前
株式会社三共
遊技機
21日前
株式会社三共
遊技機
21日前
株式会社三共
遊技機
21日前
株式会社三共
遊技機
21日前
株式会社三共
遊技機
21日前
株式会社三共
遊技機
24日前
株式会社三共
遊技機
24日前
株式会社三共
遊技機
24日前
株式会社三共
遊技機
24日前
株式会社三共
遊技機
24日前
株式会社三共
遊技機
24日前
株式会社三共
遊技機
24日前
株式会社三共
遊技機
24日前
続きを見る
他の特許を見る