TOP
|
特許
|
意匠
|
商標
特許ウォッチ
Twitter
他の特許を見る
公開番号
2025035939
公報種別
公開特許公報(A)
公開日
2025-03-14
出願番号
2023150548
出願日
2023-08-30
発明の名称
たき火台
出願人
個人
代理人
主分類
F23Q
25/00 20060101AFI20250306BHJP(燃焼装置;燃焼方法)
要約
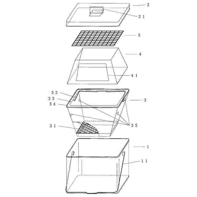
【課題】 燃焼器と収納容器による2重構造を用いて、密閉消火ができるとともに、燃焼時も2重構造を保って安全に使用できるたたき火台を提供する。
【解決手段】 ほぼ正方形の上面が全面開口した箱型の外容器1と同形同サイズの上面開口部を持つ燃焼器3において、燃焼器3を四角錐台の倒立形状とし、外容器1に燃焼器3を収納して外縁部を重合させた上面に上蓋2を被冠装着して2重構造による密閉消火ができる金属製のたき火台とし、燃焼時には燃焼器3の外側斜辺付近に付設したフック35を外容器1の上面開口部の各辺に係止することで燃焼に必要な燃焼器3下面への空気流入路を確保するとともに、外容器1が燃焼器3の底面及び側面をほぼ囲う2重構造に近い状態を保ち、安全性を高めた使用ができるたき火台とする。
【選択図】図1
特許請求の範囲
【請求項1】
ほぼ正方形の上面が全面開口した箱型形状に持ち手を付設した外容器と同形同サイズの上面を持つ燃焼器において、前記燃焼器を台形側面からなる上面下面が開口した四角錐台を倒立させた形状とし、前記外容器に前記燃焼器を収納することにより外縁部を重合させた上面に上蓋を気密に被冠装着して2重構造による密閉消火ができる金属製のたき火台。
続きを表示(約 500 文字)
【請求項2】
燃焼器は、上面開口部に幅の狭い外周平面部とやや高い外縁部、下方内側に目皿部、上方内側に持ち手、上方外側の4つの斜辺付近にフックを付設したもので、収納位置から挙上回旋して4カ所の前記フックを外容器上面開口部の各辺に係止することで、燃焼に必要な燃焼器下面への空気流入路を確保するとともに、前記外容器が前記燃焼器の底面及び側面をほぼ囲うことで安全性を高めた使用ができる請求項1に記載のたき火台。
【請求項3】
防風五徳は、台形側面からなる上面下面が開口した四角錐台形状で側面の1つにほぼ矩形のたき口を設けており、下面を燃焼器上面の外周平面部に合わせて載置することで、たき火の防風とともに燃焼室の高さと容量を確保できるもので、収納時には倒置して外容器と燃焼器の間隙に入れることができる請求項1又は請求項2に記載のたき火台。
【請求項4】
焼き網は、ほぼ正方形で燃焼器内の上部に収納できるもので、炭火調理等での使用に加え、防風五徳使用の際は前記防風五徳の上に載置して調理器具を安定して置くことができる請求項1ないし請求項3のいずれかに記載のたき火台。
発明の詳細な説明
【技術分野】
【0001】
本発明は、たき火台に関するものである。
続きを表示(約 1,400 文字)
【背景技術】
【0002】
たき火台の片付けでは、通常、燃えている燃料を直接取り出して水をかけるなど、危険性はあるが短時間で鎮火できる消火作業を行い、濡れた燃え残り燃料は廃棄することが多く、再利用を想定した密閉消火を行うことは少ない。
【0003】
たき火台での密閉消火は、気密な構造体が必要で鎮火にも時間を要するが、密閉作業自体は短時間であり、燃焼物は取り出すことなく消火でき、再利用しやすく廃棄物も減るなどメリットも大きい。特許文献1には、筒状の蓋体を燃焼部に被せて密閉消火でき、下部のフックで蓋体を燃焼部に固定して持ち運べる2重構造のたき火台が開示されている。
【0004】
また、特許文献2には、たき火台ではないが2重構造を持ち、上面の蓋で密閉消火する炭火おこしセットにおいて2重構造をなす2つの容器体大きさ形状を近づけ、収納効率を高めたものが開示されている。特許文献3には、燃焼器側面下部の開閉できる空気穴と上面開口部を塞ぐ蓋により、燃焼器単体で燃焼と密閉消火ができるたき火台が開示されている。
【先行技術文献】
【特許文献】
【0005】
特開平09-094166号公開
特開2013-242052号公開
実用新案登録第3207429号公開
【発明の概要】
【発明が解決しようとする課題】
【0006】
密閉消火を2重構造ではなく燃焼器単体で行う場合は、燃焼器の上部や下部にある開口部のそれぞれの形状に合わせた気密な開閉構造が求められるとともに、高温の燃焼器を露出させたままの使用や片付けになる。
【0007】
燃焼器と収納容器による2重構造で密閉消火を行う場合は、密閉の仕組みを収納容器に限定して安定した構造を設定できるともに、高温の燃焼器を露出させないことで安全性も増すので、燃焼時も燃焼器の単体使用ではなく収納容器が燃焼器の底面や側面を囲う2重構造で使用したいが、燃焼器と収納容器のサイズを近づけて燃焼器の容量確保や収納容器のコンパクト化を図ると、燃焼器と収納容器の間に空気の流入路を設定しにくくなり、燃焼に必要な燃焼器下部への空気供給が困難になる。
【0008】
そこで本発明は、サイズの近い燃焼器と収納容器において、収納容器を外容器と上蓋で構成して高温の燃焼器が露出しない2重構造による密閉消火ができるとともに、燃焼時も2重構造に近い状態を保ちながら燃焼に必要な空気供給ができる仕組みを設けることにより、燃焼部を露出させずに使用できるたたき火台を提案する。
【課題を解決するための手段】
【0009】
本発明に係る金属製のたき火台は、ほぼ正方形の上面が全面開口した箱型形状に持ち手を付設した外容器と同形同サイズの上面を持つ燃焼器において、前記燃焼器を台形側面からなる上面下面が開口した四角錐台を倒立させた形状とし、前記外容器に前記燃焼器を収納することにより外縁部を重合させた上面に上蓋を被冠装着して2重構造による密閉消火ができることを特徴とするものである。
【0010】
而して前記外容器の持ち手は、外容器の上部で上蓋装着に支障がない高さに付設することで安定した吊り下げができ、密閉の仕組みにも負荷がかからず、内容物の逸脱を心配することなく持ち運ぶことができるものである。
(【0011】以降は省略されています)
この特許をJ-PlatPat(特許庁公式サイト)で参照する
関連特許
個人
燃焼炉の操業方法
1か月前
個人
煙突煤払い掃除機
2か月前
個人
ウッドガスストーブ
2日前
個人
形見の製造方法
8日前
コーキ株式会社
煙突
23日前
株式会社豊田自動織機
耐熱部材
22日前
株式会社パロマ
燃焼装置
2か月前
株式会社フクハラ
充填物処理方法
3か月前
東京パイプ株式会社
着火器具
2か月前
株式会社タクマ
付着物除去システム
3か月前
株式会社アドバンテック
燃焼装置
14日前
三浦工業株式会社
水素燃焼ボイラ
15日前
山形化成工業株式会社
手持ち式着火用具
1か月前
株式会社アドバンテック
燃焼装置
14日前
株式会社アドバンテック
燃焼装置
14日前
三菱重工業株式会社
清掃装置
1日前
大陽日酸株式会社
燃焼バーナ
1か月前
株式会社日本サーモエナー
ガスバーナ
2か月前
個人
可燃性ガス燃焼装置
3か月前
トヨタ自動車株式会社
燃焼ノズル
2か月前
中外炉工業株式会社
リジェネバーナ装置
2か月前
株式会社パロマ
給湯器
3か月前
株式会社パロマ
給湯器
3か月前
株式会社日本サーモエナー
ボイラシステム
3か月前
株式会社ノーリツ
温水装置
3か月前
大阪瓦斯株式会社
燃焼制御システム
今日
三浦工業株式会社
ボイラ、ボイラの制御方法
3か月前
新富士バーナー株式会社
バーナ
今日
株式会社クボタ
溶融炉及びその運転方法
2か月前
中外炉工業株式会社
蓄熱ユニット及び蓄熱式燃焼設備
1か月前
川崎重工業株式会社
燃料供給設備
2か月前
株式会社荏原製作所
排ガス処理装置
3か月前
株式会社ノーリツ
予混合装置およびこれを備えた燃焼装置
1か月前
三浦工業株式会社
バーナ及びアンモニア混焼ボイラ
3か月前
ダイヤゼブラ電機株式会社
燃焼装置
4日前
株式会社エスイー
火力発電方法
1か月前
続きを見る
他の特許を見る