TOP
|
特許
|
意匠
|
商標
特許ウォッチ
Twitter
他の特許を見る
10個以上の画像は省略されています。
公開番号
2025038923
公報種別
公開特許公報(A)
公開日
2025-03-21
出願番号
2023145048
出願日
2023-09-07
発明の名称
遊技機
出願人
株式会社三共
代理人
主分類
A63F
7/02 20060101AFI20250312BHJP(スポーツ;ゲーム;娯楽)
要約
【課題】始動領域に遊技媒体が進入したときの演出に関して改良した遊技機を提供すること。
【解決手段】遊技の進行、特に可変表示および保留記憶に関する制御を担う遊技制御手段と、遊技制御手段からの指令に応じて演出に関する制御を行う演出制御手段と、液晶表示装置の制御を行う表示制御手段と、を備え、遊技制御手段からの指令に対応した当該可変表示に対応する特定表示および保留記憶に対応する保留表示を行うことを可能とした。
【選択図】図10-1
特許請求の範囲
【請求項1】
可変表示を行い、遊技者にとって有利な有利状態に制御可能な遊技機であって、
遊技制御手段と、
演出実行手段と、
保留記憶手段と、を備え、
前記保留記憶手段は、所定数を上限として可変表示に関する情報を保留記憶として記憶することが可能であり、
前記遊技制御手段は、可変表示が終了したときに、次の可変表示に対応する保留記憶がある場合に次の可変表示を実行可能であり、
前記演出実行手段は、
保留記憶が記憶されたときに、開始態様と、完了態様と、該完了態様の1つ前の態様である完了前態様を含む複数の途中態様と、を段階的に変化させて保留表示を表示可能であり、
可変表示中に既に記憶されている保留記憶に対応する保留表示を次の可変表示が開始されるタイミングに基づく保留シフト開始タイミングから特定期間かけて表示されていた位置から次の可変表示に対応する位置に移動させることが可能であり、
前記所定数未満のN数の保留記憶が記憶されている状況における可変表示である保留記憶数N時可変表示の実行中において、
次の可変表示が開始されるまでの期間が所定期間よりも長いときに、新たな保留記憶が記憶された場合は、N+1数目に対応する保留表示位置に前記保留表示を前記開始態様で開始し該開始態様から前記複数の途中態様に段階的に変化させた後に前記完了態様に変化させる変化、を該所定期間かけて実行して該保留表示を表示し、
次の可変表示が開始されるまでの期間が前記所定期間よりも短い期間であって、次の可変表示が開始される直前の期間でないときに、新たな保留記憶が記憶された場合は、N+1数目に対応する保留表示位置に前記保留表示を前記開始態様で開始し、該開始態様から前記完了前態様とは異なる途中態様まで変化させ、該完了前態様とは異なる途中態様となっている状況で次の可変表示が開始されるタイミングとなることで、該タイミングに基づいて前記完了態様に変化させて該保留表示を表示し、
次の可変表示が開始されるまでの期間が前記所定期間よりも短い期間であって、次の可変表示が開始される直前の期間であるときに、新たな保留記憶が記憶された場合は、N+1数目に対応する保留表示位置に前記保留表示を前記開始態様で開始し、該開始態様となっている状況で次の可変表示が開始されるタイミングとなることで、該タイミングに基づいて前記完了態様に変化させて該保留表示を表示し、
前記保留記憶数N時可変表示が終了し、次の可変表示が開始された直後に新たな保留記憶が記憶された場合は、N数目に対応する保留表示位置に前記保留表示を前記開始態様で開始し該開始態様から前記複数の途中態様に段階的に変化させた後に前記完了態様に変化させる変化、を前記所定期間かけて実行して該保留表示を表示し、
さらに、
有利状態に制御可能であり、
遊技に用いられる遊技価値と付与される遊技価値との差分に関するカウンタ値を算出可能であり、
カウンタ値が作動値になる場合、遊技の進行を制限し、
カウンタ値が事前報知値となる場合、事前報知を行い、
カウンタ値が作動値となり、遊技の進行を制限する場合、作動報知を行い、
エラーが発生する場合、エラー報知を行い、
発光手段に関する制御を行う発光制御手段を備え、
発光制御手段は、
カウンタ値が作動値となり、遊技の進行を制限する場合、輝度が変化しない発光態様となるように発光手段を制御し、
エラーが発生する場合、輝度が変化する発光態様となるように発光手段を制御する、遊技機。
発明の詳細な説明
【技術分野】
【0001】
本発明は、可変表示を行い、遊技者にとって有利な有利状態に制御可能な遊技機に関する。
続きを表示(約 7,000 文字)
【背景技術】
【0002】
従来の遊技機には、可変表示を実行可能であるとともに遊技者にとって有利な大当り遊技状態(有利状態)に制御可能であって、新たな始動入賞の発生によって可変表示に関する情報を含む保留記憶が発生すると、該保留記憶にもとづく保留表示を段階的に表示していく出現アニメーションの表示を実行可能なものがある(例えば、特許文献1参照)。また、遊技機として、当落に関する確率の偏りによって過度な出玉が遊技者に付与されてしまうことによる所謂「のめり込み」等の問題を防ぐために、出玉が一定量に達した場合に、遊技の継続を不能とする打ち止め機能を備えたものがある(例えば、特許文献2参照)。
【先行技術文献】
【特許文献】
【0003】
特開2016-97173号公報
特開2023-13195号公報
【発明の概要】
【発明が解決しようとする課題】
【0004】
特許文献1および特許文献2の機能や構成を有する遊技機において、商品性を高める余地があった。
【0005】
この発明は、上記の実状に鑑みてなされたものであり、商品性を高めた遊技機を提供することを目的とする。
【課題を解決するための手段】
【0006】
本発明の請求項1に記載の遊技機は、
可変表示を行い、遊技者にとって有利な有利状態に制御可能な遊技機であって、
遊技制御手段と、
演出実行手段と、
保留記憶手段と、を備え、
前記保留記憶手段は、所定数を上限として可変表示に関する情報を保留記憶として記憶することが可能であり、
前記遊技制御手段は、可変表示が終了したときに、次の可変表示に対応する保留記憶がある場合に次の可変表示を実行可能であり、
前記演出実行手段は、
保留記憶が記憶されたときに、開始態様と、完了態様と、該完了態様の1つ前の態様である完了前態様を含む複数の途中態様と、を段階的に変化させて保留表示を表示可能であり、
可変表示中に既に記憶されている保留記憶に対応する保留表示を次の可変表示が開始されるタイミングに基づく保留シフト開始タイミングから特定期間かけて表示されていた位置から次の可変表示に対応する位置に移動させることが可能であり、
前記所定数未満のN数の保留記憶が記憶されている状況における可変表示である保留記憶数N時可変表示の実行中において、
次の可変表示が開始されるまでの期間が所定期間よりも長いときに、新たな保留記憶が記憶された場合は、N+1数目に対応する保留表示位置に前記保留表示を前記開始態様で開始し該開始態様から前記複数の途中態様に段階的に変化させた後に前記完了態様に変化させる変化、を該所定期間かけて実行して該保留表示を表示し、
次の可変表示が開始されるまでの期間が前記所定期間よりも短い期間であって、次の可変表示が開始される直前の期間でないときに、新たな保留記憶が記憶された場合は、N+1数目に対応する保留表示位置に前記保留表示を前記開始態様で開始し、該開始態様から前記完了前態様とは異なる途中態様まで変化させ、該完了前態様とは異なる途中態様となっている状況で次の可変表示が開始されるタイミングとなることで、該タイミングに基づいて前記完了態様に変化させて該保留表示を表示し、
次の可変表示が開始されるまでの期間が前記所定期間よりも短い期間であって、次の可変表示が開始される直前の期間であるときに、新たな保留記憶が記憶された場合は、N+1数目に対応する保留表示位置に前記保留表示を前記開始態様で開始し、該開始態様となっている状況で次の可変表示が開始されるタイミングとなることで、該タイミングに基づいて前記完了態様に変化させて該保留表示を表示し、
前記保留記憶数N時可変表示が終了し、次の可変表示が開始された直後に新たな保留記憶が記憶された場合は、N数目に対応する保留表示位置に前記保留表示を前記開始態様で開始し該開始態様から前記複数の途中態様に段階的に変化させた後に前記完了態様に変化させる変化、を前記所定期間かけて実行して該保留表示を表示し、
さらに、
有利状態に制御可能であり、
遊技に用いられる遊技価値と付与される遊技価値との差分に関するカウンタ値を算出可能であり、
カウンタ値が作動値になる場合、遊技の進行を制限し、
カウンタ値が事前報知値となる場合、事前報知を行い、
カウンタ値が作動値となり、遊技の進行を制限する場合、作動報知を行い、
エラーが発生する場合、エラー報知を行い、
発光手段に関する制御を行う発光制御手段を備え、
発光制御手段は、
カウンタ値が作動値となり、遊技の進行を制限する場合、輝度が変化しない発光態様となるように発光手段を制御し、
エラーが発生する場合、輝度が変化する発光態様となるように発光手段を制御する。
この特徴によれば、上記実情を鑑み、商品性を高めた遊技機を提供することができる。
【0007】
尚、本発明は、本発明の請求項に記載された発明特定事項のみを有するものであってもよいし、本発明の請求項に記載された発明特定事項とともに該発明特定事項以外の構成を有するものであってもよい。
【図面の簡単な説明】
【0008】
パチンコ遊技機の正面図である。
パチンコ遊技機に搭載された各種の制御基板などを示す構成図である。
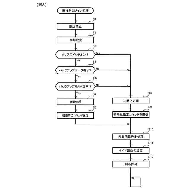
遊技制御メイン処理の一例を示すフローチャートである。
遊技制御用タイマ割込み処理の一例を示すフローチャートである。
特別図柄プロセス処理の一例を示すフローチャートである。
演出制御メイン処理の一例を示すフローチャートである。
演出制御プロセス処理の一例を示すフローチャートである。
特徴部02TMにおけるパチンコ遊技機1の正面図である。
各乱数を示す説明図である。
(A)は、表示結果判定テーブルを示す説明図であり、(B)は、大当り種別判定テーブルを示す説明図である。
大当り種別詳細情報テーブルを示す説明図である。
通常状態用の変動パターン判定テーブルを示す説明図である。
時短状態用の変動パターン判定テーブルを示す説明図である。
ST状態用の変動パターン判定テーブルを示す説明図である。
(A)は、操作方法指示演出一覧テーブルを示す説明図であり、(B)は、エラー報知演出一覧テーブルを示す説明図である。
異常操作方法指示演出決定処理の一例を示すフローチャートである。
(A)は、異常操作方法指示に関連する条件テーブルを示す説明図であり、(B)は、エラー報知に関連する条件テーブルを示す説明図である。
大当り開始時演出終了判定処理の一例を示すフローチャートである。
遊技フローの具体例を示す説明図である。
(A)は、レイヤ構造を模式的に示した概念図であり、(B)は、レイヤ構造の説明図である。
通常モードの異常左打ち指示に関する各演出の具体例を示す説明図である。
通常モードの異常左打ち指示(LV1)に関する各演出の実行タイミングを示すタイムチャートである。
通常モードの異常左打ち指示(LV2)に関する各演出の実行タイミングを示すタイムチャートである。
通常モードのエラー報知に関する各演出の具体例を示す説明図である。
通常モードのエラー報知に関する各演出の実行タイミングを示すタイムチャートである。
通常モードの異常左打ち指示と右打ちモードの大当りFF演出に関する各演出の具体例を示す説明図である。
通常モードの異常左打ち指示と右打ちモードの大当りFF演出に関する各演出の実行タイミングを示すタイムチャートである。
通常モードのエラー報知と右打ちモードの大当りFF演出に関する各演出の具体例を示す説明図である。
通常モードのエラー報知と右打ちモードの大当りFF演出に関する各演出の実行タイミングを示すタイムチャートである。
通常モードの異常左打ち指示とエラー報知と、右打ちモードの大当りFF演出に関する各演出の具体例を示す説明図である。
通常モードの異常左対指示とエラー報知と、右打ちモードの大当りFF演出に関する各演出の実行タイミングを示すタイムチャートである。
遊技機が設置されている遊技場の具体例を示す説明図である。
右打ちモードの異常右打ち指示に関する各演出の具体例を示す説明図である。
右打ちモードの異常右打ち指示に関する各演出の実行タイミングを示すタイムチャートである。
右打ちモードの大当りFF期間に異常左打ちを検出した場合に関する各演出の具体例を示す説明図である。
右打ちモードの大当りFF期間に異常左打ちを検出した場合に関する各演出の実行タイミングを示すタイムチャートである。
右打ちモードの大当りRD期間の異常右打ち指示に関する各演出の具体例を示す説明図である。
右打ちモードの大当りRD期間の異常右打ち指示に関する各演出の実行タイミングを示すタイムチャートである。
音量調整演出決定処理の一例を示すフローチャートである。
音量調整に関する各演出の具体例を示す説明図である。
音量調整に関する各演出の実行タイミングを示すタイムチャートである。
光量調整演出決定処理の一例を示すフローチャートである。
光量調整に関する各演出の具体例を示す説明図である。
光量調整に関する各演出の実行タイミングを示すタイムチャートである。
通常モードの音量調整と右打ちモードの大当りFF演出に関する各演出の具体例を示す説明図である。
通常モードの音量調整と右打ちモードの大当りFF演出に関する各演出の実行タイミングを示すタイムチャートである。
通常モードの光量調整と右打ちモードの大当りFF演出に関する各演出の具体例を示す説明図である。
通常モードの光量調整と右打ちモードの大当りFF演出に関する各演出の実行タイミングを示すタイムチャートである。
オートボタン設定演出決定処理の一例を示すフローチャートである。
オートボタンOFFモードに関する各演出の具体例を示す説明図である。
オートボタンONモードに関する各演出の具体例を示す説明図である。
通常モードのオートボタンOFF設定演出と右打ちモードの大当りFF演出に関する各演出の具体例を示す説明図である。
通常モードのオートボタンOFF設定演出と右打ちモードの大当りFF演出に関する各演出の実行タイミングを示すタイムチャートである。
通常モードのオートボタンON設定演出と右打ちモードの大当りFF演出に関する各演出の具体例を示す説明図である。
通常モードのオートボタンONO設定演出と右打ちモードの大当りFF演出に関する各演出の実行タイミングを示すタイムチャートである。
音量調整表示、光量調整表示、オートボタン設定表示が同時に表示される場合に関する各演出の具体例を示す説明図である。
音量調整表示、光量調整表示、オートボタン設定表示が同時に表示される場合に関する各演出の具体例を示す説明図である。
音量調整表示、光量調整表示、オートボタン設定表示が同時に表示される場合に関する各演出の実行タイミングを示すタイムチャートである。
大当りA及び大当りBに対応する大当りFF演出(第1部)に関する各演出の具体例を示す説明図である。
大当りCに対応する大当りFF演出(第1部)に関する各演出の具体例を示す説明図である。
(A)は、大当りA及び大当りBに対応する大当りFF演出に関する各演出の具体例を示す説明図であり、(B)は、大当りCに対応する大当りFF演出に関する各演出の具体例を示す説明図である。
大当りA及び大当りBに対応する大当りFF演出に関する各演出の実行タイミングを示すタイムチャートである。
大当りCに対応する大当りFF演出に関する各演出の実行タイミングを示すタイムチャートである。
(A)は、右打ちモードの大当りA及び大当りBに対応した大当りFF演出中のエラー報知に関する各演出の具体例を示す説明図であり、(B)は、右打ちモードの大当りCに対応した大当りFF演出中のエラー報知に関する各演出の具体例を示す説明図である。
右打ちモードの大当りA及び大当りBに対応した大当りFF演出中のエラー報知に関する各演出の実行タイミングを示すタイムチャートである。
右打ちモードの大当りCに対応した大当りFF演出中のエラー報知に関する各演出の実行タイミングを示すタイムチャートである。
(A)は、大当りAに対応した大当りED演出に関する各演出の具体例を示す説明図であり、(B)は、大当りBに対応した大当りED演出に関する各演出の具体例を示す説明図である。
大当りAに対応した大当りED演出に関する各演出の実行タイミングを示すタイムチャートである。
大当りBに対応した大当りED演出に関する各演出の実行タイミングを示すタイムチャートである。
大当りCに対応した大当りED演出に関する各演出の具体例を示す説明図である。
大当りCに対応した大当りED演出に関する各演出の実行タイミングを示すタイムチャートである。
右打ちモードの大当りED演出中のエラー報知に関する各演出の具体例を示す説明図である。
右打ちモードの大当りED演出中のエラー報知に関する各演出の実行タイミングを示すタイムチャートである。
獲得賞球更新演出に関する各演出の具体例を示す説明図である。
獲得賞球更新演出に関する各演出の実行タイミングを示すタイムチャートである。
役物と画像表示装置の正面図である。
(A)役物を備えた遊技機における大当りFF演出(第1部)中のエラー報知に関する各演出の具体例を示す説明図であり、役物を備えた遊技機における大当りFF演出(第2部)中のエラー報知に関する各演出の具体例を示す説明図である。
時短モードに移行した後に通常モードに制御される場合に関する各演出の具体例を示す説明図である。
時短モードに移行した後に通常モードに制御される場合に関する各演出の実行タイミングを示すタイムチャートである。
STモードに移行した後に通常モードに制御される場合に関する各演出の具体例を示す説明図である。
STモードに移行した後に通常モードに制御される場合に関する各演出の実行タイミングを示すタイムチャートである。
通常モードのエラー報知と右打ちモードの大当りFF演出に関する各演出の具体例を示す説明図である。
通常モードの異常左打ち指示とエラー報知と、右打ちモードの大当りFF演出に関する各演出の具体例を示す説明図である。
右打ちモードの大当りRD期間の異常右打ち指示に関する各演出の具体例を示す説明図である。
パチンコ遊技機の正面図である。
パチンコ遊技機に搭載された各種の制御基板などを示す構成図である。
VRAMの内容を示す説明図である
各描画領域の説明図である。
表示優先度の説明図である。
(A)、(B)は、演出制御コマンドを例示する図である。
各乱数を示す説明図である。
表示結果判定テーブルを示す説明図である。
(A)は大当り種別判定テーブルを示す説明図であり、(B)は大当り種別の説明図である。
はずれ変動パターンの説明図である。
大当り変動パターンの説明図である。
変動パターン種別判定テーブルを示す説明図である。
はずれ用変動パターン判定テーブルの説明図である。
はずれ用変動パターン判定テーブルの説明図である。
大当り用変動パターン判定テーブルの説明図である。
遊技制御用データ保持エリアの説明図である。
【発明を実施するための形態】
【0009】
本遊技機の特徴Aを以下に説明する。
【0010】
(基本説明)
まず、パチンコ遊技機1の基本的な構成及び制御(一般的なパチンコ遊技機の構成及び制御でもある。)について説明する。
(【0011】以降は省略されています)
この特許をJ-PlatPat(特許庁公式サイト)で参照する
関連特許
株式会社三共
遊技機
2日前
株式会社三共
遊技機
3日前
株式会社三共
遊技機
3日前
株式会社三共
遊技機
3日前
株式会社三共
遊技機
3日前
株式会社三共
遊技機
3日前
株式会社三共
遊技機
3日前
株式会社三共
遊技機
3日前
株式会社三共
遊技機
3日前
株式会社三共
遊技機
3日前
株式会社三共
遊技機
3日前
株式会社三共
遊技機
3日前
株式会社三共
遊技機
3日前
株式会社三共
遊技機
3日前
株式会社三共
遊技機
3日前
株式会社三共
遊技機
3日前
株式会社三共
遊技機
3日前
株式会社三共
遊技機
3日前
株式会社三共
遊技機
3日前
株式会社三共
遊技機
3日前
株式会社三共
遊技機
3日前
株式会社三共
遊技機
3日前
株式会社三共
遊技機
3日前
株式会社三共
遊技機
3日前
株式会社三共
遊技機
3日前
株式会社三共
遊技機
3日前
株式会社三共
遊技機
3日前
株式会社三共
遊技機
3日前
株式会社三共
遊技機
3日前
株式会社三共
遊技機
2日前
株式会社三共
遊技機
3日前
株式会社三共
遊技機
3日前
株式会社三共
遊技機
3日前
株式会社三共
遊技機
9日前
株式会社三共
遊技機
17日前
株式会社三共
遊技機
17日前
続きを見る
他の特許を見る