TOP
|
特許
|
意匠
|
商標
特許ウォッチ
Twitter
他の特許を見る
10個以上の画像は省略されています。
公開番号
2025067150
公報種別
公開特許公報(A)
公開日
2025-04-24
出願番号
2023176893
出願日
2023-10-12
発明の名称
遊技機
出願人
株式会社三共
代理人
主分類
A63F
7/02 20060101AFI20250417BHJP(スポーツ;ゲーム;娯楽)
要約
【課題】ドア枠または内枠を閉鎖または開錠するときに不具合が生じることを防止することができる遊技機を提供すること。
【解決手段】遊技機は、ドア枠または内枠を閉鎖または開錠するときに、垂れ下がりにより部品同士が干渉しないよう垂れ下がり抑制手段を備える。
【選択図】図13-1
特許請求の範囲
【請求項1】
有利状態に制御可能な遊技機であって、
演出をカスタムする演出カスタム手段を、備え、
前記遊技機は、
ドア枠と、内枠と、外枠と、を含む部品から構成され、
前記ドア枠が鉛直方向へ垂れ下がることを抑制する垂れ下がり抑制手段を更に備え、
前記ドア枠は、
遊技者が鉛直方向に負荷をかけることが可能な所定位置があり、
前記内枠に施錠されている状態である閉鎖状態と、該内枠に施錠されている状態から開錠されたときの状態である第1開錠状態と、該第1開錠状態よりも前記ドア枠が開いている状態である第2開錠状態と、に変化可能であり、
前記ドア枠または前記内枠には、該ドア枠が前記閉鎖状態であるときに、該内枠の内部または該ドア枠の内部に入り込む特定内部進入部品が備えられており、
前記ドア枠は、前記閉鎖状態であるときよりも前記第1開錠状態であるときのほうが、鉛直方向に垂れ下がるものであり、
前記特定内部進入部品は、前記ドア枠が前記閉鎖状態から前記第1開錠状態になったときに、該特定内部進入部品とは異なる前記内枠の部品または該特定内部進入部品とは異なる該ドア枠の部品に接触しない位置に備え付けられており、
前記ドア枠が前記閉鎖状態であり、かつ前記内枠が前記外枠に施錠されている状態であるときに、該内枠の上面よりも該外枠の上面のほうが高い位置にあり、
前記ドア枠の上面は、前記内枠側よりも遊技者側のほうが高く、
さらに、
有利状態に制御可能であり、
遊技に用いられる遊技価値と付与される遊技価値との差分に関するカウンタ値を算出可能であり、
カウンタ値が作動値になる場合、遊技の進行を制限し、
カウンタ値が事前報知値となる場合、事前報知を行い、
始動領域を遊技媒体が通過することにより、特定識別情報の可変表示を行うことが可能であり、
始動領域を遊技媒体が通過することにより、カウンタ値を更新し、
始動領域を遊技媒体が通過することにより、カウンタ値が作動値となる場合、特別識別情報の可変表示が開始される前に、遊技の進行を制限する、遊技機。
発明の詳細な説明
【技術分野】
【0001】
本発明は、有利状態に制御可能な遊技機に関する。
続きを表示(約 6,900 文字)
【背景技術】
【0002】
従来、遊技機として代表されるパチンコ遊技機は、遊技島に設置固定するための外枠と、外枠に対し左側辺を中心として回動可能に支持された内枠と、内枠に対し左側辺を中心として回動可能に支持されたドア枠と、から主に構成され、外枠に対し内枠及びドア枠を開閉したり、内枠に対しドア枠を開閉することが可能とされている。
この種のパチンコ遊技機は、遊技客に対し遊技機をアピールするためにドア枠の前面に装飾が施されているが、近年においては、より大きな立体装飾物を備えた遊技機が増加する傾向にある(例えば、特許文献1参照)。
また、この種の遊技機として、特図入賞した際に特定ランプが赤点灯すれば高期待度であることを遊技者に報知する演出モードを実行可能な遊技機や(例えば、非特許文献1参照)、無駄打ちにより遊技者が不利益を被ることを防止するため、保留記憶が3個または4個記憶されたときに振動を発生させて遊技者に報知する演出モードを実行可能な遊技機がある(例えば、非特許文献2参照)。
また、遊技機として、当落に関する確率の偏りによって過度な出玉が遊技者に付与されてしまうことによる所謂「のめり込み」等の問題を防ぐために、出玉が一定量に達した場合に、遊技の継続を不能とする打ち止め機能を備えたものがある(例えば、特許文献2参照)。
【先行技術文献】
【特許文献】
【0003】
特開2021-115320号公報
特開2023-13195号公報
【非特許文献】
【0004】
"[リゼロ鬼がかり先バレモード徹底解説!]先バレモードについて",[online],2022年11月1日,DMMぱちタウン,[2022年12月15日検索],インターネット<URL:https://p-town.dmm.com/specials/2655#report-index-44420>
"[P牙狼月虹ノ旅人]新しい牙狼を打ってきた「編集部コラム・毛玉3号 13玉目」",[online],2021年6月15日,パチマガスロマガFREE,[2022年12月15日検索],インターネット<URL:https://maga-free.com/column/f75d867be97038599c31509019da732bfe7d6ecd.php>
【発明の概要】
【発明が解決しようとする課題】
【0005】
特許文献1および特許文献2の機能や構成を有する遊技機において、商品性を高める余地があった。
【0006】
この発明は、上記の実状に鑑みてなされたものであり、商品性を高めた遊技機を提供することを目的とする。
【課題を解決するための手段】
【0007】
本発明の請求項1に記載の遊技機は、
有利状態に制御可能な遊技機であって、
演出をカスタムする演出カスタム手段を、備え、
前記遊技機は、
ドア枠と、内枠と、外枠と、を含む部品から構成され、
前記ドア枠が鉛直方向へ垂れ下がることを抑制する垂れ下がり抑制手段を更に備え、
前記ドア枠は、
遊技者が鉛直方向に負荷をかけることが可能な所定位置があり、
前記内枠に施錠されている状態である閉鎖状態と、該内枠に施錠されている状態から開錠されたときの状態である第1開錠状態と、該第1開錠状態よりも前記ドア枠が開いている状態である第2開錠状態と、に変化可能であり、
前記ドア枠または前記内枠には、該ドア枠が前記閉鎖状態であるときに、該内枠の内部または該ドア枠の内部に入り込む特定内部進入部品が備えられており、
前記ドア枠は、前記閉鎖状態であるときよりも前記第1開錠状態であるときのほうが、鉛直方向に垂れ下がるものであり、
前記特定内部進入部品は、前記ドア枠が前記閉鎖状態から前記第1開錠状態になったときに、該特定内部進入部品とは異なる前記内枠の部品または該特定内部進入部品とは異なる該ドア枠の部品に接触しない位置に備え付けられており、
前記ドア枠が前記閉鎖状態であり、かつ前記内枠が前記外枠に施錠されている状態であるときに、該内枠の上面よりも該外枠の上面のほうが高い位置にあり、
前記ドア枠の上面は、前記内枠側よりも遊技者側のほうが高く、
さらに、
有利状態に制御可能であり、
遊技に用いられる遊技価値と付与される遊技価値との差分に関するカウンタ値を算出可能であり、
カウンタ値が作動値になる場合、遊技の進行を制限し、
カウンタ値が事前報知値となる場合、事前報知を行い、
始動領域を遊技媒体が通過することにより、特定識別情報の可変表示を行うことが可能であり、
始動領域を遊技媒体が通過することにより、カウンタ値を更新し、
始動領域を遊技媒体が通過することにより、カウンタ値が作動値となる場合、特別識別情報の可変表示が開始される前に、遊技の進行を制限する。
この特徴によれば、上記実情を鑑み、商品性を高めた遊技機を提供することができる。
【0008】
尚、本発明は、本発明の請求項に記載された発明特定事項のみを有するものであってもよいし、本発明の請求項に記載された発明特定事項とともに該発明特定事項以外の構成を有するものであってもよい。
【図面の簡単な説明】
【0009】
パチンコ遊技機の正面図である。
パチンコ遊技機に搭載された各種の制御基板などを示す構成図である。
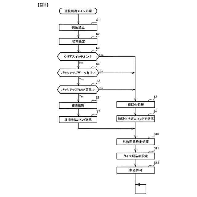
遊技制御メイン処理の一例を示すフローチャートである。
遊技制御用タイマ割込み処理の一例を示すフローチャートである。
特別図柄プロセス処理の一例を示すフローチャートである。
演出制御メイン処理の一例を示すフローチャートである。
演出制御プロセス処理の一例を示すフローチャートである。
特徴部02TMにおけるパチンコ遊技機1の正面図である。
各乱数を示す説明図である。
(A)は、表示結果判定テーブルを示す説明図であり、(B)は、大当り種別判定テーブルを示す説明図である。
大当り種別詳細情報テーブルを示す説明図である。
通常状態用の変動パターン判定テーブルを示す説明図である。
時短状態用の変動パターン判定テーブルを示す説明図である。
ST状態用の変動パターン判定テーブルを示す説明図である。
(A)は、操作方法指示演出一覧テーブルを示す説明図であり、(B)は、エラー報知演出一覧テーブルを示す説明図である。
異常操作方法指示演出決定処理の一例を示すフローチャートである。
(A)は、異常操作方法指示に関連する条件テーブルを示す説明図であり、(B)は、エラー報知に関連する条件テーブルを示す説明図である。
大当り開始時演出終了判定処理の一例を示すフローチャートである。
遊技フローの具体例を示す説明図である。
(A)は、レイヤ構造を模式的に示した概念図であり、(B)は、レイヤ構造の説明図である。
通常モードの異常左打ち指示に関する各演出の具体例を示す説明図である。
通常モードの異常左打ち指示(LV1)に関する各演出の実行タイミングを示すタイムチャートである。
通常モードの異常左打ち指示(LV2)に関する各演出の実行タイミングを示すタイムチャートである。
通常モードのエラー報知に関する各演出の具体例を示す説明図である。
通常モードのエラー報知に関する各演出の実行タイミングを示すタイムチャートである。
通常モードの異常左打ち指示と右打ちモードの大当りFF演出に関する各演出の具体例を示す説明図である。
通常モードの異常左打ち指示と右打ちモードの大当りFF演出に関する各演出の実行タイミングを示すタイムチャートである。
通常モードのエラー報知と右打ちモードの大当りFF演出に関する各演出の具体例を示す説明図である。
通常モードのエラー報知と右打ちモードの大当りFF演出に関する各演出の実行タイミングを示すタイムチャートである。
通常モードの異常左打ち指示とエラー報知と、右打ちモードの大当りFF演出に関する各演出の具体例を示す説明図である。
通常モードの異常左対指示とエラー報知と、右打ちモードの大当りFF演出に関する各演出の実行タイミングを示すタイムチャートである。
遊技機が設置されている遊技場の具体例を示す説明図である。
右打ちモードの異常右打ち指示に関する各演出の具体例を示す説明図である。
右打ちモードの異常右打ち指示に関する各演出の実行タイミングを示すタイムチャートである。
右打ちモードの大当りFF期間に異常左打ちを検出した場合に関する各演出の具体例を示す説明図である。
右打ちモードの大当りFF期間に異常左打ちを検出した場合に関する各演出の実行タイミングを示すタイムチャートである。
右打ちモードの大当りRD期間の異常右打ち指示に関する各演出の具体例を示す説明図である。
右打ちモードの大当りRD期間の異常右打ち指示に関する各演出の実行タイミングを示すタイムチャートである。
音量調整演出決定処理の一例を示すフローチャートである。
音量調整に関する各演出の具体例を示す説明図である。
音量調整に関する各演出の実行タイミングを示すタイムチャートである。
光量調整演出決定処理の一例を示すフローチャートである。
光量調整に関する各演出の具体例を示す説明図である。
光量調整に関する各演出の実行タイミングを示すタイムチャートである。
通常モードの音量調整と右打ちモードの大当りFF演出に関する各演出の具体例を示す説明図である。
通常モードの音量調整と右打ちモードの大当りFF演出に関する各演出の実行タイミングを示すタイムチャートである。
通常モードの光量調整と右打ちモードの大当りFF演出に関する各演出の具体例を示す説明図である。
通常モードの光量調整と右打ちモードの大当りFF演出に関する各演出の実行タイミングを示すタイムチャートである。
オートボタン設定演出決定処理の一例を示すフローチャートである。
オートボタンOFFモードに関する各演出の具体例を示す説明図である。
オートボタンONモードに関する各演出の具体例を示す説明図である。
通常モードのオートボタンOFF設定演出と右打ちモードの大当りFF演出に関する各演出の具体例を示す説明図である。
通常モードのオートボタンOFF設定演出と右打ちモードの大当りFF演出に関する各演出の実行タイミングを示すタイムチャートである。
通常モードのオートボタンON設定演出と右打ちモードの大当りFF演出に関する各演出の具体例を示す説明図である。
通常モードのオートボタンONO設定演出と右打ちモードの大当りFF演出に関する各演出の実行タイミングを示すタイムチャートである。
音量調整表示、光量調整表示、オートボタン設定表示が同時に表示される場合に関する各演出の具体例を示す説明図である。
音量調整表示、光量調整表示、オートボタン設定表示が同時に表示される場合に関する各演出の具体例を示す説明図である。
音量調整表示、光量調整表示、オートボタン設定表示が同時に表示される場合に関する各演出の実行タイミングを示すタイムチャートである。
大当りA及び大当りBに対応する大当りFF演出(第1部)に関する各演出の具体例を示す説明図である。
大当りCに対応する大当りFF演出(第1部)に関する各演出の具体例を示す説明図である。
(A)は、大当りA及び大当りBに対応する大当りFF演出に関する各演出の具体例を示す説明図であり、(B)は、大当りCに対応する大当りFF演出に関する各演出の具体例を示す説明図である。
大当りA及び大当りBに対応する大当りFF演出に関する各演出の実行タイミングを示すタイムチャートである。
大当りCに対応する大当りFF演出に関する各演出の実行タイミングを示すタイムチャートである。
(A)は、右打ちモードの大当りA及び大当りBに対応した大当りFF演出中のエラー報知に関する各演出の具体例を示す説明図であり、(B)は、右打ちモードの大当りCに対応した大当りFF演出中のエラー報知に関する各演出の具体例を示す説明図である。
右打ちモードの大当りA及び大当りBに対応した大当りFF演出中のエラー報知に関する各演出の実行タイミングを示すタイムチャートである。
右打ちモードの大当りCに対応した大当りFF演出中のエラー報知に関する各演出の実行タイミングを示すタイムチャートである。
(A)は、大当りAに対応した大当りED演出に関する各演出の具体例を示す説明図であり、(B)は、大当りBに対応した大当りED演出に関する各演出の具体例を示す説明図である。
大当りAに対応した大当りED演出に関する各演出の実行タイミングを示すタイムチャートである。
大当りBに対応した大当りED演出に関する各演出の実行タイミングを示すタイムチャートである。
大当りCに対応した大当りED演出に関する各演出の具体例を示す説明図である。
大当りCに対応した大当りED演出に関する各演出の実行タイミングを示すタイムチャートである。
右打ちモードの大当りED演出中のエラー報知に関する各演出の具体例を示す説明図である。
右打ちモードの大当りED演出中のエラー報知に関する各演出の実行タイミングを示すタイムチャートである。
獲得賞球更新演出に関する各演出の具体例を示す説明図である。
獲得賞球更新演出に関する各演出の実行タイミングを示すタイムチャートである。
役物と画像表示装置の正面図である。
(A)役物を備えた遊技機における大当りFF演出(第1部)中のエラー報知に関する各演出の具体例を示す説明図であり、役物を備えた遊技機における大当りFF演出(第2部)中のエラー報知に関する各演出の具体例を示す説明図である。
時短モードに移行した後に通常モードに制御される場合に関する各演出の具体例を示す説明図である。
時短モードに移行した後に通常モードに制御される場合に関する各演出の実行タイミングを示すタイムチャートである。
STモードに移行した後に通常モードに制御される場合に関する各演出の具体例を示す説明図である。
STモードに移行した後に通常モードに制御される場合に関する各演出の実行タイミングを示すタイムチャートである。
通常モードのエラー報知と右打ちモードの大当りFF演出に関する各演出の具体例を示す説明図である。
通常モードの異常左打ち指示とエラー報知と、右打ちモードの大当りFF演出に関する各演出の具体例を示す説明図である。
右打ちモードの大当りRD期間の異常右打ち指示に関する各演出の具体例を示す説明図である。
パチンコ遊技機の正面図である。
パチンコ遊技機に搭載された各種の制御基板などを示す構成図である。
VRAMの内容を示す説明図である
各描画領域の説明図である。
表示優先度の説明図である。
(A)、(B)は、演出制御コマンドを例示する図である。
各乱数を示す説明図である。
表示結果判定テーブルを示す説明図である。
(A)は大当り種別判定テーブルを示す説明図であり、(B)は大当り種別の説明図である。
はずれ変動パターンの説明図である。
大当り変動パターンの説明図である。
変動パターン種別判定テーブルを示す説明図である。
はずれ用変動パターン判定テーブルの説明図である。
はずれ用変動パターン判定テーブルの説明図である。
大当り用変動パターン判定テーブルの説明図である。
遊技制御用データ保持エリアの説明図である。
【発明を実施するための形態】
【0010】
本遊技機の特徴Aを以下に説明する。
(【0011】以降は省略されています)
この特許をJ-PlatPat(特許庁公式サイト)で参照する
関連特許
株式会社三共
遊技機
1日前
株式会社三共
遊技機
3か月前
株式会社三共
遊技機
3か月前
株式会社三共
遊技機
3か月前
株式会社三共
遊技機
3か月前
株式会社三共
遊技機
3か月前
株式会社三共
遊技機
3か月前
株式会社三共
遊技機
3か月前
株式会社三共
遊技機
3か月前
株式会社三共
遊技機
3か月前
株式会社三共
遊技機
3か月前
株式会社三共
遊技機
3か月前
株式会社三共
遊技機
3か月前
株式会社三共
遊技機
3か月前
株式会社三共
遊技機
3か月前
株式会社三共
遊技機
3か月前
株式会社三共
遊技機
3か月前
株式会社三共
遊技機
3か月前
株式会社三共
遊技機
3か月前
株式会社三共
遊技機
3か月前
株式会社三共
遊技機
3か月前
株式会社三共
遊技機
3か月前
株式会社三共
遊技機
3か月前
株式会社三共
遊技機
3か月前
株式会社三共
遊技機
3か月前
株式会社三共
遊技機
3か月前
株式会社三共
遊技機
3か月前
株式会社三共
遊技機
3か月前
株式会社三共
遊技機
3か月前
株式会社三共
遊技機
3か月前
株式会社三共
遊技機
3か月前
株式会社三共
遊技機
3か月前
株式会社三共
遊技機
3か月前
株式会社三共
遊技機
3か月前
株式会社三共
遊技機
3か月前
株式会社三共
遊技機
3か月前
続きを見る
他の特許を見る