TOP
|
特許
|
意匠
|
商標
特許ウォッチ
Twitter
他の特許を見る
10個以上の画像は省略されています。
公開番号
2025072725
公報種別
公開特許公報(A)
公開日
2025-05-12
出願番号
2023182987
出願日
2023-10-25
発明の名称
成膜方法及び成膜装置
出願人
東京エレクトロン株式会社
代理人
個人
,
個人
主分類
C23C
16/34 20060101AFI20250501BHJP(金属質材料への被覆;金属質材料による材料への被覆;化学的表面処理;金属質材料の拡散処理;真空蒸着,スパッタリング,イオン注入法,または化学蒸着による被覆一般;金属質材料の防食または鉱皮の抑制一般)
要約
【課題】窒化膜におけるハロゲン元素の含有量を低減する、技術を提供する。
【解決手段】成膜方法は、下記(A)を有する。(A)窒化される元素及びハロゲン元素を含む原料ガスと窒化ガスの反応生成物が処理容器の内部の部材に堆積した状態で、前記反応生成物の少なくとも一部を分解し、基板の上に堆積させることで、前記原料ガスを前記基板に供給することなく前記基板の上に第1窒化膜を形成することを有する。前記反応生成物の少なくとも一部を分解することは、前記処理容器の内部にプラズマを生成し、前記プラズマを前記反応生成物に衝突させることを含む。
【選択図】図5
特許請求の範囲
【請求項1】
(A)窒化される元素及びハロゲン元素を含む原料ガスと窒化ガスの反応生成物が処理容器の内部の部材に堆積した状態で、前記反応生成物の少なくとも一部を分解し、基板の上に堆積させることで、前記原料ガスを前記基板に供給することなく前記基板の上に第1窒化膜を形成することを有し、
前記反応生成物の少なくとも一部を分解することは、前記処理容器の内部にプラズマを生成し、前記プラズマを前記反応生成物に衝突させることを含む、成膜方法。
続きを表示(約 1,200 文字)
【請求項2】
(B)前記原料ガスと窒化ガスを前記基板に供給することで第2窒化膜を前記基板の上に形成することを有し、
前記(A)は、前記(B)の前に行われる、請求項1に記載の成膜方法。
【請求項3】
(B)前記原料ガスと窒化ガスを前記基板に供給することで第2窒化膜を前記基板の上に形成することを有し、
前記(A)は、前記(B)の後に行われる、請求項1に記載の成膜方法。
【請求項4】
前記(A)と前記(B)を交互に複数回繰り返し行う、請求項2又は3に記載の成膜方法。
【請求項5】
m回目に前記(A)と前記(B)を行う際と、n(nはmよりも大きい整数)回目に前記(A)と前記(B)を行う際とで、前記第1窒化膜の膜厚と前記第2窒化膜の膜厚の比率を変更する、請求項4に記載の成膜方法。
【請求項6】
前記(B)は、H
2
ガス及びN
2
ガスの少なくとも1つを前記基板に供給することで前記第2窒化膜を改質することを有する、請求項2又は3に記載の成膜方法。
【請求項7】
前記部材は、前記原料ガスを吐出するシャワーヘッドであり、
前記反応生成物は、前記(A)の前に、前記シャワーヘッドを300℃~500℃に加熱した状態でH
2
ガスに曝すことで改質したものである、請求項1~3のいずれか1項に記載の成膜方法。
【請求項8】
前記反応生成物は、前記(A)の前に、前記シャワーヘッドを300℃~500℃に加熱した状態でプラズマ化したH
2
ガスに曝すことで改質したものである、請求項7に記載の成膜方法。
【請求項9】
前記(A)において、前記反応生成物に衝突させる前記プラズマは、前記処理容器の内部の圧力が600Pa以下、前記処理容器の内部のガスに対して印加する高周波電力が500W以上の状態で、Arガス、H
2
ガス及びNH
3
ガスの少なくとも1つを前記基板に対して供給しながら、生成する、請求項1~3のいずれか1項に記載の成膜方法。
【請求項10】
前記処理容器と、
前記処理容器の内部で前記基板を保持する保持部と、
前記保持部に対向して設けられるシャワーヘッドと、
前記シャワーヘッドにガスを供給することで、前記シャワーヘッドから前記保持部に向けてガスを供給するガス供給部と、
前記処理容器の内部からガスを排出するガス排出部と、
前記処理容器の内部で前記プラズマを生成するプラズマ生成部と、
前記ガス供給部、前記ガス排出部、及び前記プラズマ生成部を制御し、請求項1~3のいずれか1項に記載の成膜方法を実施する制御部と、
を備える、成膜装置。
発明の詳細な説明
【技術分野】
【0001】
本開示は、成膜方法及び成膜装置に関する。
続きを表示(約 1,500 文字)
【背景技術】
【0002】
特許文献1に記載の成膜方法は、ALD法でTiN膜を基板の上に形成する。具体的には、例えば、TiCl
4
ガスとNH
3
ガスを交互に基板に対して供給することで、TiN膜を基板の上に形成する。
【先行技術文献】
【特許文献】
【0003】
特開2018-80349号公報
【発明の概要】
【発明が解決しようとする課題】
【0004】
本開示の一態様は、窒化膜におけるハロゲン元素の含有量を低減する、技術を提供する。
【課題を解決するための手段】
【0005】
本開示の一態様の成膜方法は、下記(A)を有する。(A)窒化される元素及びハロゲン元素を含む原料ガスと窒化ガスの反応生成物が処理容器の内部の部材に堆積した状態で、前記反応生成物の少なくとも一部を分解し、基板の上に堆積させることで、前記原料ガスを前記基板に供給することなく前記基板の上に第1窒化膜を形成することを有する。前記反応生成物の少なくとも一部を分解することは、前記処理容器の内部にプラズマを生成し、前記プラズマを前記反応生成物に衝突させることを含む。
【発明の効果】
【0006】
本開示の一態様によれば、窒化膜におけるハロゲン元素の含有量を低減することができる。
【図面の簡単な説明】
【0007】
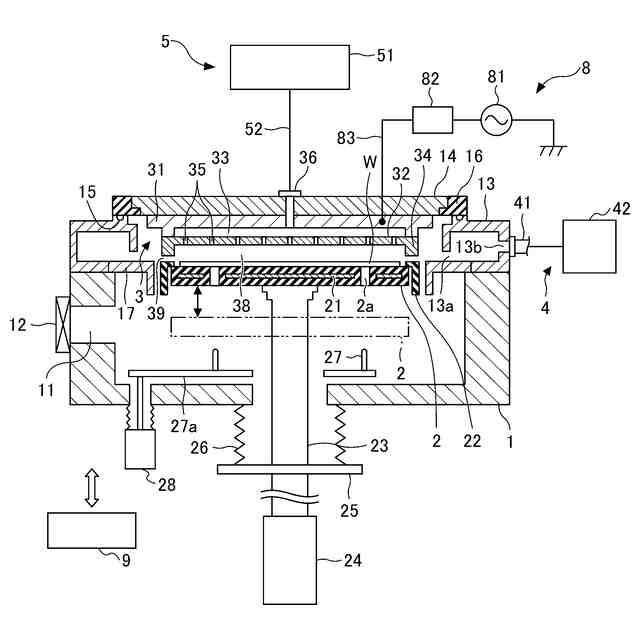
図1は、一実施形態に係る成膜装置を示す平面図である。
図2は、第2窒化膜の成膜方法の一例を示すフローチャートである。
図3は、第2窒化膜の成膜方法の一例を示すタイミングチャートである。
図4は、第2窒化膜の成膜条件の一例を示す図である。
図5は、第1窒化膜の成膜方法の一例を示すフローチャートである。
図6は、第1窒化膜の成膜方法の一例を示すタイミングチャートである。
図7は、第1窒化膜の成膜条件の一例を示す図である。
図8は、第1窒化膜の塩素含有量と、第2窒化膜の塩素含有量の一例を示す。
図9は、一実施形態に係る成膜方法を示すフローチャートである。
図10は、実施例と比較例に係る基板と窒化膜の界面での塩素含有量を示す図である。
図11は、図10のS301(第1窒化膜の成膜)の成膜条件を示す図である。
図12は、図10のS302(第2窒化膜の成膜)の成膜条件を示す図である。
【発明を実施するための形態】
【0008】
以下、本開示の実施形態について図面を参照して説明する。なお、各図面において同一の又は対応する構成には同一の符号を付し、説明を省略することがある。
【0009】
図1を参照して、一実施形態に係る成膜装置について説明する。成膜装置は、処理容器1、保持部2、シャワーヘッド3、ガス排出部4、ガス供給部5、プラズマ生成部8、及び制御部9等を有する。
【0010】
処理容器1は、アルミニウム等の金属により構成され、略円筒状を有している。処理容器1は、基板Wを収容する。基板Wは、例えば半導体基板を有する。半導体基板は、例えばシリコンウェハ又は化合物半導体ウェハである。化合物半導体ウェハは、例えばGaAsウェハ、SiCウェハ、GaNウェハ、又はInPウェハである。基板Wは、半導体基板の上に形成される各種の機能膜を有してもよい。機能膜は、導電膜及び絶縁膜の少なくとも1つを含む。
(【0011】以降は省略されています)
この特許をJ-PlatPat(特許庁公式サイト)で参照する
関連特許
個人
フッ素樹脂塗装鋼板の保管方法
2か月前
株式会社カネカ
製膜装置
2日前
株式会社カネカ
製膜装置
2日前
株式会社京都マテリアルズ
めっき部材
6日前
株式会社三愛工業所
アルミニウム材
4か月前
株式会社KSマテリアル
防錆組成物
2か月前
株式会社オプトラン
蒸着装置
5か月前
日本化学産業株式会社
複合めっき皮膜
1か月前
中外炉工業株式会社
真空浸炭装置
6か月前
台灣晶技股ふん有限公司
無電解めっき法
1か月前
中外炉工業株式会社
真空浸炭装置
6か月前
東京エレクトロン株式会社
成膜方法
24日前
日東電工株式会社
積層体の製造方法
4か月前
JFEスチール株式会社
鋼部品
2か月前
東京エレクトロン株式会社
基板処理装置
5か月前
信越半導体株式会社
真空蒸着方法
4か月前
DOWAサーモテック株式会社
浸炭方法
4か月前
株式会社内村
防食具、防食具の設置方法
26日前
東京エレクトロン株式会社
基板処理装置
6か月前
住友重機械工業株式会社
成膜装置
3か月前
東京エレクトロン株式会社
基板処理装置
4か月前
住友重機械工業株式会社
成膜装置
2か月前
株式会社アルバック
基板ステージ装置
3日前
黒崎播磨株式会社
溶射装置
10日前
日本製鉄株式会社
スナウト装置
6か月前
国立大学法人千葉大学
成膜装置及び成膜方法
1か月前
フジタ技研株式会社
被覆部材、及び、表面被覆金型
4日前
株式会社デンソー
接合体
16日前
黒崎播磨株式会社
溶射用ランス
4か月前
川崎重工業株式会社
水素遮蔽膜
1か月前
株式会社アルバック
成膜装置、および搬送方法
2か月前
ケニックス株式会社
蒸発源装置
1か月前
株式会社オプトラン
光学薄膜形成装置および方法
5か月前
学校法人静岡理工科大学
放電被覆装置及び放電被覆方法
1か月前
株式会社カネカ
製膜装置
5か月前
株式会社神戸製鋼所
成膜方法
2か月前
続きを見る
他の特許を見る