TOP
|
特許
|
意匠
|
商標
特許ウォッチ
Twitter
他の特許を見る
10個以上の画像は省略されています。
公開番号
2025073517
公報種別
公開特許公報(A)
公開日
2025-05-13
出願番号
2023184406
出願日
2023-10-27
発明の名称
加熱ブロック及びダブルベルトプレス
出願人
株式会社SGIC
代理人
個人
,
個人
,
個人
,
個人
主分類
B30B
5/06 20060101AFI20250502BHJP(プレス)
要約
【課題】 励磁コイルの温度が過度に上昇することを抑制する。
【解決手段】 ダブルベルトプレス(1)で用いられる加熱ブロック(20)であって、励磁コイル(21)と、第1流路形成部(24)及び第2流路形成部(25)を有する。励磁コイル(21)は、金属製のベルト(13a)を誘導加熱する。第1流路形成部(24)及び第2流路形成部(25)は、励磁コイル(21)を収容し、励磁コイル(21)を冷却するための冷却気体を移動させる流路を形成する。
【選択図】 図3
特許請求の範囲
【請求項1】
ダブルベルトプレスで用いられる加熱ブロックであって、
金属製のベルトを誘導加熱する励磁コイルと、
前記励磁コイルを収容し、前記励磁コイルを冷却するための冷却気体を移動させる流路を形成する第1流路形成部及び第2流路形成部と、
を有することを特徴とする加熱ブロック。
続きを表示(約 640 文字)
【請求項2】
前記冷却気体を供給する供給通路を有しており、
前記第1流路形成部は、前記冷却気体を前記供給通路から前記流路に導く開口部を有することを特徴とする請求項1に記載の加熱ブロック。
【請求項3】
前記冷却気体を排出する排出通路を有しており、
前記第1流路形成部は、前記励磁コイルと熱交換された前記冷却気体を前記流路から前記排出通路に導く開口部を有することを特徴とする請求項2に記載の加熱ブロック。
【請求項4】
前記第2流路形成部は、前記励磁コイルと熱交換された前記冷却気体を前記流路から前記ベルトの表面に向かって排出させる開口部を有することを特徴とする請求項2に記載の加熱ブロック。
【請求項5】
前記第2流路形成部の前記開口部は、前記ベルトの幅方向における両端部に対応した位置に設けられていることを特徴とする請求項4に記載の加熱ブロック。
【請求項6】
前記第1流路形成部及び前記第2流路形成部のうちの少なくとも一方は、前記励磁コイルの端部を収容する収容溝を有することを特徴とする請求項1に記載の加熱ブロック。
【請求項7】
前記第2流路形成部に固定されており、前記ベルトと接触するガイド板を有することを特徴とする請求項1に記載の加熱ブロック。
【請求項8】
請求項1から7のいずれか1つに記載の加熱ブロックを有することを特徴とするダブルベルトプレス。
発明の詳細な説明
【技術分野】
【0001】
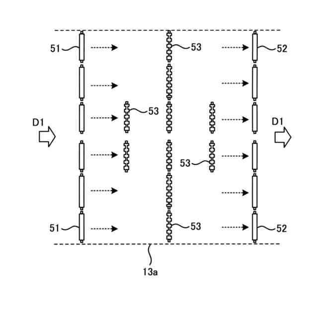
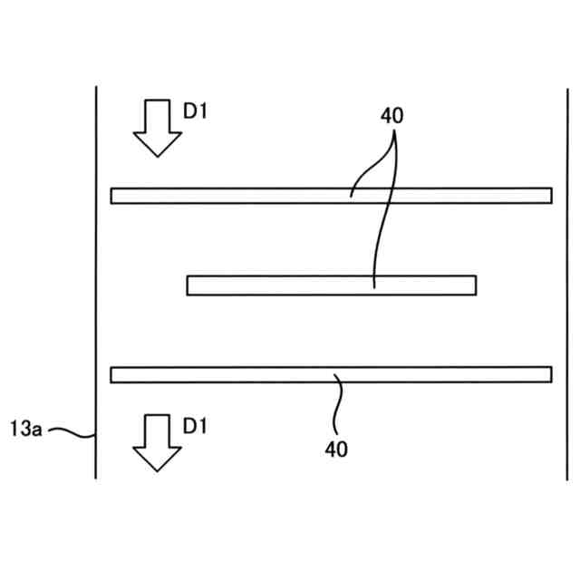
本発明は、ダブルベルトプレスで用いられ、励磁コイルを備えた加熱ブロックに関する。
続きを表示(約 1,000 文字)
【背景技術】
【0002】
特許文献1では、無端状の金属ベルトで被プレス物を上下から挟んだ状態で被プレス物を加熱・加圧する連続ホットプレス装置において、励磁コイルを用いて金属ベルトを誘導加熱している。ここで、励磁コイルには高周波電力が供給され、励磁コイルの高周波磁界によって金属ベルトが発熱する。
【先行技術文献】
【特許文献】
【0003】
特開2014-151349号公報
【発明の概要】
【発明が解決しようとする課題】
【0004】
励磁コイルの使用状況によっては、励磁コイルの温度が上昇してしまい、金属ベルトを誘導加熱しにくくなることがある。
【課題を解決するための手段】
【0005】
本願第1の発明は、ダブルベルトプレスで用いられる加熱ブロックであって、励磁コイルと、第1流路形成部及び第2流路形成部を有する。励磁コイルは、金属製のベルトを誘導加熱する。第1流路形成部及び第2流路形成部は、励磁コイルを収容し、励磁コイルを冷却するための冷却気体を移動させる流路を形成する。
【0006】
加熱ブロックには、冷却気体を供給する供給通路を設けることができる。ここで、第1流路形成部には、冷却気体を供給通路から流路に導く開口部を設けることができる。
【0007】
加熱ブロックには、冷却気体を排出する排出通路を設けることができる。ここで、第1流路形成部には、励磁コイルと熱交換された冷却気体を流路から排出通路に導く開口部を設けることができる。
【0008】
第2流路形成部には、励磁コイルと熱交換された冷却気体を流路からベルトの表面に向かって排出させる開口部を設けることができる。この開口部は、ベルトの幅方向における両端部に対応した位置に設けることができる。
【0009】
第1流路形成部及び第2流路形成部のうちの少なくとも一方には、励磁コイルの端部を収容する収容溝を設けることができる。第2流路形成部には、ベルトと接触するガイド板を固定することができる。
【0010】
本願第2の発明は、本願第1の発明である加熱ブロックを有するダブルベルトプレスである。
【発明の効果】
(【0011】以降は省略されています)
この特許をJ-PlatPat(特許庁公式サイト)で参照する
関連特許
日機装株式会社
加圧装置
5か月前
株式会社ヨコオ
製造装置
5か月前
日機装株式会社
加圧システム
6か月前
トヨタ紡織株式会社
プレス装置
6か月前
大同工業株式会社
高温成形用金型
4か月前
住友重機械工業株式会社
プレス装置
5か月前
住友重機械工業株式会社
プレス装置
4か月前
日本発條株式会社
加工油供給方法及び装置
3か月前
株式会社石垣
スクリュープレスの外筒スクリーン洗浄方法
3か月前
株式会社西田製作所
工具ヘッドと据置台との組み合わせ
5か月前
株式会社ジェイテクトフルードパワーシステム
加圧パンチ装置
4か月前
いすゞ自動車株式会社
成形装置
1か月前
株式会社合同資源
金属ヨウ化物錠剤の製造方法
6か月前
大同特殊鋼株式会社
連続式真空ホットプレス装置
1か月前
株式会社金陽社
熱プレス用緩衝材
1か月前
株式会社ディムコ
ガイドユニットを備えるダブルベルトプレス装置
4か月前
住友重機械工業株式会社
プレス装置及びプレス装置の配管工程
3か月前
トヨタ自動車株式会社
ロールプレス装置
20日前
冨士発條株式会社
プレスシステム、およびトランスファ装置
2か月前
株式会社SGIC
加熱ブロック及びダブルベルトプレス
5か月前
UBEマシナリー株式会社
押出プレス装置の支援システム
3か月前
株式会社石垣
スクリュープレスにおける目詰まり防止機構及びそれを用いた目詰まり防止方法
5か月前
アイダエンジニアリング株式会社
プレス機械及びプレス機械の操作支援方法
1か月前
ノリタケ株式会社
ロールコンパクション成形装置およびロールコンパクション成形用搬送装置
13日前
株式会社KMC
監視システム、センサープレート及び通信制御ユニット
1か月前
住友重機械工業株式会社
プレス装置、診断装置、プレス装置の健全性診断方法及び健全性診断プログラム
6か月前
フェッテ コンパクティング ゲーエムベーハー
回転式プレス機のペレットをプレス試験する方法。
6か月前
学校法人金沢工業大学
加工機械の制御方法、加工機械の制御装置及び制御プログラム
5か月前
コマツ産機株式会社
プレス機械の金型用の予知保全システム及び予知保全のための方法
24日前
株式会社放電精密加工研究所
機械学習装置、情報処理装置、推論装置、機械学習方法、情報処理方法、及び、推論方法
2日前
株式会社JKB
順送プレス加工方法及びその加工システム
1か月前
フェッテ コンパクティング ゲーエムベーハー
回転プレス機でペレットをテストプレスする方法および回転プレス機
5か月前
フェック ライニッシュ ゲゼルシャフト ミット ベシュレンクテル ハフツング
プレス工具及びプレスプレートの製造方法
1か月前
フェック ライニッシュ ゲゼルシャフト ミット ベシュレンクテル ハフツング
プレス工具及びプレスプレートの製造方法
1か月前
フィースラー・エレクトロニク・ゲゼルシャフト・ミト・ベシュレンクテル・ハフツング・ウント・コンパニー・コマンデイトゲゼルシャフト
保護装置、曲げ機械及び曲げ機械の動作方法
5か月前
アライドコーヒーロースターズ株式会社
ペレット製造装置及びペレットの製造方法
3か月前
続きを見る
他の特許を見る