TOP
|
特許
|
意匠
|
商標
特許ウォッチ
Twitter
他の特許を見る
公開番号
2025074641
公報種別
公開特許公報(A)
公開日
2025-05-14
出願番号
2023185599
出願日
2023-10-30
発明の名称
列車無線通信システム
出願人
日本信号株式会社
代理人
個人
,
個人
主分類
B61L
23/00 20060101AFI20250507BHJP(鉄道)
要約
【課題】利得の調整を短縮することができ、広い信号レベル範囲に亘って安定した通信を実現できる列車無線通信システムを提供する。
【解決手段】列車無線通信システムは、路線の沿線に設置された地上無線機TR11,TR12,TR13,TR14,…、TR21,TR22,…と、路線上を走行する列車11に搭載された車上無線機16a,16bとで通信を行うものである。路線上の列車位置に応じた環境情報を予め取得し、路線上の自列車の現在位置を特定し、通信を行う車上無線機と地上無線機間の距離と列車位置に応じた環境情報に基づき、目的信号のレベルと干渉信号のレベルを予測する。そして、予測結果に基づき自動利得制御回路のパラメータを設定する、ことを特徴とする。
【選択図】図1
特許請求の範囲
【請求項1】
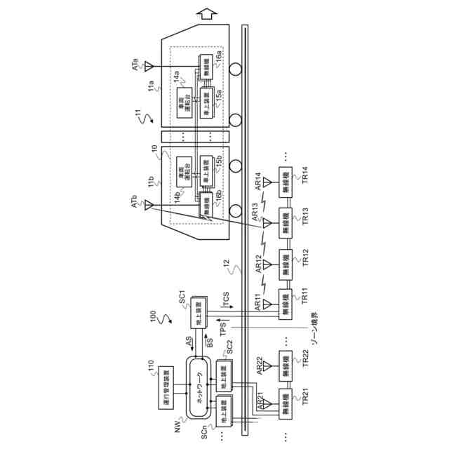
路線の沿線に設置された地上無線機と、路線上を走行する列車に搭載された車上無線機とで通信を行うシステムであって、
路線上の列車位置に応じた環境情報を予め取得し、
路線上の自列車の現在位置を特定し、
通信を行う車上無線機と地上無線機間の距離と、列車位置に応じた環境情報に基づき、目的信号のレベルと干渉信号のレベルを予測し、
予測結果に基づき自動利得制御回路のパラメータを設定する、列車無線通信システム。
続きを表示(約 680 文字)
【請求項2】
前記環境情報は、駅構内、市街地、郊外、林間、橋梁上及びトンネル内であることを識別する情報を含み、それぞれの環境に対応する干渉信号のレベルが前記列車に搭載されたデータベースに記憶されている、請求項1に記載の列車無線通信システム。
【請求項3】
前記路線上の自列車の現在位置を特定は、列車に搭載された測距装置による測距の実施、またはGPSによる位置情報の取得である、請求項1に記載の列車無線通信システム。
【請求項4】
前記通信を行う車上無線機と地上無線機間の距離は、車上無線機から列車の走行により近接する地上無線機までの距離の情報である、請求項1に記載の列車無線通信システム。
【請求項5】
前記干渉信号のレベルのデータを、列車の走行中に取得したデータからフィードバックする、請求項1に記載の列車無線通信システム。
【請求項6】
前記目的信号のレベルの予測は、車上無線機から列車の走行により近接する地上無線機までの距離と前記列車の速度に基づき実行し、前記干渉信号のレベルの予測は、前記環境情報に基づき実行する、請求項1に記載の列車無線通信システム。
【請求項7】
前記自動利得制御回路のパラメータ設定は、バンドパスフィルタ内の受信電力を取得し、目的信号の周波数帯の受信電力を取得し、取得した受信電力の値と制御パラメータの値から前記自動利得制御回路の利得を、前記目的信号が復調に適したレベルになるよう調整するものである、請求項1に記載の列車無線通信システム。
発明の詳細な説明
【技術分野】
【0001】
本発明は、路線の沿線に設置された地上無線機と、路線上を走行する列車に搭載された車上無線機とで通信を行うための列車無線通信システムに関する。
続きを表示(約 1,600 文字)
【背景技術】
【0002】
無線機の受信回路には、大信号から小信号までを幅広く受信するために、受信信号が復調に適したレベルになるように利得を調整するAGC回路(自動利得制御回路)が用いられている。AGC回路は、指定された設定値に合わせて自動で動作する。受信信号には目的の信号だけでなくノイズ等の不要な信号も含まれているため、利得は不要な信号での回路飽和を避けつつ、目的信号が復調に適したレベルになるよう調整する必要がある。また、レベル調整中は復調を誤る可能性が高いため、この調整は速やかに完了させる必要がある。
【0003】
そこで、例えば特許文献1には、予測パターンを用いて利得を調整する手法が記載されている。特許文献1では、自機の位置推定のずれに起因した受信電力の変化を予測パターンと照合して補正することで、調整速度が速く精度の高い利得制御を実現している。
【0004】
また、特許文献2には、路線の沿線に配置された沿線無線機(地上無線機)と、走行している列車に設置された車上無線機間で通信を行う無線式列車制御システムが記載されている。この特許文献2では、列車の走行中に通信相手の沿線無線機を変えながら通信を実施している。
【先行技術文献】
【特許文献】
【0005】
特開2008-252646号公報
特開2008-162548号公報
【発明の概要】
【発明が解決しようとする課題】
【0006】
ところで、列車に搭載される車上無線機は、自身が移動するために通信条件が常に変化する。例えば複数の通信相手と時分割で通信するシステムのような無線式列車制御(CBTC)システムでは、通信相手が刻々と変化し、通信相手までの距離も数m~1km弱と幅広く変化するため、AGCによる調整が必須となる。
【0007】
加えて、周囲環境も大きく変化し、駅周辺の混雑環境とトンネル内の静穏環境では干渉電波レベルの差が大きく(例えば2.4GH帯を使用するシステムでは無線LAN等から影響を受ける)、且つ市街地、郊外、林間、橋梁上及びトンネルなどのように地形によって目的信号のレベルが大きく変化する。
【0008】
このため、予測が難しく、利得が大きいと飽和し、小さいと復調できないことになる。しかも、AGC回路を入力信号のレベルに拘わらず調整できるように設定すると、利得の調整にかかる時間が長くなり、受信電波と干渉電波のレベルの組み合わせによっては、利得の調整が間に合わなかったり、適切ではない調整値に設定されたりする虞がある。利得調整の遅れや不適切な設定値は、フレーム同期の誤認/見逃しやデータ欠損を起こす可能性がある。対数増幅器などを利用しても、CBTCシステムのように広い信号レベル範囲に対応するのは困難である。
【0009】
本発明は上記のような事情に鑑みてなされたもので、その目的とするところは、利得の調整を短縮することができ、広い信号レベル範囲に亘って安定した通信を実現できる列車無線通信システムを提供することにある。
【課題を解決するための手段】
【0010】
本発明に係る列車無線通信システムは、路線の沿線に設置された地上無線機と、路線上を走行する列車に搭載された車上無線機とで通信を行うシステムであって、路線上の列車位置に応じた環境情報を予め取得し、無線測距により路線上の自列車の現在位置を特定し、通信を行う車上無線機と地上無線機間の距離と、列車位置に応じた環境情報に基づき、目的信号のレベルと干渉信号のレベルを予測し、予測結果に基づき自動利得制御回路のパラメータを設定する、ことを特徴とする。
【発明の効果】
(【0011】以降は省略されています)
この特許をJ-PlatPat(特許庁公式サイト)で参照する
関連特許
日本信号株式会社
可視光通信システム
25日前
日本信号株式会社
列車接近警報システム
1日前
日本信号株式会社
運行管理システム及び方法
今日
個人
車両及び走行システム
6か月前
日本信号株式会社
ホーム柵
2か月前
日本信号株式会社
検査装置
10か月前
日本信号株式会社
ホーム柵
1か月前
近畿車輌株式会社
耐火床構造
25日前
日本信号株式会社
ホーム柵装置
6か月前
日本車輌製造株式会社
鉄道車両
17日前
保線機器整備株式会社
保線用カート
8か月前
近畿車輌株式会社
鉄道車両の床構造
10か月前
ナブテスコ株式会社
ホームドア装置
2か月前
カヤバ株式会社
鉄道車両用制振装置
10か月前
日本信号株式会社
列車接近警報装置
2か月前
近畿車輌株式会社
鉄道車両の床構造
10か月前
川崎車両株式会社
鉄道車両用パネル
8か月前
日本車輌製造株式会社
台車組立装置
4か月前
近畿車輌株式会社
鉄道車両の床構造
10か月前
日本信号株式会社
物体検知装置
6か月前
株式会社東芝
台車搬送装置
21日前
日本信号株式会社
ホーム安全システム
6か月前
日本信号株式会社
ホームドア制御装置
3か月前
日本信号株式会社
踏切道監視システム
10か月前
日本ケーブル株式会社
索道の支索引留め装置
2か月前
株式会社ダイフク
搬送車
5か月前
前川鉄工株式会社
ロープ駆動装置
11か月前
ヤマハ発動機株式会社
無人搬送車
6か月前
ヤマハ発動機株式会社
無人搬送車
6か月前
株式会社日立製作所
鉄道車両
29日前
日本信号株式会社
列車接近警報システム
1日前
シャープ株式会社
表示装置
11か月前
ヤマハ発動機株式会社
無人搬送車
4か月前
ヤマハ発動機株式会社
無人搬送車
6か月前
株式会社ダイフク
搬送設備
6か月前
株式会社京三製作所
車上装置
7か月前
続きを見る
他の特許を見る