TOP
|
特許
|
意匠
|
商標
特許ウォッチ
Twitter
他の特許を見る
公開番号
2025096586
公報種別
公開特許公報(A)
公開日
2025-06-26
出願番号
2025067195,2021123581
出願日
2025-04-16,2021-07-28
発明の名称
車両用のシステム
出願人
トヨタ自動車株式会社
代理人
弁理士法人小笠原特許事務所
主分類
G06F
8/65 20180101AFI20250619BHJP(計算;計数)
要約
【課題】OTAを用いたソフトウェア更新の際に車両のユーザーや管理者などが所有する情報端末に電子メールなどで送信する情報を、ユーザーや管理者などに信頼性のある情報であることを気付かせることができる車両用システムを提供する。
【解決手段】電子制御ユニットを搭載した車両と、電子制御ユニットのソフトウェアの更新を制御するセンタと、車両に紐付いた情報端末と、を備えるシステムであって、車両は、表示装置と、センタとの間で通信を行う第1通信部と、を備え、センタは、車両及び情報端末との間で通信を行う第2通信部を備え、センタは、ソフトウェアの更新に関する情報を情報端末に送信した場合、ソフトウェアの更新に関する情報を送信した旨を車両に通知し、車両は、センタから受信した通知を表示装置に表示する。
【選択図】図1
特許請求の範囲
【請求項1】
電子制御ユニットを搭載した車両と、前記電子制御ユニットのソフトウェアの更新を制御するセンタと、前記車両に紐付いた情報端末と、を備えるシステムであって、
前記車両は、
表示装置と、
前記センタとの間で通信を行う第1通信部と、を備え、
前記センタは、前記車両及び前記情報端末との間で通信を行う第2通信部を備え、
前記センタは、前記ソフトウェアの更新に関する情報を前記情報端末に送信した場合、前記ソフトウェアの更新に関する情報を送信した旨を前記車両に通知し、
前記車両は、前記センタから受信した前記通知を前記表示装置に表示する、システム。
続きを表示(約 440 文字)
【請求項2】
前記センタは、前記車両に搭載された前記表示装置が前記ソフトウェアの更新に関する情報を表示できない場合に、前記ソフトウェアの更新に関する情報を前記情報端末に送信する、請求項1に記載のシステム。
【請求項3】
前記車両は、前記ソフトウェアの更新に関する情報の再送信を前記センタに指示するためのスイッチをさらに備える、請求項1又は2に記載のシステム。
【請求項4】
前記センタは、前記ソフトウェアの更新に関する情報に対する応答として情報送信先から受信する更新承諾通知に基づいて、前記ソフトウェアの更新処理を制御する制御部をさらに備える、請求項1乃至3のいずれか1項に記載のシステム。
【請求項5】
前記車両は、前記表示装置に関する情報を前記センタに送信する送信部をさらに備え、
前記センタは、前記表示装置に関する情報を前記車両から取得する取得部をさらに備える、請求項1乃至4のいずれか1項に記載のシステム。
発明の詳細な説明
【技術分野】
【0001】
本開示は、車両に搭載された電子制御ユニットのソフトウェアの更新を制御する車両用のシステムなどに関する。
続きを表示(約 2,000 文字)
【背景技術】
【0002】
車両には、車両の動作を制御するための複数の電子制御ユニット(ECU:Electronic Control Unit)が搭載されている。電子制御ユニットは、プロセッサと、RAMのような一時的な記憶部と、フラッシュROMのような不揮発性の記憶部である不揮発性メモリとを備え、プロセッサが不揮発性メモリに記憶されるソフトウェアを実行することにより電子制御ユニットの制御機能を実現する。各電子制御ユニットが記憶するソフトウェアは書き換え可能であり、より新しいバージョンのソフトウェアに更新することにより、各電子制御ユニットの機能を改善したり、新たな車両制御機能を追加したりすることができる。
【0003】
電子制御ユニットのソフトウェアを更新する技術として、車載ネットワークに接続された車載通信機器とインターネットなどの通信ネットワークとを無線で接続し、車両のソフトウェアの更新処理を担う装置が、無線通信を介してサーバーからソフトウェアをダウンロードし、ダウンロードしたソフトウェアを電子制御ユニットに書き込んでインストールし、インストールしたソフトウェアを有効化するアクティベートを行うことにより、電子制御ユニットのソフトウェアの更新や追加を行うOTA(Over The Air)技術が知られている。例えば、特許文献1を参照。
【先行技術文献】
【特許文献】
【0004】
特開2017-149323号公報
【発明の概要】
【発明が解決しようとする課題】
【0005】
OTAを用いたソフトウェア更新の際には、車両のユーザーや管理者などに対してソフトウェア更新があることの通知やソフトウェア更新の承諾を要求する処理などが行われる。これらの通知や承諾要求などは、車両に搭載されたカーナビゲーション装置や車両と無線通信可能なスマートフォンなどの情報端末を通じて、車両のユーザーや管理者などに対して行われる。
【0006】
スマートフォンなどの情報端末は、様々な電子メールを数多く受信することができる。一般に、情報端末の所有者は、数多くの電子メールの中から必要なものや信頼性のあるものだけを選択して内容を確認するのであるが、メールのタイトルや送信者のアドレスなどだけで本当にその電子メールが必要なものか否か及び信頼性のあるものか否かを判断するのは大変な作業である。このため、OTAを用いたソフトウェア更新の際に車両のユーザーや管理者などが所有する情報端末に電子メールなどで送信する情報を、ユーザーや管理者などに気付かれない又は必要な信頼性のある情報として捉えてもらえない、といったことが生じるおそれがある。
【0007】
本開示は、上記課題を鑑みてなされたものであり、OTAを用いたソフトウェア更新の際に車両のユーザーや管理者などが所有する情報端末に電子メールなどで送信する情報を、ユーザーや管理者などに信頼性のある情報であることを気付かせることができる車両用のシステムなどを提供することを目的とする。
【課題を解決するための手段】
【0008】
上記課題を解決するために、本開示技術の一態様は、電子制御ユニットを搭載した車両と、電子制御ユニットのソフトウェアの更新を制御するセンタと、車両に紐付いた情報端末と、を備えるシステムであって、車両は、表示装置と、センタとの間で通信を行う第1通信部と、を備え、センタは、車両及び情報端末との間で通信を行う第2通信部を備え、センタは、ソフトウェアの更新に関する情報を情報端末に送信した場合、ソフトウェアの更新に関する情報を送信した旨を車両に通知し、車両は、センタから受信した通知を表示装置に表示する、システムである。
【発明の効果】
【0009】
本開示の車両用のシステムなどによれば、OTAを用いたソフトウェア更新の際に車両のユーザーや管理者などが所有する情報端末に電子メールなどで送信する情報を、ユーザーや管理者などに信頼性のある情報であることを気付かせることができる。
【図面の簡単な説明】
【0010】
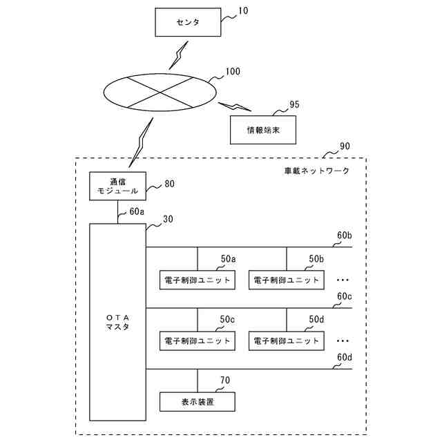
実施形態に係るネットワークシステムの全体構成を示すブロック図
センタの概略構成を示すブロック図
センタの機能ブロック図
OTAマスタの概略構成を示すブロック図
OTAマスタの機能ブロック図
センタが行うソフトウェア更新に関する情報の送信処理のフローチャート
センタが行うソフトウェア更新に関する情報の送信処理のフローチャート
センタ、OTAマスタ、及びターゲット電子制御ユニットが実行するソフトウェア更新制御処理の一例を説明するフローチャート
【発明を実施するための形態】
(【0011】以降は省略されています)
この特許をJ-PlatPat(特許庁公式サイト)で参照する
関連特許
他の特許を見る