TOP
|
特許
|
意匠
|
商標
特許ウォッチ
Twitter
他の特許を見る
10個以上の画像は省略されています。
公開番号
2025096647
公報種別
公開特許公報(A)
公開日
2025-06-27
出願番号
2023211260
出願日
2023-12-14
発明の名称
遊技機
出願人
株式会社三共
代理人
主分類
A63F
7/02 20060101AFI20250619BHJP(スポーツ;ゲーム;娯楽)
要約
【課題】導体配線パターンへのノイズの影響が生じてしまうことを低減できる遊技機を提供すること。
【解決手段】第1面は、導体によって形成された配線パターンであって、実装される電子部品の第1端子が電気接続される第1実装電極並びに該電子部品の第2端子が電気接続される第2実装電極を備える特定配線パターンを含む第1導体配線パターンを有し、第1面における第1実装電極と第2実装電極との間の領域は、第1導体配線パターンの導体が形成されていない非導体領域とされており、第2面は、非導体領域の裏面部に導体によって形成された特別配線パターンを含む第2導体配線パターンを有している。
【選択図】図16-22
特許請求の範囲
【請求項1】
遊技が可能な遊技機であって、
第1面と該第1面の裏面である第2面とを有し、電子部品を実装可能な平板状の電子回路基板を備え、
前記第1面は、導体によって形成された配線パターンであって、実装される電子部品の第1端子が電気接続される第1実装電極並びに該電子部品の第2端子が電気接続される第2実装電極を備える特定配線パターンを含む第1導体配線パターンを有し、
前記第1面における前記第1実装電極と前記第2実装電極との間の領域は、前記第1導体配線パターンの導体が形成されていない非導体領域とされており、
前記第2面は、前記非導体領域の裏面部に導体によって形成された特別配線パターンを含む第2導体配線パターンを有し、
さらに、
有利状態に制御可能であり、
遊技制御手段と、
演出制御手段と、
発光手段と、
発光制御手段と、
を備え、
第1演出モードと、第2演出モードと、を備え、
前記発光制御手段は、
前記第1演出モードの可変表示中において、該第1演出モードに対応する輝度データテーブルを用いて、前記発光手段を制御可能であり、
前記第2演出モードの可変表示中において、該第2演出モードに対応する輝度データテーブルを用いて、前記発光手段を制御可能であり、
前記演出制御手段は、前記第1演出モードに対応する輝度データテーブルおよび前記第2演出モードに対応する輝度データテーブルよりも消灯態様を表す輝度データを多く含む輝度データテーブルが用いられる特定演出を実行可能であり、
前記第1演出モードにおける前記特定演出の実行割合と、前記第2演出モードにおける前記特定演出の実行割合と、が異なる、遊技機。
発明の詳細な説明
【技術分野】
【0001】
本発明は、遊技が可能な遊技機に関する。
続きを表示(約 6,200 文字)
【背景技術】
【0002】
従来の遊技機は、該遊技機内の電気部品に用いられる電源を先生するための電源基板(電子回路基板)の表面(第1面)と裏面(第2面)との両方に導体による配線パターン(導体配線パターン)が形成されたものがある(例えば、特許文献1参照)。また、複数の演出モードに切り替え可能であって、それぞれの演出モードにおいてブランク図柄の動作態様を異ならせることによってこれら演出モードの相違を遊技者に印象付けているものがある(例えば、特許文献2参照)。
【先行技術文献】
【特許文献】
【0003】
特開2018-117697号公報
特開2018-139689号公報
【発明の概要】
【発明が解決しようとする課題】
【0004】
特許文献1および特許文献2の機能や構成を有する遊技機において、商品性を高める余地があった。
【0005】
この発明は、上記の実状に鑑みてなされたものであり、商品性を高めた遊技機を提供することを目的とする。
【課題を解決するための手段】
【0006】
本発明の請求項1に記載の遊技機は、
遊技が可能な遊技機であって、
第1面と該第1面の裏面である第2面とを有し、電子部品を実装可能な平板状の電子回路基板を備え、
前記第1面は、導体によって形成された配線パターンであって、実装される電子部品の第1端子が電気接続される第1実装電極並びに該電子部品の第2端子が電気接続される第2実装電極を備える特定配線パターンを含む第1導体配線パターンを有し、
前記第1面における前記第1実装電極と前記第2実装電極との間の領域は、前記第1導体配線パターンの導体が形成されていない非導体領域とされており、
前記第2面は、前記非導体領域の裏面部に導体によって形成された特別配線パターンを含む第2導体配線パターンを有し、
さらに、
有利状態に制御可能であり、
遊技制御手段と、
演出制御手段と、
発光手段と、
発光制御手段と、
を備え、
第1演出モードと、第2演出モードと、を備え、
前記発光制御手段は、
前記第1演出モードの可変表示中において、該第1演出モードに対応する輝度データテーブルを用いて、前記発光手段を制御可能であり、
前記第2演出モードの可変表示中において、該第2演出モードに対応する輝度データテーブルを用いて、前記発光手段を制御可能であり、
前記演出制御手段は、前記第1演出モードに対応する輝度データテーブルおよび前記第2演出モードに対応する輝度データテーブルよりも消灯態様を表す輝度データを多く含む輝度データテーブルが用いられる特定演出を実行可能であり、
前記第1演出モードにおける前記特定演出の実行割合と、前記第2演出モードにおける前記特定演出の実行割合と、が異なる。
この特徴によれば、上記実情を鑑み、商品性を高めた遊技機を提供することができる。
【0007】
尚、本発明は、本発明の請求項に記載された発明特定事項のみを有するものであってもよいし、本発明の請求項に記載された発明特定事項とともに該発明特定事項以外の構成を有するものであってもよい。
【図面の簡単な説明】
【0008】
パチンコ遊技機の正面図である。
パチンコ遊技機に搭載された各種の制御基板などを示す構成図である。
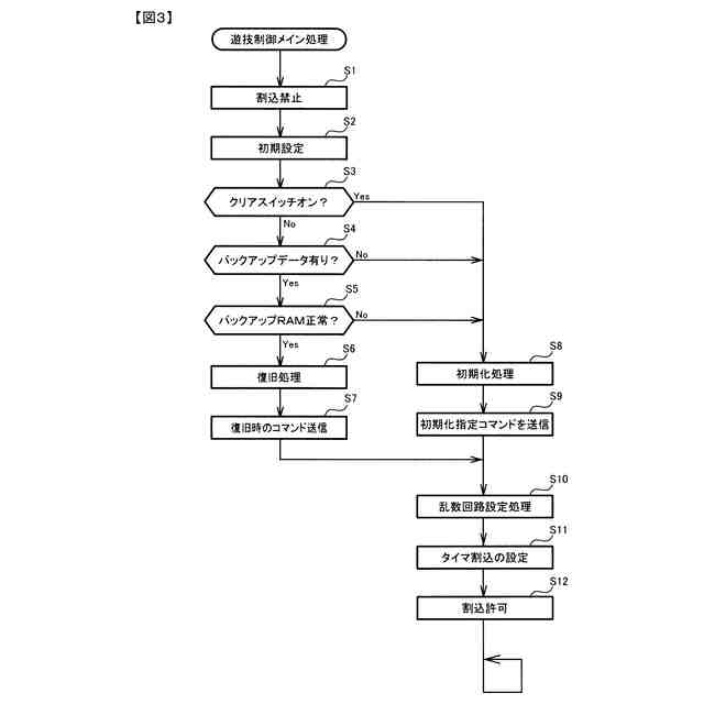
遊技制御メイン処理の一例を示すフローチャートである。
遊技制御用タイマ割込み処理の一例を示すフローチャートである。
特別図柄プロセス処理の一例を示すフローチャートである。
演出制御メイン処理の一例を示すフローチャートである。
演出制御プロセス処理の一例を示すフローチャートである。
特徴部02TMにおけるパチンコ遊技機1の正面図である。
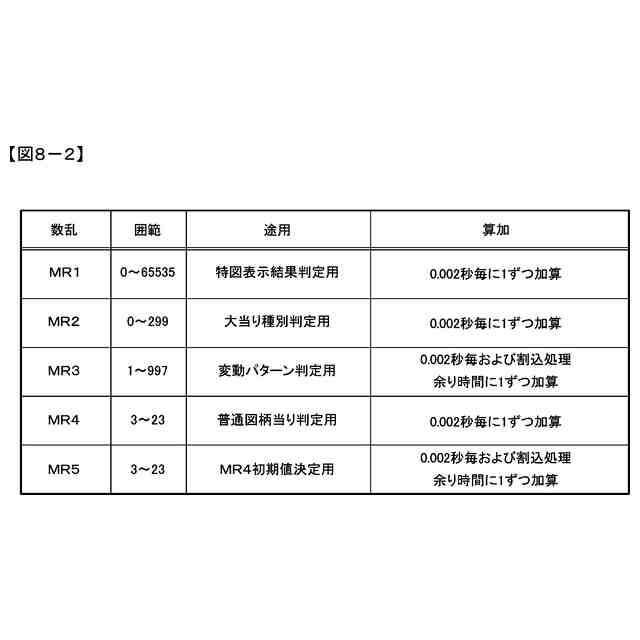
各乱数を示す説明図である。
(A)は、表示結果判定テーブルを示す説明図であり、(B)は、大当り種別判定テーブルを示す説明図である。
大当り種別詳細情報テーブルを示す説明図である。
通常状態用の変動パターン判定テーブルを示す説明図である。
時短状態用の変動パターン判定テーブルを示す説明図である。
ST状態用の変動パターン判定テーブルを示す説明図である。
(A)は、操作方法指示演出一覧テーブルを示す説明図であり、(B)は、エラー報知演出一覧テーブルを示す説明図である。
異常操作方法指示演出決定処理の一例を示すフローチャートである。
(A)は、異常操作方法指示に関連する条件テーブルを示す説明図であり、(B)は、エラー報知に関連する条件テーブルを示す説明図である。
大当り開始時演出終了判定処理の一例を示すフローチャートである。
遊技フローの具体例を示す説明図である。
(A)は、レイヤ構造を模式的に示した概念図であり、(B)は、レイヤ構造の説明図である。
通常モードの異常左打ち指示に関する各演出の具体例を示す説明図である。
通常モードの異常左打ち指示(LV1)に関する各演出の実行タイミングを示すタイムチャートである。
通常モードの異常左打ち指示(LV2)に関する各演出の実行タイミングを示すタイムチャートである。
通常モードのエラー報知に関する各演出の具体例を示す説明図である。
通常モードのエラー報知に関する各演出の実行タイミングを示すタイムチャートである。
通常モードの異常左打ち指示と右打ちモードの大当りFF演出に関する各演出の具体例を示す説明図である。
通常モードの異常左打ち指示と右打ちモードの大当りFF演出に関する各演出の実行タイミングを示すタイムチャートである。
通常モードのエラー報知と右打ちモードの大当りFF演出に関する各演出の具体例を示す説明図である。
通常モードのエラー報知と右打ちモードの大当りFF演出に関する各演出の実行タイミングを示すタイムチャートである。
通常モードの異常左打ち指示とエラー報知と、右打ちモードの大当りFF演出に関する各演出の具体例を示す説明図である。
通常モードの異常左対指示とエラー報知と、右打ちモードの大当りFF演出に関する各演出の実行タイミングを示すタイムチャートである。
遊技機が設置されている遊技場の具体例を示す説明図である。
右打ちモードの異常右打ち指示に関する各演出の具体例を示す説明図である。
右打ちモードの異常右打ち指示に関する各演出の実行タイミングを示すタイムチャートである。
右打ちモードの大当りFF期間に異常左打ちを検出した場合に関する各演出の具体例を示す説明図である。
右打ちモードの大当りFF期間に異常左打ちを検出した場合に関する各演出の実行タイミングを示すタイムチャートである。
右打ちモードの大当りRD期間の異常右打ち指示に関する各演出の具体例を示す説明図である。
右打ちモードの大当りRD期間の異常右打ち指示に関する各演出の実行タイミングを示すタイムチャートである。
音量調整演出決定処理の一例を示すフローチャートである。
音量調整に関する各演出の具体例を示す説明図である。
音量調整に関する各演出の実行タイミングを示すタイムチャートである。
光量調整演出決定処理の一例を示すフローチャートである。
光量調整に関する各演出の具体例を示す説明図である。
光量調整に関する各演出の実行タイミングを示すタイムチャートである。
通常モードの音量調整と右打ちモードの大当りFF演出に関する各演出の具体例を示す説明図である。
通常モードの音量調整と右打ちモードの大当りFF演出に関する各演出の実行タイミングを示すタイムチャートである。
通常モードの光量調整と右打ちモードの大当りFF演出に関する各演出の具体例を示す説明図である。
通常モードの光量調整と右打ちモードの大当りFF演出に関する各演出の実行タイミングを示すタイムチャートである。
オートボタン設定演出決定処理の一例を示すフローチャートである。
オートボタンOFFモードに関する各演出の具体例を示す説明図である。
オートボタンONモードに関する各演出の具体例を示す説明図である。
通常モードのオートボタンOFF設定演出と右打ちモードの大当りFF演出に関する各演出の具体例を示す説明図である。
通常モードのオートボタンOFF設定演出と右打ちモードの大当りFF演出に関する各演出の実行タイミングを示すタイムチャートである。
通常モードのオートボタンON設定演出と右打ちモードの大当りFF演出に関する各演出の具体例を示す説明図である。
通常モードのオートボタンONO設定演出と右打ちモードの大当りFF演出に関する各演出の実行タイミングを示すタイムチャートである。
音量調整表示、光量調整表示、オートボタン設定表示が同時に表示される場合に関する各演出の具体例を示す説明図である。
音量調整表示、光量調整表示、オートボタン設定表示が同時に表示される場合に関する各演出の具体例を示す説明図である。
音量調整表示、光量調整表示、オートボタン設定表示が同時に表示される場合に関する各演出の実行タイミングを示すタイムチャートである。
大当りA及び大当りBに対応する大当りFF演出(第1部)に関する各演出の具体例を示す説明図である。
大当りCに対応する大当りFF演出(第1部)に関する各演出の具体例を示す説明図である。
(A)は、大当りA及び大当りBに対応する大当りFF演出に関する各演出の具体例を示す説明図であり、(B)は、大当りCに対応する大当りFF演出に関する各演出の具体例を示す説明図である。
大当りA及び大当りBに対応する大当りFF演出に関する各演出の実行タイミングを示すタイムチャートである。
大当りCに対応する大当りFF演出に関する各演出の実行タイミングを示すタイムチャートである。
(A)は、右打ちモードの大当りA及び大当りBに対応した大当りFF演出中のエラー報知に関する各演出の具体例を示す説明図であり、(B)は、右打ちモードの大当りCに対応した大当りFF演出中のエラー報知に関する各演出の具体例を示す説明図である。
右打ちモードの大当りA及び大当りBに対応した大当りFF演出中のエラー報知に関する各演出の実行タイミングを示すタイムチャートである。
右打ちモードの大当りCに対応した大当りFF演出中のエラー報知に関する各演出の実行タイミングを示すタイムチャートである。
(A)は、大当りAに対応した大当りED演出に関する各演出の具体例を示す説明図であり、(B)は、大当りBに対応した大当りED演出に関する各演出の具体例を示す説明図である。
大当りAに対応した大当りED演出に関する各演出の実行タイミングを示すタイムチャートである。
大当りBに対応した大当りED演出に関する各演出の実行タイミングを示すタイムチャートである。
大当りCに対応した大当りED演出に関する各演出の具体例を示す説明図である。
大当りCに対応した大当りED演出に関する各演出の実行タイミングを示すタイムチャートである。
右打ちモードの大当りED演出中のエラー報知に関する各演出の具体例を示す説明図である。
右打ちモードの大当りED演出中のエラー報知に関する各演出の実行タイミングを示すタイムチャートである。
獲得賞球更新演出に関する各演出の具体例を示す説明図である。
獲得賞球更新演出に関する各演出の実行タイミングを示すタイムチャートである。
役物と画像表示装置の正面図である。
(A)役物を備えた遊技機における大当りFF演出(第1部)中のエラー報知に関する各演出の具体例を示す説明図であり、役物を備えた遊技機における大当りFF演出(第2部)中のエラー報知に関する各演出の具体例を示す説明図である。
時短モードに移行した後に通常モードに制御される場合に関する各演出の具体例を示す説明図である。
時短モードに移行した後に通常モードに制御される場合に関する各演出の実行タイミングを示すタイムチャートである。
STモードに移行した後に通常モードに制御される場合に関する各演出の具体例を示す説明図である。
STモードに移行した後に通常モードに制御される場合に関する各演出の実行タイミングを示すタイムチャートである。
通常モードのエラー報知と右打ちモードの大当りFF演出に関する各演出の具体例を示す説明図である。
通常モードの異常左打ち指示とエラー報知と、右打ちモードの大当りFF演出に関する各演出の具体例を示す説明図である。
右打ちモードの大当りRD期間の異常右打ち指示に関する各演出の具体例を示す説明図である。
パチンコ遊技機の正面図である。
パチンコ遊技機に搭載された各種の制御基板などを示す構成図である。
VRAMの内容を示す説明図である
各描画領域の説明図である。
表示優先度の説明図である。
(A)、(B)は、演出制御コマンドを例示する図である。
各乱数を示す説明図である。
表示結果判定テーブルを示す説明図である。
(A)は大当り種別判定テーブルを示す説明図であり、(B)は大当り種別の説明図である。
はずれ変動パターンの説明図である。
大当り変動パターンの説明図である。
変動パターン種別判定テーブルを示す説明図である。
はずれ用変動パターン判定テーブルの説明図である。
はずれ用変動パターン判定テーブルの説明図である。
大当り用変動パターン判定テーブルの説明図である。
遊技制御用データ保持エリアの説明図である。
【発明を実施するための形態】
【0009】
本遊技機の特徴Aを以下に説明する。
【0010】
(基本説明)
まず、パチンコ遊技機1の基本的な構成及び制御(一般的なパチンコ遊技機の構成及び制御でもある。)について説明する。
(【0011】以降は省略されています)
この特許をJ-PlatPat(特許庁公式サイト)で参照する
関連特許
株式会社三共
遊技機
6日前
株式会社三共
遊技機
1か月前
株式会社三共
遊技機
1か月前
株式会社三共
遊技機
1か月前
株式会社三共
遊技機
1か月前
株式会社三共
遊技機
1か月前
株式会社三共
遊技機
1か月前
株式会社三共
遊技機
1か月前
株式会社三共
遊技機
1か月前
株式会社三共
遊技機
1か月前
株式会社三共
遊技機
1か月前
株式会社三共
遊技機
1か月前
株式会社三共
遊技機
1か月前
株式会社三共
遊技機
1か月前
株式会社三共
遊技機
1か月前
株式会社三共
遊技機
1か月前
株式会社三共
遊技機
1か月前
株式会社三共
遊技機
1か月前
株式会社三共
遊技機
1か月前
株式会社三共
遊技機
1か月前
株式会社三共
遊技機
1か月前
株式会社三共
遊技機
1か月前
株式会社三共
遊技機
1か月前
株式会社三共
遊技機
1か月前
株式会社三共
遊技機
1か月前
株式会社三共
遊技機
1か月前
株式会社三共
遊技機
1か月前
株式会社三共
遊技機
1か月前
株式会社三共
遊技機
1か月前
株式会社三共
遊技機
1か月前
株式会社三共
遊技機
1か月前
株式会社三共
遊技機
1か月前
株式会社三共
遊技機
1か月前
株式会社三共
遊技機
1か月前
株式会社三共
遊技機
1か月前
株式会社三共
遊技機
1か月前
続きを見る
他の特許を見る