TOP
|
特許
|
意匠
|
商標
特許ウォッチ
Twitter
他の特許を見る
公開番号
2025105269
公報種別
公開特許公報(A)
公開日
2025-07-10
出願番号
2023223708
出願日
2023-12-28
発明の名称
解錠システム
出願人
神田工業株式会社
代理人
個人
,
個人
主分類
E05B
49/00 20060101AFI20250703BHJP(錠;鍵;窓または戸の付属品;金庫)
要約
【課題】電子錠を解錠するための携帯端末の位置情報を精度よく測定することにより高精度で正確な自動解錠システムを提供する。
【解決手段】携帯端末と電子扉によって構成され、超広帯域で無線通信する解錠システムであり、携帯端末は、携帯側基本アンテナと携帯鍵ID、秘匿データおよび制御部を有し、電子扉の解錠装置は、基本アンテナと1以上の付帯アンテナおよび制御部を有する。携帯端末は、所定時間間隔で無線信号を送信し、受信した解錠装置は、無線信号の受信時刻から得られる端末距離データと、2つのアンテナ間の受信位相差から得られる相対角度を測定し、携帯端末の解錠装置からの相対位置情報を取得し、動きベクトル、予測座標情報、定義された解錠領域を参照して電子扉の解錠タイミングを確定する。
【選択図】図1
特許請求の範囲
【請求項1】
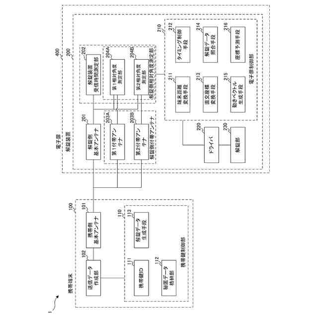
利用者が携帯する携帯端末と、その近傍に解錠装置が設置された電子扉と、で構成され、互いに超広帯域で無線通信する解錠システムであって、
前記携帯端末と前記電子扉間の無線信号は、受信時間測定用の複数次の高調波成分を有する第1基準信号と、基本波成分で構成された第2基準信号を含み、
前記携帯端末は、
前記無線信号を送受信する携帯側基本アンテナと、
前記携帯側基本アンテナを介して前記第1基準信号と前記第2基準信号と前記第1基準信号の送信時間情報と携帯鍵ID、および解錠データを含む送信データを生成する送信データ作成部と、
解錠に関する秘匿データを格納する秘匿データ格納部と、
前記秘匿データおよび前記携帯鍵IDより解錠用のデータを生成する解錠データ生成手段と、を備える携帯鍵制御部と、を有し、
前記解錠装置は、
前記無線信号を送受信する解錠側基本アンテナと、
前記無線信号を受信する1個以上の解錠側付帯アンテナと、
前記解錠側基本アンテナを介して受信した前記第1基準信号の受信時間を測定する解錠装置受信時間測定部と、
前記解錠側基本アンテナおよび前記解錠側付帯アンテナを介して受信した前記第2基準信号の位相を測定し、前記解錠側基本アンテナと前記解錠側付帯アンテナの受信位相差より、前記携帯端末と前記解錠装置との相対角度を求める解錠側相対角度測定部と、
前記電子扉の解錠または施錠をおこなう解錠部と、
前記解錠部を駆動するドライバと、
前記第1基準信号の送信時間情報と前記解錠装置受信時間測定部に保存された前記第1基準信号の受信時間情報から前記携帯端末と前記解錠装置との端末距離データを算出する端末距離変換手段と、
前記相対角度検出部で検出された相対角度と前記端末距離データとで示される極座標を前記解錠装置を基準とする解錠直交座標に変換する直交座標変換手段と、
前記解錠直交座標を参照して前記ドライバの駆動タイミングを制御するタイミング制御手段と、
前記携帯端末から無線送信された前記携帯鍵IDと前記解錠データから生成されるデータを照合する解錠データ照合手段と、を備える電子扉制御部と、
を有することを特徴とする解錠システム。
続きを表示(約 1,900 文字)
【請求項2】
前記電子扉制御部は、
前記携帯端末の現時点における現解錠直交座標と前記現解錠直交座標の1つ前にサンプリングした前解錠直交座標から動きベクトルを算出する動きベクトル生成手段をさらに備え、
前記タイミング制御手段は、前記現解錠直交座標と前記動きベクトルを参照して前記ドライバの駆動タイミングを制御する
ことを特徴とする請求項1に記載の解錠システム。
【請求項3】
前記電子扉制御部は、
前記動きベクトルと前記現解錠直交座標から所定時間経過後の予測直交座標を求める座標予測手段をさらに備え、
前記タイミング制御手段は、前記現解錠直交座標と前記予測直交座標を参照して前記ドライバの駆動タイミングを制御する
ことを特徴とする請求項2に記載の解錠システム。
【請求項4】
前記電子扉は、
前記解錠装置と付帯装置を有し、
前記解錠装置は、
前記電子扉の外側に設けられ、
前記電子扉制御部に前記付帯装置から送信された前記携帯端末と前記付帯装置との距離を示す付帯距離データを受信するデータ受信部と、
前記付帯距離データと前記端末距離データを参照して前記携帯端末を携帯する利用者が前記電子扉の内外の何れに位置しているかを判定する内外判定手段と、
をさらに有し、
前記タイミング制御手段は、
前記端末距離データと前記内外判定手段での内外判定結果を参照して前記ドライバの駆動タイミングを制御し、
前記付帯装置は、
前記電子扉の内側に設けられ、
前記無線信号を受信する付帯側基本アンテナと、
前記付帯側基本アンテナを介して受信した前記第1基準信号の受信時間を測定する付帯装置受信時間測定部と、
前記第1基準信号の前記送信時間情報と前記付帯装置受信時間測定部で測定された受信時間情報を前記携帯端末と前記付帯装置との距離として付帯距離データに変換する付帯距離変換手段と、
前記付帯距離データを前記解錠装置に送信する距離データ送信部と、
を有することを特徴とする請求項1~請求項3のいずれか一項に記載の解錠システム。
【請求項5】
前記解錠装置は、
前記電子扉に設けられた前記携帯側基本アンテナを基準とする前記付帯側基本アンテナの直交座標を直交座標差分データとして予め登録したアンテナ座標差分登録手段をさらに有し、
前記内外判定手段は、前記端末距離データと前記付帯距離データと前記直交座標差分データを参照して前記携帯端末を携帯する利用者が前記電子扉の内外の何れに位置しているかを判定することを特徴とする請求項4に記載の解錠システム。
【請求項6】
前記付帯装置は、
前記無線信号を受信する1個以上の付帯側付帯アンテナと、
前記付帯側基本アンテナおよび前記付帯側付帯アンテナを介して受信した前記第2基準信号の位相を測定し、前記付帯側基本アンテナと前記付帯側付帯アンテナの受信位相差より、前記携帯端末と前記付帯装置との付帯側相対角度を求める付帯側相対角度測定部と、
前記付帯側相対角度と前記付帯距離データとで示される極座標を、前記付帯装置を基準とする付帯直交座標に変換する付帯直交座標変換手段と、
前記付帯直交座標データを前記解錠装置に送信する距離データ送信部と、を有し、
前記データ受信部は前記距離データ送信部から送信された前記付帯直交座標を受信し、
前記内外判定手段は、前記解錠直交座標と、前記付帯直交座標を参照して、前記携帯端末を携帯する利用者が前記電子扉の内外の何れに位置しているかを判定し、
前記タイミング制御手段は、前記解錠直交座標と、前記付帯直交座標を参照して前記解錠部を駆動するドライバの駆動タイミングを制御することを特徴とする請求項5に記載の解錠システム。
【請求項7】
前記携帯端末は、
前記解錠装置と前記付帯装置に対し、ブロードキャスト送信をおこなうブロードキャスト機能を有し、
前記解錠装置および前記付帯装置は、前記ブロードキャスト機能で送信された前記携帯端末からの無線信号を受信後、前記携帯端末へ送信する前記第1基準信号に対し、前記解錠装置と前記付帯装置の送信タイミングが重複しないように設定した遅延時間で応答信号を送信する遅延送信手段を有することを特徴とした請求項4に記載の解錠システム。
発明の詳細な説明
【技術分野】
【0001】
本発明は、無線通信による位置測位を利用して自動的に扉の解錠を行う解錠システムに関するものである。
続きを表示(約 2,600 文字)
【背景技術】
【0002】
近年、鍵を挿入することなく住宅やオフィスなどのドアを解錠/施錠できる電子錠システムのニーズが高まっている。この電子錠システムでは、無線通信を利用して自動でドアの施錠/解錠を行うものが提案されている。
【先行技術文献】
【特許文献】
【0003】
特開2023-137266号公報
特開2023-103511号公報
【発明の概要】
【発明が解決しようとする課題】
【0004】
特許文献1に記載の電子錠システムでは、電子錠から出力されるビーコン信号を受信した際の電界強度により電子キーとの距離を推定し、その距離に応じて電子錠の施錠/解錠を行っている。しかしながら、このような電界強度の違いで距離を推定する方法では、電子錠に対する電子キーの推定距離の精度が低いという課題があった。
【0005】
また、特許文献2に記載の電子錠システムは、Bluetooth(登録商標)によるペアリングを利用して電子キーの近接接近を検知し、ペアリングの有無に応じて電子錠の施錠/解錠を行うものである。しかしながら、Bluetooth(登録商標)のペアリングを利用して電子キーとの距離を推定する方法では、電界強度の違いで距離を推定する方法と同様に、推定距離の精度が低いという課題があった。このように、従来の電子錠システムは、解錠するための電子キーの電子錠に対する推定距離の精度が低く、例えば、集合住宅の上の階層や下の階層に電子キーの所持者がいた場合でも解錠してしまう誤解錠が発生する虞があった。
【0006】
本発明は、上述の問題に鑑みてなされたものであり、電子錠を解錠するための携帯端末の位置情報を精度よく測定することにより高精度で正確な自動解錠システムを提供することを目的としている。
【課題を解決するための手段】
【0007】
本発明の第1の態様は、利用者が携帯する携帯端末と、その近傍に解錠装置が設置された電子扉と、で構成され、互いに超広帯域で無線通信する解錠システムであって、前記携帯端末と前記電子扉間の無線信号は、受信時間測定用の複数次の高調波成分を有する第1基準信号と、基本波成分で構成された第2基準信号を含み、前記携帯端末は、前記無線信号を送受信する携帯側基本アンテナと、前記携帯側基本アンテナを介して前記第1基準信号と前記第2基準信号と前記第1基準信号の送信時間情報と携帯鍵ID、および解錠データを含む送信データを生成する送信データ作成部と、解錠に関する秘匿データを格納する秘匿データ格納部と、前記秘匿データおよび前記携帯鍵IDより解錠用のデータを生成する解錠データ生成手段と、を備える携帯鍵制御部と、を有し、前記解錠装置は、前記無線信号を送受信する解錠側基本アンテナと、前記無線信号を受信する1個以上の解錠側付帯アンテナと、前記解錠側基本アンテナを介して受信した前記第1基準信号の受信時間を測定する解錠装置受信時間測定部と、前記解錠側基本アンテナおよび前記解錠側付帯アンテナを介して受信した前記第2基準信号の位相を測定し、前記解錠側基本アンテナと前記解錠側付帯アンテナの受信位相差より、前記携帯端末と前記解錠装置との相対角度を求める解錠側相対角度測定部と、前記電子扉の解錠または施錠をおこなう解錠部と、前記解錠部を駆動するドライバと、前記第1基準信号の送信時間情報と前記解錠装置受信時間測定部に保存された前記第1基準信号の受信時間情報から前記携帯端末と前記解錠装置との端末距離データを算出する端末距離変換手段と、前記相対角度検出部で検出された相対角度と前記端末距離データとで示される極座標を前記解錠装置を基準とする解錠直交座標に変換する直交座標変換手段と、前記解錠直交座標を参照して前記ドライバの駆動タイミングを制御するタイミング制御手段と、前記携帯端末から無線送信された前記携帯鍵IDと前記解錠データから生成されるデータを照合する解錠データ照合手段と、を備える電子扉制御部と、を有する、ものである。
【0008】
本発明の第2の態様は、前記電子扉制御部は、前記携帯端末の現時点における現解錠直交座標と前記現解錠直交座標の1つ前にサンプリングした前解錠直交座標から動きベクトルを算出する動きベクトル生成手段をさらに備え、前記タイミング制御手段は、前記現解錠直交座標と前記動きベクトルを参照して前記ドライバの駆動タイミングを制御することを特徴とする、ものである。
【0009】
本発明の第3の態様は、前記電子扉制御部は、前記動きベクトルと前記現解錠直交座標から所定時間経過後の予測直交座標を求める座標予測手段をさらに備え、前記タイミング制御手段は、前記現解錠直交座標と前記予測直交座標を参照して前記ドライバの駆動タイミングを制御することを特徴とする、ものである。
【0010】
本発明の第4の態様は、前記電子扉は、前記解錠装置と付帯装置を有し、前記解錠装置は、前記電子扉の外側に設けられ、前記電子扉制御部に前記付帯装置から送信された前記携帯端末と前記付帯装置との距離を示す付帯距離データを受信するデータ受信部と、前記付帯距離データと前記端末距離データを参照して前記携帯端末を携帯する利用者が前記電子扉の内外の何れに位置しているかを判定する内外判定手段と、をさらに有し、前記タイミング制御手段は、前記端末距離データと前記内外判定手段での内外判定結果を参照して前記ドライバの駆動タイミングを制御し、前記付帯装置は、前記電子扉の内側に設けられ、前記無線信号を受信する付帯側基本アンテナと、前記付帯側基本アンテナを介して受信した前記第1基準信号の受信時間を測定する付帯装置受信時間測定部と、前記第1基準信号の前記送信時間情報と前記付帯装置受信時間測定部で測定された受信時間情報を前記携帯端末と前記付帯装置との距離として付帯距離データに変換する付帯距離変換手段と、前記付帯距離データを前記解錠装置に送信する距離データ送信部と、を有することを特徴とする、ものである。
(【0011】以降は省略されています)
この特許をJ-PlatPat(特許庁公式サイト)で参照する
関連特許
他の特許を見る