TOP
|
特許
|
意匠
|
商標
特許ウォッチ
Twitter
他の特許を見る
10個以上の画像は省略されています。
公開番号
2025109963
公報種別
公開特許公報(A)
公開日
2025-07-25
出願番号
2025085678,2021154204
出願日
2025-05-22,2021-09-22
発明の名称
雄コネクタ及びコネクタ複合体
出願人
住友電装株式会社
代理人
弁理士法人暁合同特許事務所
主分類
H01R
13/631 20060101AFI20250717BHJP(基本的電気素子)
要約
【課題】雌コネクタに容易に嵌合可能な雄コネクタ等を提供する。
【解決手段】雄コネクタ10は、前方に突出し、雌コネクタ20に開口形成された嵌合筒部23に突出端13A側から挿嵌される筒形のフード部13を有する。フード部13には、環状をなす突出端13Aより前方に突出する少なくとも1つの誘導突部31が設けられている。
【選択図】図3
特許請求の範囲
【請求項1】
前方に突出し、雌コネクタに開口形成された嵌合筒部に突出端側から挿嵌される筒形のフード部を有する雄コネクタであって、
前記フード部に、環状をなす前記突出端より前方に突出する少なくとも1つの誘導突部が設けられている、雄コネクタ。
続きを表示(約 670 文字)
【請求項2】
前記フード部の外周面に、当該フード部の突出方向に延在するリブが突設されており、
前記誘導突部は、前記リブの前端に形成されている、請求項1に記載の雄コネクタ。
【請求項3】
前記フード部は、所定の壁厚で形成された所定厚部と、前記所定厚部よりも小さな壁厚で形成された薄肉部と、を有し、
前記リブは、前記薄肉部に隣り合う位置に配されている、請求項2に記載の雄コネクタ。
【請求項4】
請求項1から請求項3のいずれか一項に記載の雄コネクタと、
前記フード部が挿嵌される筒形の嵌合筒部を有する雌コネクタと、を備え、
前記嵌合筒部の内周面に、前記雄コネクタの前記誘導突部を受容する凹部が設けられている、コネクタ複合体。
【請求項5】
請求項2又は請求項3に記載の雄コネクタと、
前記フード部が挿嵌される筒形の嵌合筒部を有する雌コネクタと、を備え、
前記嵌合筒部の内周面に、前記雄コネクタの前記誘導突部を受容する凹部と、前記リブを受容する溝部と、が設けられている、コネクタ複合体。
【請求項6】
前記誘導突部の先端及び前記嵌合筒部の開口端に、テーパ面が形成されている、請求項5に記載のコネクタ複合体。
【請求項7】
前記雌コネクタは、前記嵌合筒部の内部に収容される端子を抜け止めする撓み変形可能なランスを有し、
前記凹部は、前記ランスの近傍に配されている、請求項5又は請求項6に記載のコネクタ複合体。
発明の詳細な説明
【技術分野】
【0001】
本明細書に開示する技術は、雄コネクタ及びコネクタ複合体に関する。
続きを表示(約 1,600 文字)
【背景技術】
【0002】
従来、下記特許文献1に記載された電気コネクタが知られている。この電気コネクタは、一方に突出する嵌合部(フード部)を有するプラグコネクタ(雄コネクタ)と、嵌合部を受容する嵌合口(嵌合筒部)が形成されたレセプタクルコネクタ(雌コネクタ)と、を備える。プラグコネクタの嵌合部は、突出端側からレセプタクルコネクタの嵌合口に挿入され、嵌合される。
【先行技術文献】
【特許文献】
【0003】
特開2011-198593号公報
【発明の概要】
【発明が解決しようとする課題】
【0004】
特許文献1のような電気コネクタでは、コネクタが小型であったり、作業スペースが十分にとれなかったりすると、嵌合部を嵌合口に挿入するのに時間がかかってしまうことがある。このような事態を回避するために、例えば雌コネクタにフレームが取り付けられるようなコネクタ複合体では、テーパ面を形成した前壁をフレームに設けて雌コネクタの嵌合筒部前方に配置し、このフレームの前壁によって、雄コネクタのフード部を雌コネクタの嵌合筒部に誘導する構成が考えられる。しかしながら、フード部や嵌合筒部がこれらの内部に収容される端子の外形に沿った形状に形成されているコネクタを上記のように構成すると、外形が異なる端子を使用する場合に、雄コネクタ及び雌コネクタのみならず、前壁を有するフレームの形状変更も必要になってしまう。このため、別部材を用いることなく、フード部を雌コネクタ嵌合筒部に容易に誘導可能な雄コネクタが希求されてきた。
【0005】
本明細書に開示する技術は、上記事情に基づいて完成されたものであって、雌コネクタとの嵌合操作が容易な雄コネクタ、及びこれを備えるコネクタ複合体を提供することを目的とする。
【課題を解決するための手段】
【0006】
本明細書が開示する雄コネクタは、前方に突出し、雌コネクタに開口形成された嵌合筒部に突出端側から挿嵌される筒形のフード部を有する雄コネクタであって、前記フード部に、環状をなす前記突出端より前方に突出する少なくとも1つの誘導突部が形成されている。
【0007】
また、本明細書が開示するコネクタ複合体は、本開示に係る雄コネクタと、前記フード部が挿嵌される筒形の嵌合筒部を有する雌コネクタと、を備え、前記嵌合筒部の内周面に、前記雄コネクタの前記誘導突部を受容する凹部が設けられている。
【発明の効果】
【0008】
本開示によれば、雌コネクタとの嵌合操作が容易な雄コネクタ及びこれを備えるコネクタ複合体を提供できる。
【図面の簡単な説明】
【0009】
図1は、実施形態に係るコネクタ複合体(嵌合状態)の外観を示した斜視図である。
図2は、コネクタ複合体(嵌合状態)の内部の様子を示した側断面図である。
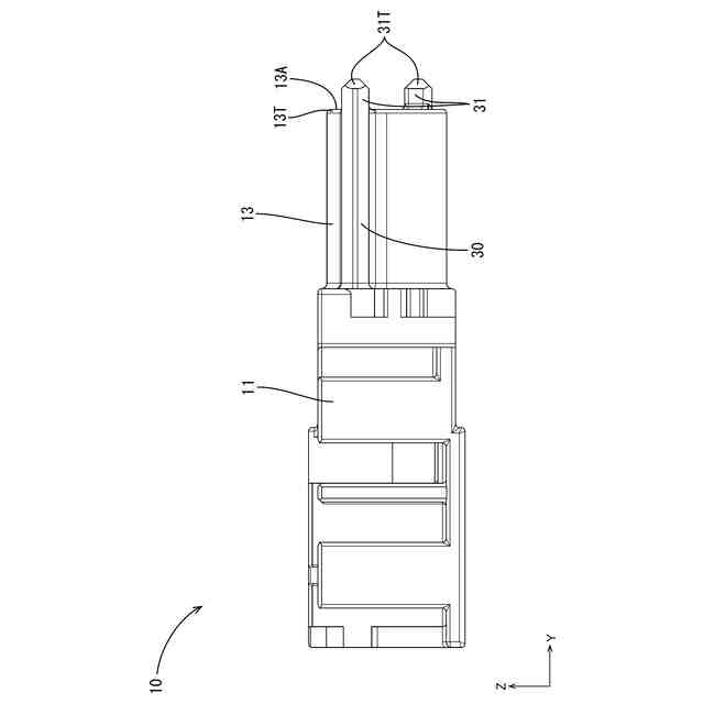
図3は、雄コネクタの斜視図である。
図4は、雄コネクタの側面図である。
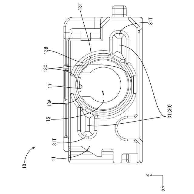
図5は、雄コネクタの前面(嵌合面)図である。
図6は、雌コネクタの斜視図である。
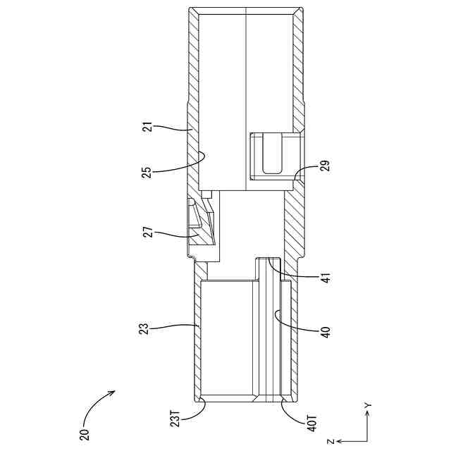
図7は、雌コネクタの側断面図である。
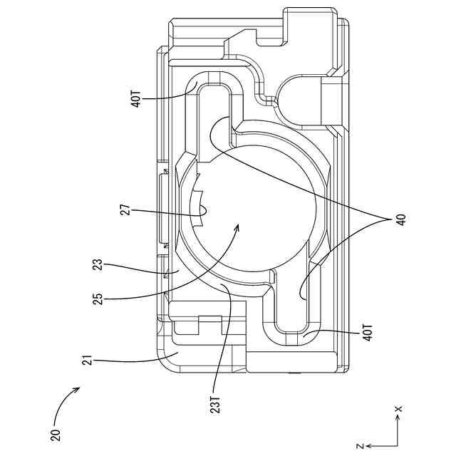
図8は、雌コネクタの前面(嵌合面)図である。
図9Aは、嵌合途中の雄コネクタ及び雌コネクタの様子を示した側断面図である。
図9Bは、図9Aより進んだ嵌合途中の雄コネクタ及び雌コネクタの様子を示した側断面図である。
図9Cは、嵌合完了時の雄コネクタ及び雌コネクタの様子を示した側断面図である。
【発明を実施するための形態】
【0010】
[本開示の実施形態の説明]
最初に本開示の実施態様が列挙され説明される。
(【0011】以降は省略されています)
この特許をJ-PlatPat(特許庁公式サイト)で参照する
関連特許
他の特許を見る