TOP特許意匠商標
特許ウォッチ Twitter
公開番号2025111210
公報種別公開特許公報(A)
公開日2025-07-30
出願番号2024005495
出願日2024-01-17
発明の名称シミュレーション装置及びプログラム
出願人国立大学法人東京科学大学
代理人個人,個人,個人,個人,個人,個人
主分類H04B 17/391 20150101AFI20250723BHJP(電気通信技術)
要約【課題】計算対象エリアにおいて物体の位置の変化に基づいて電波の伝搬経路が変動しても電波の伝搬特性を算出する処理を高速化する。
【解決手段】物体が存在する対象領域において、電波を放射する送信部と前記電波を受信する受信部との間を伝搬する前記電波の伝搬特性を算出する演算部2を備え、前記演算部は、前記対象領域における任意の第1位置から、前記第1位置と異なる第2位置に伝搬する前記電波の1つ以上の伝搬経路を算出し、前記伝搬経路に基づいて前記第2位置において受信される前記電波の第1伝搬特性を算出し、前記対象領域内に設定された複数の格子点の位置に前記第2位置を配置し、複数の前記第1伝搬特性を繰り返し算出する第1シミュレーションを実行し、前記第1シミュレーションの第1算出結果を記憶部に記憶する、シミュレーション装置1である。
【選択図】図1
特許請求の範囲【請求項1】
物体が存在する対象領域において、電波を放射する送信部と前記電波を受信する受信部との間を伝搬する前記電波の伝搬特性を算出する演算部を備え、
前記演算部は、
前記対象領域における任意の第1位置から、前記第1位置と異なる第2位置に伝搬する前記電波の1つ以上の伝搬経路を算出し、
前記伝搬経路に基づいて前記第2位置において受信される前記電波の第1伝搬特性を算出し、
前記対象領域内に設定された複数の格子点の位置に前記第2位置を配置し、複数の前記第1伝搬特性を繰り返し算出する第1シミュレーションを実行し、
前記第1シミュレーションの第1算出結果を記憶部に記憶する、
シミュレーション装置。
続きを表示(約 1,900 文字)【請求項2】
前記演算部は、
前記対象領域内において、前記第1位置に配置された送信部と、前記第2位置に配置された前記物体と、任意の第3位置に配置された前記受信部との配置関係に基づいて、前記送信部と前記受信部との間を伝搬する前記電波の第2伝搬特性を算出する第2シミュレーションを実行し、
前記第2シミュレーションにおいて前記演算部は、
予め算出された前記第1算出結果を用いて、前記物体の影響に基づく前記送信部と前記物体との間の前記伝搬経路を算出し、
前記影響を加算し、前記送信部と前記受信部との間の前記伝搬経路を算出し、算出結果に基づいて前記第2伝搬特性を算出し、
前記第2シミュレーションの第2算出結果を表示部に出力する、
請求項1に記載のシミュレーション装置。
【請求項3】
前記演算部は、
複数の前記格子点の中から前記物体の形状に応じて選択した1つ以上の前記格子点を含む格子点群に前記物体を配置し、複数の前記第2伝搬特性を算出する、
請求項2に記載のシミュレーション装置。
【請求項4】
前記演算部は、
前記第2位置に前記物体が配置された状態において、前記第2位置における前記第1算出結果を参照し、
前記伝搬経路のうち前記物体により遮蔽される前記伝搬経路の存在により発生する遮蔽損失を算出し、前記遮蔽損失の算出結果に基づいて前記第2伝搬特性を算出する、
請求項3に記載のシミュレーション装置。
【請求項5】
前記演算部は、
前記第2位置に前記物体が配置された状態において、前記第2位置における前記第1算出結果を参照し、
前記伝搬経路のうち前記物体に前記電波が反射して反射波が生じると共に、前記受信部に前記反射波が到達する場合、前記反射波を加算して前記第2伝搬特性を算出する、
請求項3に記載のシミュレーション装置。
【請求項6】
前記演算部は、
前記第2算出結果を参照し、前記物体が取り除かれた場合、前記物体が取り除かれる前の状態に比して前記伝搬経路が増加した場合、増加した前記伝搬経路を加算して前記第2伝搬特性を算出する、
請求項3に記載のシミュレーション装置。
【請求項7】
前記演算部は、
前記格子点群を移動し、複数の前記第2伝搬特性を算出し、
所定の方向に沿った複数の前記第2伝搬特性に基づいて、移動する前記物体に基づく前記第2伝搬特性を算出する、
請求項3に記載のシミュレーション装置。
【請求項8】
前記演算部は、
前記物体の存在に基づいて変化する前記電波の反射特性と、回折特性と、透過特性とのうち1つ以上の特性に基づいて前記第2伝搬特性を算出する、
請求項2に記載のシミュレーション装置。
【請求項9】
物体が存在する対象領域において、電波を放射する送信部と前記電波を受信する受信部との間を伝搬する前記電波の伝搬特性を算出するシミュレーション方法を実行するためのシミュレーション装置にインストールされたプログラムであって、コンピュータに、
前記対象領域における任意の第1位置から、前記第1位置と異なる第2位置に伝搬する前記電波の1つ以上の伝搬経路を算出させ、
前記伝搬経路に基づいて前記第2位置において受信される前記電波の第1伝搬特性を算出させ、
前記対象領域内に設定された複数の格子点の位置に前記第2位置を配置し、複数の前記第1伝搬特性を繰り返し算出する第1シミュレーションを実行させ、
前記第1シミュレーションの第1算出結果を記憶部に記憶させる、
プログラム。
【請求項10】
前記対象領域内において、前記第1位置に配置された送信部と、前記第2位置に配置された前記物体と、任意の第3位置に配置された前記受信部との配置関係に基づいて、予め算出された前記第1算出結果を用いて、前記物体の影響に基づく前記送信部と前記物体との間の前記伝搬経路を算出させ、
前記影響を加算し、前記送信部と前記受信部との間の前記伝搬経路を算出し、算出結果に基づいて前記送信部と前記受信部との間を伝搬する前記電波の第2伝搬特性を算出する第2シミュレーションを実行させ、
前記第2シミュレーションの第2算出結果を表示部に出力させる、
請求項9に記載のプログラム。

発明の詳細な説明【技術分野】
【0001】
本発明は、電波の伝搬状態を演算可能とするシミュレーション装置及びプログラムに関する。
続きを表示(約 2,600 文字)【背景技術】
【0002】
無線通信ネットワークは、電波の伝搬経路において電波が回折、反射、干渉、透過等の影響を受ける事で、無線通信の品質が変動する。従来、無線ネットワークの通信エリアにおける品質を予測する手法として、レイトレーシング法等の電波伝搬シミュレーション手法が知られている(例えば、非特許文献1、及び非特許文献2参照)。レイトレーシング法とは、電波を送受信する2つのノード間の電波の伝搬特性をシミュレーションにより算出する手法である。
【0003】
レイトレーシング法では、まず通信エリアに関する3次元環境モデルが計算機に入力される。上記3次元モデルは既存の地理情報システムや建物システムのデータを利用、もしくは計算機により作成される。次に、3次元環境モデル内に配置された送受信点の情報を用いて、送受信点間における電波(レイ)の伝搬経路が計算される。レイは、環境中に存在する物体により反射・回折・透過の影響を受ける。シミュレーションにおいて正確な電波の伝搬チャネル情報を算出するためには、電波の伝搬経路に存在する物体の正確な位置や形状を計算機に入力する必要がある。
【先行技術文献】
【非特許文献】
【0004】
F. Quatresooz, S. Demey and C. Oestges, “Tracking of Interaction Points for Improved Dynamic Ray Tracing,” in IEEE Transactions on Vehicular Technology, vol. 70, no. 7, pp. 6291-6301, July 2021.
M. Jacob, S. Priebe, A. Maltsev, A. Lomayev, V. Erceg, and T. Krner, “A ray tracing based stochastic human blockage model for the IEEE 802.11ad 60 GHz channel model,” in Proceedings of the 5th European Conference on Antennas and Propagation (EUCAP), 2011, pp. 3084-3088.
【発明の概要】
【発明が解決しようとする課題】
【0005】
移動する物体が存在するエリアにレイトレーシング法を適用する場合、物体の移動状態に応じて3次元環境モデルを構築し直し、電波の伝搬に関するシミュレーションを繰り返し実施する必要がある。例えば、歩行者や車両等1つの場所に留まらない物体が存在するエリアにレイトレーシング法を適用し、これらの移動する物体の影響を加味した評価を行うためには、電波の伝搬に関するシミュレーションを繰り返す必要がある。そのため、既存のシミュレーション手法に基づいて移動する物体が存在するエリアの電波の伝搬特性を算出する場合、計算量が増大すると共に、計算の過程が煩雑化するという課題がある。
【0006】
本発明は、計算対象エリアにおいて物体の位置の変化に基づいて電波の伝搬経路が変動しても電波の伝搬特性を算出する処理を高速化することができるシミュレーション装置及びプログラムを提供することを目的とする。
【課題を解決するための手段】
【0007】
本発明の一態様は、物体が存在する対象領域において、電波を放射する送信部と前記電波を受信する受信部との間を伝搬する前記電波の伝搬特性を算出する演算部を備え、前記演算部は、前記対象領域における任意の第1位置から、前記第1位置と異なる第2位置に伝搬する前記電波の1つ以上の伝搬経路を算出し、前記伝搬経路に基づいて前記第2位置において受信される前記電波の第1伝搬特性を算出し、前記対象領域内に設定された複数の格子点の位置に前記第2位置を配置し、複数の前記第1伝搬特性を繰り返し算出する第1シミュレーションを実行し、前記第1シミュレーションの第1算出結果を記憶部に記憶する、シミュレーション装置である。
【発明の効果】
【0008】
本発明によれば、実際の通信エリアにおける無線通信システムの性能評価を行うためのシミュレーションに要する計算量や計算時間を大幅に短縮することができる。
【図面の簡単な説明】
【0009】
実施形態に係るシミュレーション装置の構成を示すブロック図である。
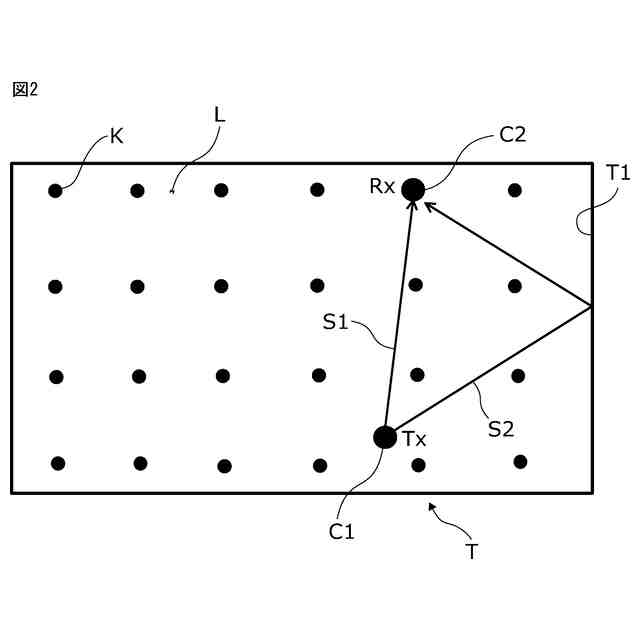
演算対象となる対象領域の構成を概略的に説明する図である。
第1シミュレーションを概略的に説明する図である。
電波のナイフエッジ回折について概略的に説明する図である。
電波の反射が生じる第2シミュレーションの演算対象を示す図である。
電波の反射が生じる第2シミュレーションの演算方法を示す図である。
電波の反射が生じる第2シミュレーションの演算方法を示す図である。
物体が取り除かれる場合の第2シミュレーションの演算対象を示す図である。
物体が取り除かれる場合の第2シミュレーションの演算方法を示す図である。
シミュレーション方法の処理の流れを示すフローチャートである。
【発明を実施するための形態】
【0010】
図1に示されるように、シミュレーション装置1は、例えば、パーソナルコンピュータ等の情報処理装置により実現される。シミュレーション装置1は、通信エリアにおける無線通信システムの性能評価を行うためのシミュレーションを実行するための装置である。シミュレーション装置1は、演算処理を実行する演算部2を備えている。シミュレーション装置1は、演算に必要なデータ及びプログラムが記憶された記憶部3を備えている。演算部は、例えば、CPU(Central Processing Unit)などのハードウェアプロセッサが記憶部3に記憶されたプログラムを実行するように構成されている。
(【0011】以降は省略されています)

この特許をJ-PlatPat(特許庁公式サイト)で参照する

関連特許