TOP
|
特許
|
意匠
|
商標
特許ウォッチ
Twitter
他の特許を見る
10個以上の画像は省略されています。
公開番号
2025123824
公報種別
公開特許公報(A)
公開日
2025-08-25
出願番号
2024019529
出願日
2024-02-13
発明の名称
容器処理システム
出願人
澁谷工業株式会社
代理人
個人
,
個人
主分類
B65B
43/46 20060101AFI20250818BHJP(運搬;包装;貯蔵;薄板状または線条材料の取扱い)
要約
【課題】パウチとボトルを1つの容器処理システムで処理する。
【解決手段】容器処理システム10は、パウチP又はボトルBを保持するパウチ・ボトル兼用グリッパ15と、これを移動する搬送コンベヤ12と、パウチ・ボトル兼用グリッパ15にパウチPを供給するパウチ供給コンベヤ14と、パウチ・ボトル兼用グリッパ15にボトルBを供給するボトル供給コンベヤ26と、移動されるパウチP又はボトルBの開口部に内容物を充填する充填機30と、充填機30の下流に設けられるパウチ用のシール装置34と、充填機30の下流に設けられるボトル用のキャッパ32と、シール装置34の下流に配置されたパウチ排出コンベヤ16と、キャッパ32の下流に配置されたボトル排出コンベヤ36とを備える。充填機30の充填ノズルはパウチP又はボトルBの開口部に合わせて搬送コンベヤ12の移動方向と交差する方向に移動可能である。
【選択図】図1
特許請求の範囲
【請求項1】
パウチもしくはボトルのどちらかを保持する保持手段と、
前記保持手段を無端状の循環経路に沿って移動させる移動手段と、
前記循環経路に設けられて前記保持手段にパウチを供給するパウチ供給手段と、
前記循環経路に設けられて前記保持手段にボトルを供給するボトル供給手段と、
前記保持手段に保持されて移動されるパウチもしくはボトルの開口部に内容物を充填する充填ノズルを有する充填手段と、
前記充填手段の下流に設けられ、前記保持手段に保持されて移動されるパウチの開口部をシールするシール手段と、
前記充填手段の下流に設けられ、前記保持手段に保持されて移動されるボトルの開口部に閉鎖部材を装着する閉鎖手段と、
前記シール手段の下流に配置されたパウチ排出手段と、
前記閉鎖手段の下流に配置されたボトル排出手段とを備え、
前記充填ノズルを循環経路の移動方向と交差する方向に移動可能に設け、
前記保持手段によって保持されるパウチもしくはボトルの開口部に合わせて前記充填ノズルの位置を調整して充填を行う
ことを特徴とする容器処理システム。
続きを表示(約 290 文字)
【請求項2】
前記ボトル供給手段から前記ボトル排出手段の区間に配置され、前記保持手段によって移動されるボトルの底部を支持する昇降可能な支持プレートと、
前記支持プレートを昇降させる昇降手段とを設けたことを特徴とする請求項1に記載の容器処理システム。
【請求項3】
前記グリッパがボトルを保持して移動する際には、前記支持プレートを当該ボトルの底部を支持する高さに位置させるとともに、
前記グリッパがパウチを保持して移動する際には、前記支持プレートを当該パウチの底部よりも下方に位置させることを特徴とする請求項2に記載の容器処理システム。
発明の詳細な説明
【技術分野】
【0001】
本発明は、容器を保持・搬送するための容器処理システムに関する。
続きを表示(約 2,200 文字)
【背景技術】
【0002】
包装体(パウチ)を移送しながら内容物を充填し、シールする装置が知られている(特許文献1)。同装置では、包装体の開口部両端が回転テーブルの外周に沿って設けられたグリッパーユニットで把持される。グリッパーユニットに把持される包装体は回転テーブル外周に沿って移送され、その間に開口部を通して内容物が充填され、その後開口部がシールされる。一方、ボトルなどの容器に内容物を充填しキャッピングを行う装置では、グリッパによりボトルの胴部を両側から把持して搬送し、その間にボトルへの充填、キャッピングを行う装置が知られている(特許文献2)。
【先行技術文献】
【特許文献】
【0003】
特許第6971935号公報
特開第2022-187776号公報
【発明の概要】
【発明が解決しようとする課題】
【0004】
しかし、洗剤等のトイレタリー製品では同じ製品をボトルやパウチに詰めて販売することが多くなっている。特許文献1、2のような従来の装置ではパウチ用とボトル用それぞれ専用のグリッパを設けた別個の処理システムが必要となる。パウチおよびボトルで1つの処理システムを兼用しようとする場合、パウチ用グリッパとボトル用グリッパを交換することが考えられるが、交換作業に時間がかかるとともに、交換グリッパをストックするスペースが必要となる。
【0005】
本発明は、パウチとボトルを1つの容器処理システムで処理することを課題としている。
【課題を解決するための手段】
【0006】
本発明の第1の発明である容器処理システムは、パウチもしくはボトルのどちらかを保持する保持手段と、前記保持手段を無端状の循環経路に沿って移動させる移動手段と、前記循環経路に設けられて前記保持手段にパウチを供給するパウチ供給手段と、前記循環経路に設けられて前記保持手段にボトルを供給するボトル供給手段と、前記保持手段に保持されて移動されるパウチもしくはボトルの開口部に内容物を充填する充填ノズルを有する充填手段と、前記充填手段の下流に設けられ、前記保持手段に保持されて移動されるパウチの開口部をシールするシール手段と、前記充填手段の下流に設けられ、前記保持手段に保持されて移動されるボトルの開口部に閉鎖部材を装着する閉鎖手段と、前記シール手段の下流に配置されたパウチ排出手段と、前記閉鎖手段の下流に配置されたボトル排出手段とを備え、前記充填ノズルを循環経路の移動方向と交差する方向に移動可能に設け、前記保持手段によって保持されるパウチもしくはボトルの開口部に合わせて前記充填ノズルの位置を調整して充填を行うことを特徴としている。
【0007】
本発明の第2の発明である容器処理システムは、第1の発明において、前記ボトル供給手段から前記ボトル排出手段の区間に配置され、前記保持手段によって移動されるボトルの底部を支持する昇降可能な支持プレートと、前記支持プレートを昇降させる昇降手段とを設けたことを特徴としている。
【0008】
本発明の第3の発明である容器処理システムは、第2の発明において、前記グリッパがボトルを保持して移動する際には、前記支持プレートを当該ボトルの底部を支持する高さに位置させるとともに、前記グリッパがパウチを保持して移動する際には、前記支持プレートを当該パウチの底部よりも下方に位置させることを特徴としている。
【発明の効果】
【0009】
本発明によれば、パウチとボトルを1つの容器処理システムで処理することができる。
【図面の簡単な説明】
【0010】
本発明の一実施形態である容器処理システムの構成を示すパウチ処理モードにおける平面図である。
本発明の一実施形態である容器処理システムの構成を示すボトル処理モードにおける平面図である。
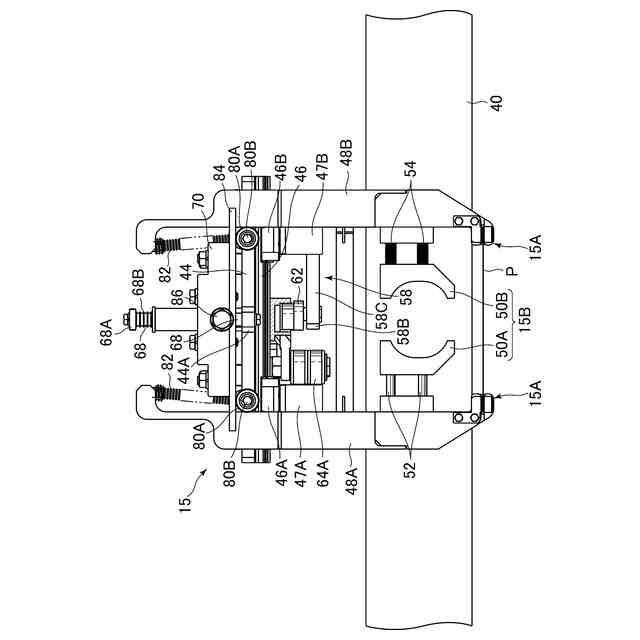
パウチを把持するパウチ・ボトル兼用グリッパの上面図である。
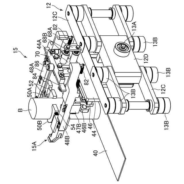
パウチを把持するパウチ・ボトル兼用グリッパの搬送コンベヤ外側からの上方斜視図である。
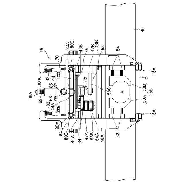
ボトルを把持するパウチ・ボトル兼用グリッパの上面図である。
ボトルを把持するパウチ・ボトル兼用グリッパの搬送コンベヤ外側からの上方斜視図である。
ボトルを把持するパウチ・ボトル兼用グリッパの搬送コンベヤ内側からの上方斜視図である。
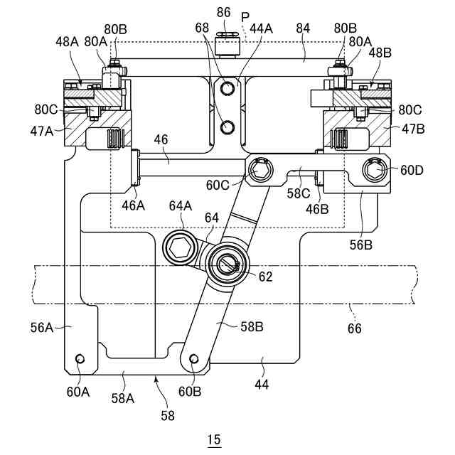
一対のアーム部材が狭められた状態のパウチ・ボトル兼用グリッパの正面図である。
一対のアーム部材が広げられた状態のパウチ・ボトル兼用グリッパの正面図である。
パウチグリッパの開閉動作を説明するパウチ・ボトル兼用グリッパの下面図である。
パウチ供給区間における搬送コンベヤの搬送方向に直交する方向に沿った容器処理システムの部分断面図である。
ボトル供給区間における搬送コンベヤの搬送方向に直交する方向に沿った容器処理システムの部分断面図である。
パウチ処理モードにおいて、充填機からパウチへ内容物が充填される様子を示す縦断面図である。
ボトル処理モードにおいて、充填機からボトルへ内容物が充填される様子を示す縦断面図である。
【発明を実施するための形態】
(【0011】以降は省略されています)
この特許をJ-PlatPat(特許庁公式サイト)で参照する
関連特許
他の特許を見る