TOP
|
特許
|
意匠
|
商標
特許ウォッチ
Twitter
他の特許を見る
公開番号
2025128668
公報種別
公開特許公報(A)
公開日
2025-09-03
出願番号
2024025460
出願日
2024-02-22
発明の名称
研削装置
出願人
株式会社ディスコ
代理人
弁理士法人愛宕綜合特許事務所
主分類
B24B
55/06 20060101AFI20250827BHJP(研削;研磨)
要約
【課題】スポンジ部の寿命の到来を一義的に管理することを可能とし、ウエーハの支持面を洗浄する効果を安定的に維持することができる研削装置を提供する。
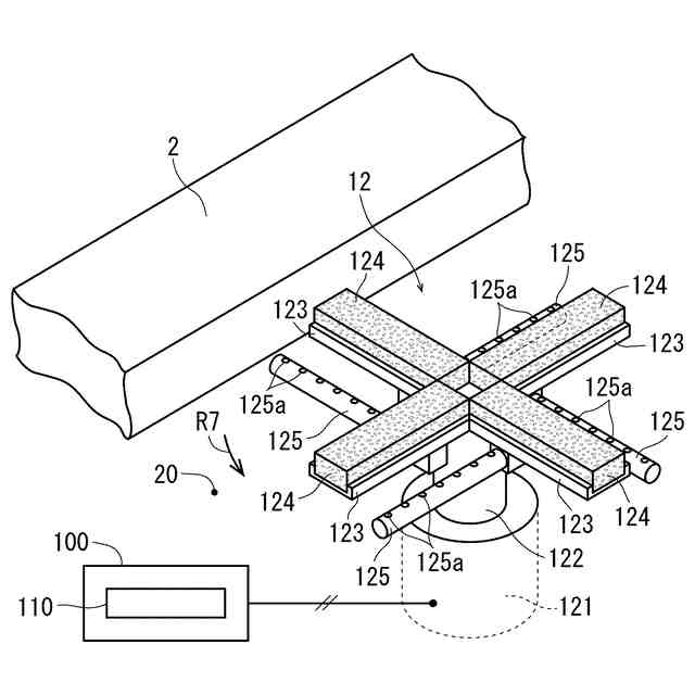
【解決手段】研削済みのウエーハWを保持してチャックテーブル6から搬出する搬出手段15と、搬出手段15によって搬出されたウエーハWの研削面を洗浄する研削面洗浄手段11と、チャックテーブル6と研削面洗浄手段11との間に配設され搬出手段15で保持した状態でチャックテーブル6に支持されたウエーハWの支持面を洗浄する支持面洗浄手段12と、を備え、支持面洗浄手段12は、ウエーハWの支持面に接触するスポンジ部124と、スポンジ部124を回転する駆動源121と、洗浄水Lを供給する洗浄水供給部125と、を含み、駆動源121の負荷電流値を検出して、スポンジ部124の寿命を管理する管理部110を備える。
【選択図】図2
特許請求の範囲
【請求項1】
ウエーハを支持するチャックテーブルと、該チャックテーブルに支持されたウエーハを研削する研削手段と、を備えた研削装置であって、
研削済みのウエーハを保持して該チャックテーブルから搬出する搬出手段と、該搬出手段によって搬出されたウエーハの研削面を洗浄する研削面洗浄手段と、
該チャックテーブルと該研削面洗浄手段との間に配設され該搬出手段で保持した状態でチャックテーブルに支持されたウエーハの支持面を洗浄する支持面洗浄手段と、を備え、
該支持面洗浄手段は、ウエーハの支持面に接触するスポンジ部と、該スポンジ部を回転する駆動源と、洗浄水を供給する洗浄水供給部と、を含み、
該駆動源の負荷電流値を検出して、該スポンジ部の寿命を管理する管理部を備える研削装置。
続きを表示(約 120 文字)
【請求項2】
該スポンジ部は、該駆動源から放射状に複数配設されている請求項1に記載の研削装置。
【請求項3】
該スポンジ部は、該駆動源の回転軸に対応する中心軸を備えた円柱状を呈している請求項1に記載の研削装置。
発明の詳細な説明
【技術分野】
【0001】
本発明は、ウエーハを支持するチャックテーブルと、該チャックテーブルに支持されたウエーハを研削する研削手段と、を備えた研削装置に関する。
続きを表示(約 1,800 文字)
【背景技術】
【0002】
IC、LSI等の複数のデバイスが分割予定ラインによって区画され表面に形成されたウエーハは、研削装置によって裏面が研削されて所定の厚みに形成された後、ダイシング装置、レーザー加工装置によって個々のデバイスチップに分割され、携帯電話、パソコン等の電気機器に利用される。
【0003】
研削装置は、ウエーハを吸引保持するチャックテーブルと、該チャックテーブルに吸引保持されたウエーハの上面を研削する研削砥石を環状に備えた研削ホイールを回転可能に装着した研削手段と、を含み構成されていて、ウエーハを高精度に所望の厚みに研削することができる。
【0004】
また、ウエーハの上面(裏面)を研削すると、コンタミ混じりの研削水がチャックテーブルの外周から浸入して、ウエーハがチャックテーブルによって支持された支持面を汚染するという問題があり、本出願人によってウエーハの支持面を洗浄する洗浄手段が配設された研削装置が提案されている(特許文献1を参照)。
【先行技術文献】
【特許文献】
【0005】
特開2019-054082号公報
【発明の概要】
【発明が解決しようとする課題】
【0006】
しかし、洗浄手段を構成するスポンジ部が経年劣化により摩耗したり、汚れたりすると洗浄効果が低下することから、新しいスポンジ部と交換する必要がある。しかし、交換時期を決定する指標が明確でなく、オペレータの感覚に頼っており、洗浄効果を安定して維持することが出来ないという問題がある。
【0007】
本発明は、上記事実に鑑みなされたものであり、その主たる技術課題は、スポンジ部の寿命の到来を一義的に管理することを可能とし、ウエーハの支持面を洗浄する効果を安定的に維持することができる研削装置を提供することにある。
【課題を解決するための手段】
【0008】
上記主たる技術課題を解決するため、本発明によれば、ウエーハを支持するチャックテーブルと、該チャックテーブルに支持されたウエーハを研削する研削手段と、を備えた研削装置であって、研削済みのウエーハを保持して該チャックテーブルから搬出する搬出手段と、該搬出手段によって搬出されたウエーハの研削面を洗浄する研削面洗浄手段と、該チャックテーブルと該研削面洗浄手段との間に配設され該搬出手段で保持した状態でチャックテーブルに支持されたウエーハの支持面を洗浄する支持面洗浄手段と、を備え、該支持面洗浄手段は、ウエーハの支持面に接触するスポンジ部と、該スポンジ部を回転する駆動源と、洗浄水を供給する洗浄水供給部と、を含み、該駆動源の負荷電流値を検出して、該スポンジ部の寿命を管理する管理部を備える研削装置が提供される。
【0009】
該スポンジ部は、該駆動源から放射状に複数配設されているものであってもよい。また、該スポンジ部は、該駆動源の回転軸に対応する中心軸を備えた円柱状を呈しているものであってもよい。
【発明の効果】
【0010】
本発明の研削装置は、ウエーハを支持するチャックテーブルと、該チャックテーブルに支持されたウエーハを研削する研削手段と、を備えた研削装置であって、研削済みのウエーハを保持して該チャックテーブルから搬出する搬出手段と、該搬出手段によって搬出されたウエーハの研削面を洗浄する研削面洗浄手段と、該チャックテーブルと該研削面洗浄手段との間に配設され該搬出手段で保持した状態でチャックテーブルに支持されたウエーハの支持面を洗浄する支持面洗浄手段と、を備え、該支持面洗浄手段は、ウエーハの支持面に接触するスポンジ部と、該スポンジ部を回転する駆動源と、洗浄水を供給する洗浄水供給部と、を含み、該駆動源の負荷電流値を検出して、該スポンジ部の寿命を管理する管理部を備えていることから、スポンジ部の寿命の到来を管理部によって一義的に管理することが可能になり、スポンジ部の寿命に関して、オペレータの感覚に頼る必要がないことから、ウエーハWの支持面を洗浄する効果を安定的に維持することができる。
【図面の簡単な説明】
(【0011】以降は省略されています)
この特許をJ-PlatPat(特許庁公式サイト)で参照する
関連特許
株式会社ディスコ
焼成炉
9日前
株式会社ディスコ
加工装置
3日前
株式会社ディスコ
加工方法
26日前
株式会社ディスコ
加工装置
24日前
株式会社ディスコ
加工装置
24日前
株式会社ディスコ
切削装置
19日前
株式会社ディスコ
加工装置
19日前
株式会社ディスコ
加工装置
18日前
株式会社ディスコ
加工装置
18日前
株式会社ディスコ
加工方法
16日前
株式会社ディスコ
加工装置
11日前
株式会社ディスコ
処理装置
9日前
株式会社ディスコ
研削装置
9日前
株式会社ディスコ
研削装置
1か月前
株式会社ディスコ
切削装置
4日前
株式会社ディスコ
搬送システム
9日前
株式会社ディスコ
搬送システム
16日前
株式会社ディスコ
搬送システム
17日前
株式会社ディスコ
配線引き抜き治具
9日前
株式会社ディスコ
保護部材形成装置
18日前
株式会社ディスコ
ブレーキング装置
1か月前
株式会社ディスコ
液状樹脂供給装置
17日前
株式会社ディスコ
保護部材形成装置
16日前
株式会社ディスコ
抗折強度測定装置
9日前
株式会社ディスコ
加工室の洗浄方法
6日前
株式会社ディスコ
ウエーハの加工装置
16日前
株式会社ディスコ
被加工物の加工方法
3日前
株式会社ディスコ
ウエーハの加工方法
10日前
株式会社ディスコ
ウェーハの分割方法
10日前
株式会社ディスコ
加工装置及び支持柱
10日前
株式会社ディスコ
カーフチェック方法
10日前
株式会社ディスコ
被加工物の処理装置
18日前
株式会社ディスコ
検出方法及び処理装置
23日前
株式会社ディスコ
搬出装置及び切削装置
23日前
株式会社ディスコ
処理装置及び検知方法
4日前
株式会社ディスコ
研削装置および研削方法
4日前
続きを見る
他の特許を見る