TOP
|
特許
|
意匠
|
商標
特許ウォッチ
Twitter
他の特許を見る
10個以上の画像は省略されています。
公開番号
2025128892
公報種別
公開特許公報(A)
公開日
2025-09-03
出願番号
2024025885
出願日
2024-02-22
発明の名称
警備システム、サーバ、警備装置及び作業ロボット
出願人
セコム株式会社
代理人
個人
,
個人
,
個人
,
個人
主分類
G08B
25/00 20060101AFI20250827BHJP(信号)
要約
【課題】作業ロボットが所定の作業を実施する作業区画の警備をより適切に運用することが可能な警備システム、サーバ、警備装置及び作業ロボットを提供する。
【解決手段】警備システムは、自律移動可能で、作業区画において所定の作業を実施する作業ロボットと、設定された警備モードに基づき移動体を監視する警備装置と、を有する警備システムであって、警備装置に設けられ、作業区画及び作業区画外の所定区画を監視する監視手段と、複数の警備モードを切り替えて設定する設定手段と、所定区画において設定された警備モードに基づいて、作業ロボットが所定の作業を実施するための、作業区画の警備モードの変更の可否を決定する決定手段と、を有する。
【選択図】図5
特許請求の範囲
【請求項1】
自律移動可能で、作業区画において所定の作業を実施する作業ロボットと、設定された警備モードに基づき移動体を監視する警備装置と、を有する警備システムであって、
前記警備装置に設けられ、前記作業区画及び前記作業区画外の所定区画を監視する監視手段と、
複数の警備モードを切り替えて設定する設定手段と、
前記所定区画において設定された警備モードに基づいて、前記作業ロボットが前記所定の作業を実施するための、前記作業区画の警備モードの変更の可否を決定する決定手段と、
を有することを特徴とする警備システム。
続きを表示(約 1,500 文字)
【請求項2】
前記決定手段は、前記作業区画において設定された警備モードにさらに基づいて、前記作業ロボットが前記所定の作業を実施するための、前記作業区画の警備モードの変更の可否を決定する、請求項1に記載の警備システム。
【請求項3】
前記決定手段は、前記作業区画において設定された警備モードと、前記所定区画において設定された警備モードとの両方が、監視を行う警備セットモードである場合、前記作業ロボットの作業を実施するための前記作業区画の警備モードの変更を許可する、請求項2に記載の警備システム。
【請求項4】
前記決定手段は、前記作業区画において設定された警備モードが、監視を行う警備セットモードであり、且つ、前記所定区画において設定された警備モードが、監視を行わない警備解除モードである場合、前記所定区画の利用者の属性に応じて、前記作業ロボットが前記所定の作業を実施するための、前記作業区画の警備モードの変更の可否を決定する、請求項2に記載の警備システム。
【請求項5】
前記決定手段は、前記作業区画において設定された警備モードが、監視を行う警備セットモードであり、且つ、前記所定区画において設定された警備モードが、監視を行わない警備解除モードである場合、前記所定区画の利用者からの指示に従って、前記作業ロボットが前記所定の作業を実施するための、前記作業区画の警備モードの変更の可否を決定する、請求項2に記載の警備システム。
【請求項6】
前記決定手段は、さらに、前記作業ロボットの作業実施中に前記作業区画への入室操作が実行されたか否かに基づいて、前記作業ロボットの作業終了時における前記作業区画の警備モードの変更の可否を決定する、請求項1または2に記載の警備システム。
【請求項7】
自律移動可能で、作業区画において所定の作業を実施する作業ロボット、並びに、前記作業区画及び前記作業区画外の所定区画を監視し且つ複数の警備モードを切り替えて設定する警備装置と通信可能に接続されたサーバであって、
警備装置から、前記所定区画において設定された警備モードを受信する通信手段と、
前記所定区画において設定された警備モードに基づいて、作業ロボットが所定の作業を実施するための、前記作業区画の警備モードの変更の可否を決定する決定手段と、
を有することを特徴とするサーバ。
【請求項8】
自律移動可能で、作業区画において所定の作業を実施する作業ロボットと通信可能に接続され、設定された警備モードに基づき移動体を監視する警備装置であって、
前記作業区画及び前記作業区画外の所定区画を監視する監視手段と、
複数の警備モードを切り替えて設定する設定手段と、
前記所定区画において設定された警備モードに基づいて、作業ロボットが所定の作業を実施するための、前記作業区画の警備モードの変更の可否を決定する決定手段と、
を有することを特徴とする警備装置。
【請求項9】
作業ロボットの作業区画及び前記作業区画外の所定区画を監視し且つ複数の警備モードを切り替えて設定する警備装置と通信可能に接続された、自律移動可能で、前記作業区画において所定の作業を実施する作業ロボットであって、
警備装置から、前記所定区画において設定された警備モードを受信する通信手段と、
前記所定区画において設定された警備モードに基づいて、前記作業ロボットが前記所定の作業を実施するための、前記作業区画の警備モードの変更の可否を決定する決定手段と、
を有することを特徴とする作業ロボット。
発明の詳細な説明
【技術分野】
【0001】
本発明は、警備システム、サーバ、警備装置及び作業ロボットに関する。
続きを表示(約 1,200 文字)
【背景技術】
【0002】
近年、作業区画において所定の作業を実施する作業ロボットと、所定区画を監視する警備装置とを有する警備システムが開発されている。
【0003】
例えば、特許文献1には、自走式の電気掃除機が移動中である場合に、人感センサの検知結果の情報を無効にすることにより、電気掃除機の移動による誤報を抑制する監視システムが開示されている。
【先行技術文献】
【特許文献】
【0004】
特開2017-54393号公報
【発明の概要】
【発明が解決しようとする課題】
【0005】
作業ロボットと警備装置を有する警備システムにおいて、作業ロボットが所定の作業を実施する作業区画の警備をより適切に運用することが求められている。
【0006】
本発明の目的は、作業ロボットが所定の作業を実施する作業区画の警備をより適切に運用することが可能な警備システム、サーバ、警備装置及び作業ロボットを提供することである。
【課題を解決するための手段】
【0007】
かかる課題を解決するための本発明の一態様によれば、自律移動可能で、作業区画において所定の作業を実施する作業ロボットと、設定された警備モードに基づき移動体を監視する警備装置と、を有する警備システムであって、警備装置に設けられ、作業区画及び作業区画外の所定区画を監視する監視手段と、複数の警備モードを切り替えて設定する設定手段と、所定区画において設定された警備モードに基づいて、作業ロボットが所定の作業を実施するための、作業区画の警備モードの変更の可否を決定する決定手段と、を有する警備システムを提供する。
【0008】
この警備システムにおいて、決定手段は、作業区画において設定された警備モードにさらに基づいて、作業ロボットが所定の作業を実施するための、作業区画の警備モードの変更の可否を決定することが好ましい。
【0009】
この警備システムにおいて、決定手段は、作業区画において設定された警備モードと、所定区画において設定された警備モードとの両方が、監視を行う警備セットモードである場合、作業ロボットの作業を実施するための作業区画の警備モードの変更を許可することが好ましい。
【0010】
この警備システムにおいて、決定手段は、作業区画において設定された警備モードが、監視を行う警備セットモードであり、且つ、所定区画において設定された警備モードが、監視を行わない警備解除モードである場合、所定区画の利用者の属性に応じて、作業ロボットが所定の作業を実施するための、作業区画の警備モードの変更の可否を決定することが好ましい。
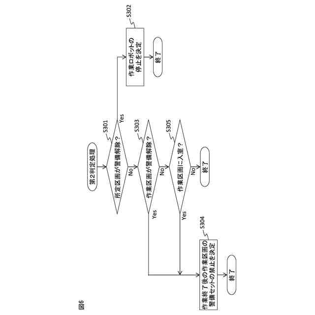
(【0011】以降は省略されています)
この特許をJ-PlatPat(特許庁公式サイト)で参照する
関連特許
他の特許を見る