TOP
|
特許
|
意匠
|
商標
特許ウォッチ
Twitter
他の特許を見る
公開番号
2025130820
公報種別
公開特許公報(A)
公開日
2025-09-09
出願番号
2024028140
出願日
2024-02-28
発明の名称
通信装置、電解コンデンサの劣化判定方法、及び電解コンデンサの劣化判定プログラム
出願人
沖電気工業株式会社
代理人
弁理士法人きさ特許商標事務所
主分類
H04L
43/08 20220101AFI20250902BHJP(電気通信技術)
要約
【課題】修理又は交換のタイミングを把握することができる通信装置、並びに通信装置の修理又は交換のタイミングを把握することができる電解コンデンサの劣化判定方法、及び電解コンデンサの劣化判定プログラムを提供する。
【解決手段】通信装置は、外部装置と通信を行う通信装置であって、電解コンデンサと、不揮発性の記憶装置と、電解コンデンサの電源電圧を監視し、電源電圧が閾値未満となった場合に電圧低下信号を出力する電圧監視部と、電圧低下信号が出力されると、通信装置の電源が切断されたことを示す通知信号を予め定められた設定時間ごとに外部装置に送信する送信部と、通知信号の送信タイミングに同期して劣化判定カウンタをカウントし、劣化判定カウンタを記憶装置に記憶するカウント部と、劣化判定カウンタに基づいて電解コンデンサの劣化状態を判定する判定部と、を備える。
【選択図】図3
特許請求の範囲
【請求項1】
外部装置と通信を行う通信装置であって、
電解コンデンサと、
不揮発性の記憶装置と、
前記電解コンデンサの電源電圧を監視し、前記電源電圧が閾値未満となった場合に電圧低下信号を出力する電圧監視部と、
前記電圧低下信号が出力されると、前記通信装置の電源が切断されたことを示す通知信号を予め定められた設定時間ごとに前記外部装置に送信する送信部と、
前記通知信号の送信タイミングに同期して劣化判定カウンタをカウントし、前記劣化判定カウンタを前記記憶装置に記憶するカウント部と、
前記劣化判定カウンタに基づいて前記電解コンデンサの劣化状態を判定する判定部と、を備える
通信装置。
続きを表示(約 1,000 文字)
【請求項2】
前記カウント部は、前記通知信号が送信される度に前記劣化判定カウンタをカウントする
請求項1に記載の通信装置。
【請求項3】
前記送信部は、前記電解コンデンサの電荷がなくなるまでの間、前記通知信号を繰り返し送信する
請求項2に記載の通信装置。
【請求項4】
前記判定部は、前記劣化判定カウンタが閾値回数未満であった場合、前記電解コンデンサの劣化の程度が大きいと判定し、前記劣化判定カウンタが前記閾値回数以上であった場合、前記電解コンデンサの劣化の程度が小さいと判定する
請求項1~3の何れか1項に記載の通信装置。
【請求項5】
前記判定部は、前記通信装置の起動時に前記電解コンデンサの前記劣化状態を判定する
請求項1~3の何れか1項に記載の通信装置。
【請求項6】
外部装置と通信を行う通信装置が有する電解コンデンサの劣化判定方法であって、
前記電解コンデンサの電源電圧を監視し、前記電源電圧が閾値回数未満となった場合に電圧低下信号を出力する電圧監視ステップと、
前記電圧低下信号が出力されると、前記通信装置の電源が切断されたことを示す通知信号を予め定められた設定時間ごとに前記外部装置に送信する送信ステップと、
前記通知信号の送信タイミングに同期して劣化判定カウンタをカウントし、前記劣化判定カウンタを不揮発性の記憶装置に記憶するカウントステップと、
前記劣化判定カウンタに基づいて前記電解コンデンサの劣化状態を判定する判定ステップと、を備える
電解コンデンサの劣化判定方法。
【請求項7】
外部装置と通信を行う通信装置が有する電解コンデンサの劣化判定プログラムであって、
前記電解コンデンサの電源電圧を監視し、前記電源電圧が閾値回数未満となった場合に電圧低下信号を出力する電圧監視ステップと、
前記電圧低下信号が出力されると、前記通信装置の電源が切断されたことを示す通知信号を予め定められた設定時間ごとに前記外部装置に送信する送信ステップと、
前記通知信号の送信タイミングに同期して劣化判定カウンタをカウントし、前記劣化判定カウンタを不揮発性の記憶装置に記憶するカウントステップと、
前記劣化判定カウンタに基づいて前記電解コンデンサの劣化状態を判定する判定ステップと、をプロセッサに実行させる
電解コンデンサの劣化判定プログラム。
発明の詳細な説明
【技術分野】
【0001】
本発明は、電源が切断されたことを示す通知信号を送信する通信装置、電解コンデンサの劣化判定方法、及び電解コンデンサの劣化判定プログラムに関するものである。
続きを表示(約 2,300 文字)
【背景技術】
【0002】
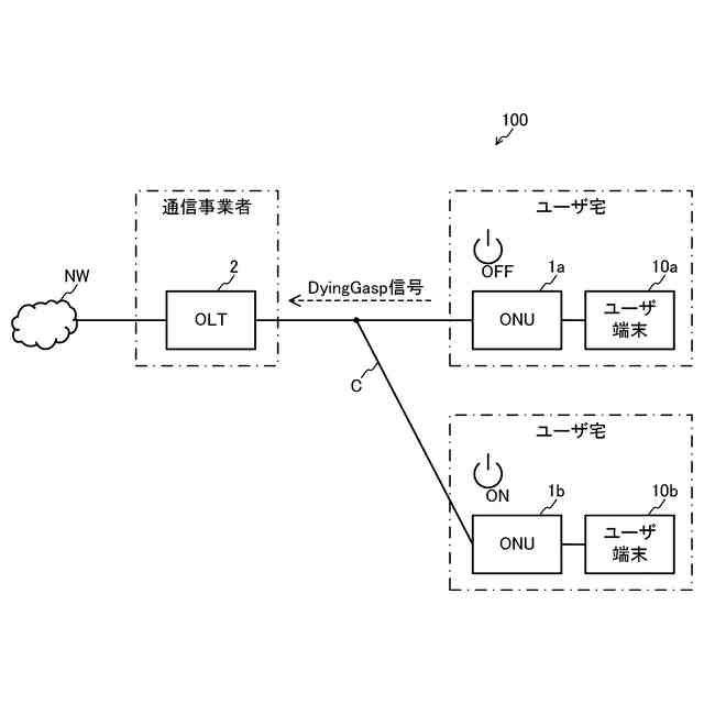
従来、EPON(Ethernet Passive Optical Network)システム(※IEEE802.3ah、IEEE802.3avで規定されたPONシステム)において、子局装置であるONU(Optical Network Unit)の状態を監視するための種々の方法が提案されている。EPONシステムは、親局装置であるOLT(Optical Line Terminal)と、複数のONUとが光ケーブルで接続されて構成されている。
【0003】
ONUの状態の監視方法の1つとして、ONUからOLTに送信されるDyingGasp信号を用いて、OLTがONUとの通信が途絶えた理由を認識する技術が開示されている(例えば、特許文献1参照)。DyingGasp信号は、ONUの電源が切断されて、ONUが有する電解コンデンサの電源電圧が徐々に低下して閾値に達すると、OLTに対して送信される信号である。例えば、OLTは、DyingGasp信号を受信してからONUとの接続が途絶えた場合、ONUの電源が切断されたものと認識し、DyingGasp信号を受信せずにONUとの接続が途絶えた場合、ONUのユーザが光ケーブルを故意に引き抜いたものと認識することができる。また、OLTは、自身に接続されている1つのONUからもDyingGasp信号を受信せずに、全てのONUとの接続が途絶えた場合、OLTとONUとを接続する光ケーブルが複数のONUに対して分岐する前の地点で断線されたものと認識することができる。
【先行技術文献】
【特許文献】
【0004】
特開2023-8273号公報
【発明の概要】
【発明が解決しようとする課題】
【0005】
電解コンデンサは、有限寿命部品であって、一般的に寿命は10年程度と言われている。このため、電解コンデンサには、寿命により劣化し静電容量が低下する容量抜け等のリスクがある。DyingGasp信号は、ONUの電源切断後に電解コンデンサに残された電荷を利用して送信されるため、電解コンデンサの静電容量が低下すると、DyingGasp信号を送信するための処理時間を確保することができない。そのため、電解コンデンサの静電容量が低下したONUを継続して使用していると、OLTは、ONUとの通信が途絶えた場合に、その理由を特定することが困難になってしまうことがある。
【0006】
本発明は、上記のような課題を解決するためになされたもので、修理又は交換のタイミングを把握することができる通信装置、並びに通信装置の修理又は交換のタイミングを把握することができる電解コンデンサの劣化判定方法、及び電解コンデンサの劣化判定プログラムを提供することを目的とするものである。
【課題を解決するための手段】
【0007】
本発明に係る通信装置は、外部装置と通信を行う通信装置であって、電解コンデンサと、不揮発性の記憶装置と、電解コンデンサの電源電圧を監視し、電源電圧が閾値未満となった場合に電圧低下信号を出力する電圧監視部と、電圧低下信号が出力されると、通信装置の電源が切断されたことを示す通知信号を予め定められた設定時間ごとに外部装置に送信する送信部と、通知信号の送信タイミングに同期して劣化判定カウンタをカウントし、劣化判定カウンタを記憶装置に記憶するカウント部と、劣化判定カウンタに基づいて電解コンデンサの劣化状態を判定する判定部と、を備える。
【0008】
本発明に係る電解コンデンサの劣化判定方法は、外部装置と通信を行う通信装置が有する電解コンデンサの劣化判定方法であって、電解コンデンサの電源電圧を監視し、電源電圧が閾値回数未満となった場合に電圧低下信号を出力する電圧監視ステップと、電圧低下信号が出力されると、通信装置の電源が切断されたことを示す通知信号を予め定められた設定時間ごとに外部装置に送信する送信ステップと、通知信号の送信タイミングに同期して劣化判定カウンタをカウントし、劣化判定カウンタを不揮発性の記憶装置に記憶するカウントステップと、劣化判定カウンタに基づいて電解コンデンサの劣化状態を判定する判定ステップと、を備える。
【0009】
本発明に係る電解コンデンサの劣化判定プログラムは、外部装置と通信を行う通信装置が有する電解コンデンサの劣化判定プログラムであって、電解コンデンサの電源電圧を監視し、電源電圧が閾値回数未満となった場合に電圧低下信号を出力する電圧監視ステップと、電圧低下信号が出力されると、通信装置の電源が切断されたことを示す通知信号を予め定められた設定時間ごとに外部装置に送信する送信ステップと、通知信号の送信タイミングに同期して劣化判定カウンタをカウントし、劣化判定カウンタを不揮発性の記憶装置に記憶するカウントステップと、劣化判定カウンタに基づいて電解コンデンサの劣化状態を判定する判定ステップと、をプロセッサに実行させる。
【発明の効果】
【0010】
本発明によれば、通信装置の電源が切断されたことを示す通知信号の送信タイミングに同期してカウントされた劣化判定カウンタに基づいて電解コンデンサの劣化状態を判定している。このため、通信装置の修理又は交換のタイミングを把握することができる。
【図面の簡単な説明】
(【0011】以降は省略されています)
この特許をJ-PlatPat(特許庁公式サイト)で参照する
関連特許
他の特許を見る