TOP
|
特許
|
意匠
|
商標
特許ウォッチ
Twitter
他の特許を見る
公開番号
2025131441
公報種別
公開特許公報(A)
公開日
2025-09-09
出願番号
2024029196
出願日
2024-02-28
発明の名称
ウェブ申込方法、ウェブ申込プログラム及び、ウェブ申込システム
出願人
Hubbit株式会社
代理人
弁理士法人みなとみらい特許事務所
主分類
G06Q
50/10 20120101AFI20250902BHJP(計算;計数)
要約
【課題】ユーザに対して遠隔でウェブ申込のサポートを実施するウェブ申込方法、ウェブ申込プログラム及びウェブ申込システムを提供する。
【解決手段】ウェブ申込システムにおいて、サポーター端末の受付部は、サポーターから申込ページにアクセスするためのアクセス情報を受け付け、ウェブ申込装置のページ情報取得部は、申込ページ情報に基づいて申込ページにアクセスし、申込ページの入力欄についての入力欄データ項目情報を含む申込ページ情報を取得し、生成部は、取得したユーザ情報及び申込ページ情報に基づいて、入力欄が入力済みの申込ページである入力済みページを表示するための入力済みページ情報を生成し、ユーザのビデオ通話端末の表示処理部は、入力済みページ情報を取得可能なコードをビデオ通話画面に表示し、入力済みページ情報を読み取ったユーザのユーザ端末から、入力済みページによりサービスの申し込みを提供事業者等のサーバに行う。
【選択図】図3
特許請求の範囲
【請求項1】
コンピュータ装置が実行するウェブ申込方法であって、
前記コンピュータ装置は、記憶部に格納されたコンピュータ読み取り可能な命令を実行するように構成された少なくとも1つの処理部を含み、
前記ウェブ申込方法は、前記少なくとも1つの処理部が、
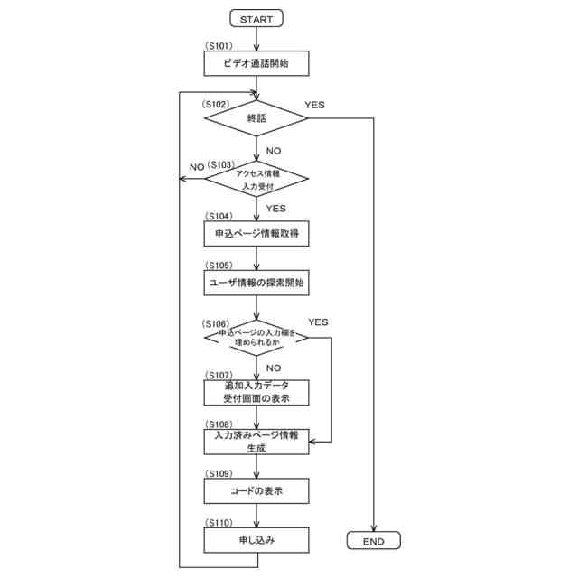
サポーターより申込ページにアクセスするためのアクセス情報を受け付ける受付工程と、
前記アクセス情報に基づいて前記申込ページにアクセスし、前記申込ページの入力欄についての入力欄データ項目情報を含む申込ページ情報を取得するページ情報取得工程と、
取得したユーザ情報及び前記申込ページ情報に基づいて、入力欄が入力済みの申込ページである入力済みページを表示するための入力済みページ情報を生成する生成工程と、
前記サポーターとビデオ通話を行うユーザのビデオ通話端末において、前記入力済みページ情報を取得可能なコードをビデオ通話画面に表示する表示処理工程と、
前記入力済みページ情報を読み取ったユーザのユーザ端末において、前記入力済みページより申し込みを行う申込工程と、を含み、
前記ユーザ情報は、データベースより取得及び/又は端末装置において入力されたユーザの情報である、
ウェブ申込方法。
続きを表示(約 1,400 文字)
【請求項2】
前記ウェブ申込方法は、更に、
前記申込ページ情報及び前記ユーザ情報に基づいて、前記申込ページに含まれる入力欄の入力欄データ項目と対応するデータ項目のデータをデータベースに格納されるユーザ情報から探索し、取得する探索工程と、
前記探索工程において発見されない前記入力欄データ項目と対応するデータ項目のデータの入力を受け付ける入力受付画面をサポーター端末に表示する表示処理工程と、
を含む、請求項1に記載のウェブ申込方法。
【請求項3】
前記受付工程では、更に、前記サポーターより、前記探索工程において発見されない1又は複数の前記入力欄データ項目に対応するデータ項目の追加入力データの入力を受け付け、
前記生成工程では、更に、前記追加入力データに基づいて、前記入力済みページ情報を生成する、
請求項2に記載のウェブ申込方法。
【請求項4】
前記生成工程では、前記探索工程で取得されたユーザ情報である抽出済みユーザ情報及び前記申込ページ情報に基づいて、前記入力済みページを表示するための入力済みページ情報を生成する、
請求項2に記載のウェブ申込方法。
【請求項5】
前記受付工程では、受け付けた前記アクセス情報を含む申込ページに関する情報を前記ユーザ情報と関連付けてデータベースに格納する、
請求項1~4の何れか1項に記載のウェブ申込方法。
【請求項6】
ウェブ申込プログラムであって、
サポーターより申込ページにアクセスするためのアクセス情報を受け付ける受付部と、
前記アクセス情報に基づいて前記申込ページにアクセスし、前記申込ページの入力欄についての入力欄データ項目情報を含む申込ページ情報を取得するページ情報取得部と、
取得したユーザ情報及び前記申込ページ情報に基づいて、入力欄が入力済みの申込ページである入力済みページを表示するための入力済みページ情報を生成する生成部と、
前記サポーターとビデオ通話を行うユーザのビデオ通話端末において、前記入力済みページ情報を取得可能なコードをビデオ通話画面に表示する表示処理部と、
としてコンピュータを機能させ、
前記ユーザ情報は、データベースより取得及び/又は端末装置において入力されたユーザの情報である、
ウェブ申込プログラム。
【請求項7】
ウェブ申込システムであって、
サポーターより申込ページにアクセスするためのアクセス情報を受け付ける受付部と、
前記アクセス情報に基づいて前記申込ページにアクセスし、前記申込ページの入力欄についての入力欄データ項目情報を含む申込ページ情報を取得するページ情報取得部と、
取得したユーザ情報及び前記申込ページ情報に基づいて、入力欄が入力済みの申込ページである入力済みページを表示するための入力済みページ情報を生成する生成部と、
前記サポーターとビデオ通話を行うユーザのビデオ通話端末において、前記入力済みページ情報を取得可能なコードをビデオ通話画面に表示する表示処理部と、
を備え、
前記ユーザ情報は、データベースより取得及び/又は端末装置において入力されたユーザの情報である、
ウェブ申込システム。
発明の詳細な説明
【技術分野】
【0001】
本発明は、ウェブ申込方法、ウェブ申込プログラム及び、ウェブ申込システムに関する。
続きを表示(約 2,800 文字)
【背景技術】
【0002】
近年、スマートフォンやタブレット端末等、カメラを備えたデバイスの常用化によって、相手の顔を見ながら通話を楽しむことのできるビデオ通話サービスが提供されるようになった。このようなビデオ通話サービスは、高齢者等の見守り等の高齢者を対象としたサービスにおけるコミュニケーション手段としても利用されている。
【0003】
特許文献1には、ビデオ通話ボットを利用してコミュニケーションが可能なビデオ通話サービスに関する技術が開示されている。
【0004】
特許文献2には、定型メッセージの発信や音声会話を実行することができる見守り装置及び見守りシステムに関する技術が開示されている。
【先行技術文献】
【特許文献】
【0005】
特開2021-129296号公報
特開2017-208657号公報
【発明の概要】
【発明が解決しようとする課題】
【0006】
しかしながら、サポーターがビデオ通話等を利用して遠隔でサポートを行う場合、スマートフォン等の電子デバイスを扱うことになれていない高齢者等のユーザがサポーターの指示通りの操作ができないなど、遠隔でのサポートの提供には困難があった。
【0007】
このような状況に対して、本発明は、ユーザに対して遠隔でウェブ申込のサポートを提供することが可能な新規な技術を提供することを課題とする。
【課題を解決するための手段】
【0008】
[1]コンピュータ装置が実行するウェブ申込方法であって、
前記コンピュータ装置は、記憶部に格納されたコンピュータ読み取り可能な命令を実行するように構成された少なくとも1つの処理部を含み、
前記ウェブ申込方法は、前記少なくとも1つの処理部が、
サポーターより申込ページにアクセスするためのアクセス情報を受け付ける受付工程と、
前記アクセス情報に基づいて前記申込ページにアクセスし、前記申込ページの入力欄についての入力欄データ項目情報を含む申込ページ情報を取得するページ情報取得工程と、
取得したユーザ情報及び前記申込ページ情報に基づいて、入力欄が入力済みの申込ページである入力済みページを表示するための入力済みページ情報を生成する生成工程と、
前記サポーターとビデオ通話を行うユーザのビデオ通話端末において、前記入力済みページ情報を取得可能なコードをビデオ通話画面に表示する表示処理工程と、
前記入力済みページ情報を読み取ったユーザのユーザ端末において、前記入力済みページより申し込みを行う申込工程と、を含み、
前記ユーザ情報は、データベースより取得及び/又は端末装置において入力されたユーザの情報である、
ウェブ申込方法。
[2] 前記ウェブ申込方法は、更に、
前記申込ページ情報及び前記ユーザ情報に基づいて、前記申込ページに含まれる入力欄の入力欄データ項目と対応するデータ項目のデータをデータベースに格納されるユーザ情報から探索し、取得する探索工程と、
前記探索工程において発見されない前記入力欄データ項目と対応するデータ項目のデータの入力を受け付ける入力受付画面をサポーター端末に表示する表示処理工程と、
を含む、[1]に記載のウェブ申込方法。
[3]前記受付工程では、更に、前記サポーターより、前記探索工程において発見されない1又は複数の前記入力欄データ項目に対応するデータ項目の追加入力データの入力を受け付け、
前記生成工程では、更に、前記追加入力データに基づいて、前記入力済みページ情報を生成する、
[2]に記載のウェブ申込方法。
[4]前記生成工程では、前記探索工程で取得されたユーザ情報である抽出済みユーザ情報及び前記申込ページ情報に基づいて、前記入力済みページを表示するための入力済みページ情報を生成する、
[2]に記載のウェブ申込方法。
[5]前記受付工程では、受け付けた前記アクセス情報を含む申込ページに関する情報を前記ユーザ情報と関連付けてデータベースに格納する、
[1]~[4]の何れかに記載のウェブ申込方法。
[6]ウェブ申込プログラムであって、
サポーターより申込ページにアクセスするためのアクセス情報を受け付ける受付部と、
前記アクセス情報に基づいて前記申込ページにアクセスし、前記申込ページの入力欄についての入力欄データ項目情報を含む申込ページ情報を取得するページ情報取得部と、
取得したユーザ情報及び前記申込ページ情報に基づいて、入力欄が入力済みの申込ページである入力済みページを表示するための入力済みページ情報を生成する生成部と、
前記サポーターとビデオ通話を行いユーザのビデオ通話端末において、前記入力済みページ情報を取得可能なコードをビデオ通話画面に表示する表示処理部と、
としてコンピュータを機能させ、
前記ユーザ情報は、データベースより取得及び/又は端末装置において入力されたユーザの情報である、
ウェブ申込プログラム。
[7]ウェブ申込システムであって、
サポーターより申込ページにアクセスするためのアクセス情報を受け付ける受付部と、
前記アクセス情報に基づいて前記申込ページにアクセスし、前記申込ページの入力欄についての入力欄データ項目情報を含む申込ページ情報を取得するページ情報取得部と、
取得したユーザ情報及び前記申込ページ情報に基づいて、入力欄が入力済みの申込ページである入力済みページを表示するための入力済みページ情報を生成する生成部と、
前記サポーターとビデオ通話を行いユーザのビデオ通話端末において、前記入力済みページ情報を取得可能なコードをビデオ通話画面に表示する表示処理部と、
を備え、
前記ユーザ情報は、データベースより取得及び/又は端末装置において入力されたユーザの情報である、
ウェブ申込システム。
【0009】
[1]に係る発明により、ビデオ通話を介してユーザが操作を行わずとも、ユーザ情報等が入力された申込ページをユーザ端末に表示させ、容易に申し込みができるようなサポートを提供することができる。
【0010】
[2]に係る発明により、データベースに格納されたユーザ情報を利用して、入力済みページを表示するための入力済みページ情報を容易に生成することができる。
(【0011】以降は省略されています)
この特許をJ-PlatPat(特許庁公式サイト)で参照する
関連特許
他の特許を見る