TOP
|
特許
|
意匠
|
商標
特許ウォッチ
Twitter
他の特許を見る
公開番号
2025132102
公報種別
公開特許公報(A)
公開日
2025-09-10
出願番号
2024029448
出願日
2024-02-29
発明の名称
加工装置
出願人
株式会社ディスコ
代理人
インフォート弁理士法人
主分類
B24B
55/06 20060101AFI20250903BHJP(研削;研磨)
要約
【課題】加工装置の加工室内のチャックテーブルや加工具の交換作業を容易にする。
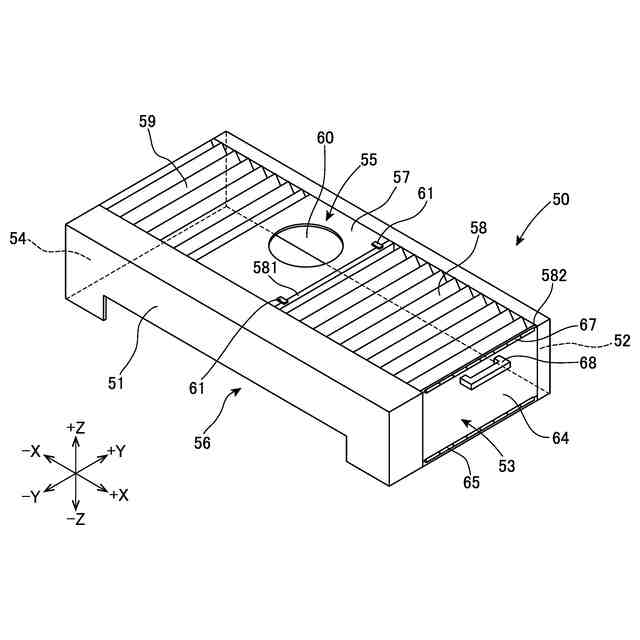
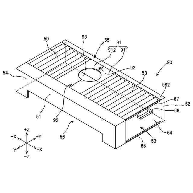
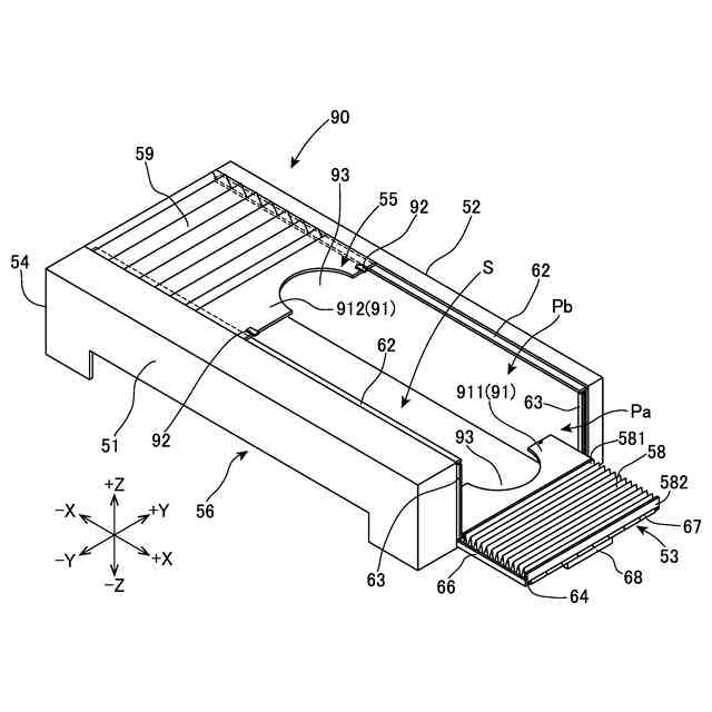
【解決手段】被加工物(W)を保持するチャックテーブル(21)と、被加工物をスピンドル(31)の先端に配置した加工具(34)で加工する加工ユニット(25)と、加工ユニットを水平方向に移動させる水平移動機構(27)と、チャックテーブルと加工具とを収容する加工室(50)と、を備える加工装置において、加工室の天井(55)に、スピンドルを貫通させる開口(60)を備えた中央板(57)と、加工ユニットの水平移動方向における中央板の両端側に各々配置して水平方向に伸縮する2つの蛇腹(58、59)と、とを備え、中央板と蛇腹とを脱着する脱着具(61)を備え、加工室の側板は、上部に蛇腹(58)が接続された開閉扉(64)と、開閉扉を外側に開くように開閉扉の下部に配置したヒンジ(65)と、を備える。
【選択図】図3
特許請求の範囲
【請求項1】
被加工物を保持するチャックテーブルと、該チャックテーブルに保持された被加工物をスピンドルの先端に配置した加工具で加工する加工ユニットと、該加工ユニットを水平方向に移動させる水平移動機構と、該チャックテーブルと該加工具とを収容する加工室と、を備える加工装置であって、
該加工室の天井は、該スピンドルを貫通させる開口を備えた中央板と、該水平移動機構による該加工ユニットの水平移動方向における該中央板の両端側に各々配置して水平方向に伸縮する2つの蛇腹と、とを備え、
該中央板と該蛇腹とを脱着する脱着具を備え、
該加工室の側板は、上部に該蛇腹が接続された開閉扉と、該開閉扉を外側に開くように該開閉扉の下部に配置したヒンジと、を備える、加工装置。
続きを表示(約 380 文字)
【請求項2】
被加工物を保持するチャックテーブルと、該チャックテーブルに保持された被加工物をスピンドルの先端に配置した加工具で加工する加工ユニットと、該加工ユニットを水平方向に移動させる水平移動機構と、該チャックテーブルと該加工具とを収容する加工室と、を備える加工装置であって、
該加工室の天井は、該スピンドルを貫通させる開口を備えた中央板と、該水平移動機構による該加工ユニットの水平移動方向における該中央板の両端側に各々配置して水平方向に伸縮する2つの蛇腹と、とを備え、
該中央板は、該開口を2分割する第1中央板と第2中央板と、該第1中央板と該第2中央板とを接続する接続部と、を備え、
該加工室の側板は、上部に該蛇腹が接続された開閉扉と、該開閉扉を外側に開くように該開閉扉の下部に配置したヒンジと、を備える、加工装置。
発明の詳細な説明
【技術分野】
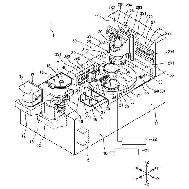
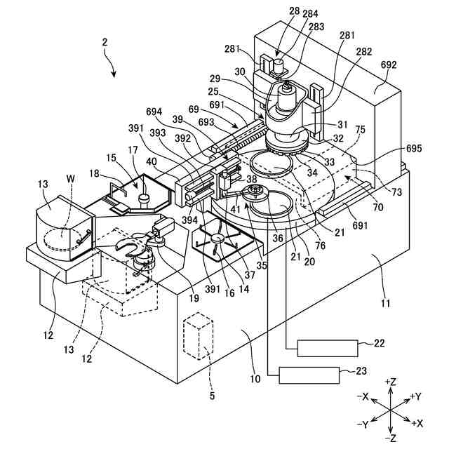
【0001】
本発明は、被加工物を加工する加工装置に関する。
続きを表示(約 1,700 文字)
【背景技術】
【0002】
ウェーハを研磨する研磨装置は、ウェーハを保持したチャックテーブルと、ウェーハを研磨する研磨パッドと、を収容する加工室が設けられ、加工室内でウェーハに対する研磨加工が行われる。
【0003】
特許文献1に開示される研磨装置は、研磨パッドを装着した研磨ユニットを水平方向(チャックテーブルの保持面に対して垂直な方向)に移動させながら、ウェーハの研磨加工を行う。このタイプの研磨装置の場合、加工室の天板が、研磨パッドを装着したスピンドルを貫通させる開口を設けたプレートと、プレートの両端側に接続する蛇腹とを備え、研磨パッド及びスピンドルが水平方向に移動した際に、プレートと蛇腹を追従して移動させて加工室の天井が覆われる状態を維持する。
【0004】
研磨装置は、メンテナンスとしてチャックテーブルや研磨パッドの交換を行う。また、研磨以外の加工を行う加工装置においても、同種のメンテナンスを行う。例えば、研削装置では、チャックテーブルや研削ホイールの交換を行う。従って、研磨装置や研削装置のような加工装置のメンテナンスでは、チャックテーブルや加工具を交換する。
【0005】
加工装置において、上記のようなメンテナンス作業を容易にするために、特許文献2、3及び4に開示のように、加工室の側板が開かれるようにした構成が知られている。
【先行技術文献】
【特許文献】
【0006】
特開2015-054373号公報
特開2023-066697号公報
特開2021-176666号公報
特開2020-015158号公報
【発明の概要】
【発明が解決しようとする課題】
【0007】
従来の加工装置は、加工室の側板が開かれるものであっても、加工室の天井を形成する蛇腹を取り外すことができないため、加工室に形成される開口の大きさに制限があり、チャックテーブルや加工具の交換作業が容易ではない場合があった。
【0008】
したがって、加工室の天板に蛇腹を備えた加工装置において、加工室内のチャックテーブルや加工具の交換作業を容易にする、という解決すべき課題がある。
【課題を解決するための手段】
【0009】
本発明の一態様は、被加工物を保持するチャックテーブルと、該チャックテーブルに保持された被加工物をスピンドルの先端に配置した加工具で加工する加工ユニットと、該加工ユニットを水平方向に移動させる水平移動機構と、該チャックテーブルと該加工具とを収容する加工室と、を備える加工装置であって、該加工室の天井は、該スピンドルを貫通させる開口を備えた中央板と、該水平移動機構による該加工ユニットの水平移動方向における該中央板の両端側に各々配置して水平方向に伸縮する2つの蛇腹と、とを備え、該中央板と該蛇腹とを脱着する脱着具を備え、該加工室の側板は、上部に該蛇腹が接続された開閉扉と、該開閉扉を外側に開くように該開閉扉の下部に配置したヒンジと、を備える。
【0010】
本発明の一態様は、被加工物を保持するチャックテーブルと、該チャックテーブルに保持された被加工物をスピンドルの先端に配置した加工具で加工する加工ユニットと、該加工ユニットを水平方向に移動させる水平移動機構と、該チャックテーブルと該加工具とを収容する加工室と、を備える加工装置であって、該加工室の天井は、該スピンドルを貫通させる開口を備えた中央板と、該水平移動機構による該加工ユニットの水平移動方向における該中央板の両端側に各々配置して水平方向に伸縮する2つの蛇腹と、とを備え、該中央板は、該開口を2分割する第1中央板と第2中央板と、該第1中央板と該第2中央板とを接続する接続部と、を備え、該加工室の側板は、上部に該蛇腹が接続された開閉扉と、該開閉扉を外側に開くように該開閉扉の下部に配置したヒンジと、を備える。
【発明の効果】
(【0011】以降は省略されています)
この特許をJ-PlatPat(特許庁公式サイト)で参照する
関連特許
株式会社ディスコ
焼成炉
9日前
株式会社ディスコ
加工装置
3日前
株式会社ディスコ
加工装置
24日前
株式会社ディスコ
加工装置
24日前
株式会社ディスコ
切削装置
19日前
株式会社ディスコ
加工装置
19日前
株式会社ディスコ
加工装置
18日前
株式会社ディスコ
加工装置
18日前
株式会社ディスコ
加工方法
16日前
株式会社ディスコ
処理装置
9日前
株式会社ディスコ
研削装置
9日前
株式会社ディスコ
加工装置
11日前
株式会社ディスコ
切削装置
4日前
株式会社ディスコ
搬送システム
9日前
株式会社ディスコ
搬送システム
16日前
株式会社ディスコ
搬送システム
17日前
株式会社ディスコ
配線引き抜き治具
9日前
株式会社ディスコ
加工室の洗浄方法
6日前
株式会社ディスコ
抗折強度測定装置
9日前
株式会社ディスコ
液状樹脂供給装置
17日前
株式会社ディスコ
保護部材形成装置
16日前
株式会社ディスコ
保護部材形成装置
18日前
株式会社ディスコ
ウエーハの加工装置
16日前
株式会社ディスコ
被加工物の処理装置
18日前
株式会社ディスコ
ウェーハの分割方法
10日前
株式会社ディスコ
ウエーハの加工方法
10日前
株式会社ディスコ
加工装置及び支持柱
10日前
株式会社ディスコ
カーフチェック方法
10日前
株式会社ディスコ
被加工物の加工方法
3日前
株式会社ディスコ
処理装置及び検知方法
4日前
株式会社ディスコ
搬出装置及び切削装置
23日前
株式会社ディスコ
検出方法及び処理装置
23日前
株式会社ディスコ
研削装置および研削方法
4日前
株式会社ディスコ
伸縮防水カバー、処理装置
19日前
株式会社ディスコ
走査光学系及び光学処理装置
3日前
株式会社ディスコ
チャックテーブルの整形方法
25日前
続きを見る
他の特許を見る