TOP
|
特許
|
意匠
|
商標
特許ウォッチ
Twitter
他の特許を見る
公開番号
2025132637
公報種別
公開特許公報(A)
公開日
2025-09-10
出願番号
2024030329
出願日
2024-02-29
発明の名称
換気扇取付枠
出願人
ホーコス株式会社
代理人
主分類
F24F
7/013 20060101AFI20250903BHJP(加熱;レンジ;換気)
要約
【課題】雨水を屋内へ浸入させない換気扇取付枠を提供することを課題とする。
【解決手段】フィルタ収容部のフィルタフレームの下流側である二次側底面には、第一堤防壁と段差を形成する第二堤防壁とで囲まれた調整溝が設け、第二堤防壁の高さは、フィルタの最終圧力損失において、調整溝に保水される水面の高さよりも高くなるように設ける。
【選択図】図1
特許請求の範囲
【請求項1】
建物の外壁を貫通して配置される換気扇取付枠は、
外壁の屋外側に開口する屋外側開口部と、屋内側に開口する屋内側開口部と、を有する筒状の通風路であり、
前記換気扇取付枠は、外壁設置部、フィルタ収容部、換気扇ユニット設置部の機能部を有し、前記フィルタ収容部と前記換気扇ユニット設置部とは建物の屋内側になるように配置され、
前記外壁設置部は、前記屋外開口部を前記外壁の屋外側に位置するように前記外壁の貫通孔に設置され、
前記フィルタ収容部には、左右いずれかの側面からフィルタが着脱可能に収容されるように開閉扉が設けられるとともに、前記フィルタ収容部内部には、前記フィルタを支持するフィルタフレームが設けられ、
前記換気扇ユニット設置部には、シャッタと換気扇からなる換気扇ユニットが固定され、
前記フィルタフレームは、その上流側を一次側、下流側を二次側と区画し、
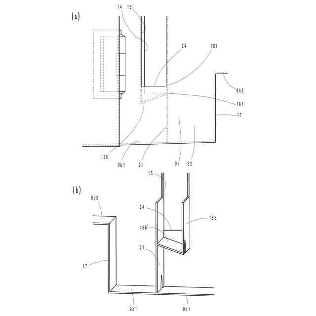
前記フィルタ収容部の前記二次側の底面には、少なくとも一つの段差が設けられており、前記底面の前記段差の上流側を第一底面、下流側を第二底面とし、前記第一・第二底面はそれぞれ屋外側に向かってくだるように傾斜を有するとともに、前記第一底面は前記第二底面よりも低く設けられており、
前記フィルタフレームは、前記第一底面側に設けられ、かつ前記フィルタフレームの下部フレーム底面は、前記第一底面よりも高い位置に設置され、
前記下部フレームの下流側面には第一堤防壁が設けられており、前記第一堤防壁は、前記第一底面から前記下部フレームの高さまでの高さを有し、かつ前記換気扇取付枠の左右幅一杯に設けられ、
前記二次側底面には、前記第一堤防壁と前記段差を形成する第二堤防壁とで囲まれた調整溝が設けられ、
前記第二堤防壁の高さは、前記フィルタの最終圧力損失において、前記調整溝に保水される水面の高さよりも高くなるように設けられていることを特徴とする換気扇取付枠。
続きを表示(約 610 文字)
【請求項2】
前記下部フレーム底面及び上流側面の少なくともいずれかの面には下部フレーム用水抜き穴が設けられていることを特徴とする請求項1に記載の換気扇取付枠。
【請求項3】
前記下部フレーム底面は、上流側に向かってくださるように傾斜が設けられていることを特徴とする請求項1に記載の換気取付部。
【請求項4】
前記下部フレームの前記開閉扉側には、前記下部フレームの底面から立ち上がり部が設けられていることを特徴とする請求項1に記載の換気扇取付枠。
【請求項5】
前記第一堤防壁の下端には第一堤防壁用水抜き穴が設けられていることを特徴とする請求項1に記載の換気扇取付枠。
【請求項6】
前記第一堤防壁の下端には第一堤防壁用水抜き穴が設けられており、前記第一堤防壁用水抜き穴は、前記換気扇ユニット設置部に固定される換気扇の羽根部分よりも外側に設けられることを特徴とする請求項2に記載の換気扇取付枠。
【請求項7】
前記第一堤防壁用水抜き穴は、前記換気扇ユニット設置部に固定される換気扇の羽根部分よりも外側に設けられることを特徴とする請求項5に記載の換気扇取付枠。
【請求項8】
前記下部フレーム用水抜き穴は、前記第一堤防壁用水抜き穴と左右方向の位相が異なる位置に設けられていることを特徴とする請求項6に記載の換気扇取付枠。
発明の詳細な説明
【技術分野】
【0001】
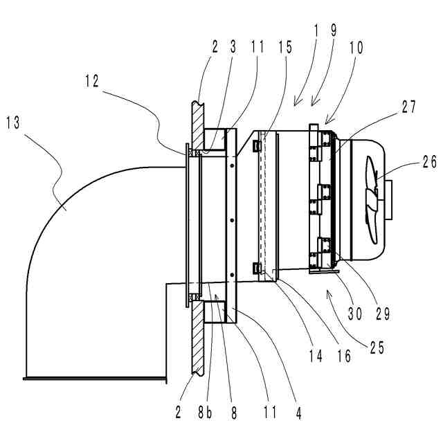
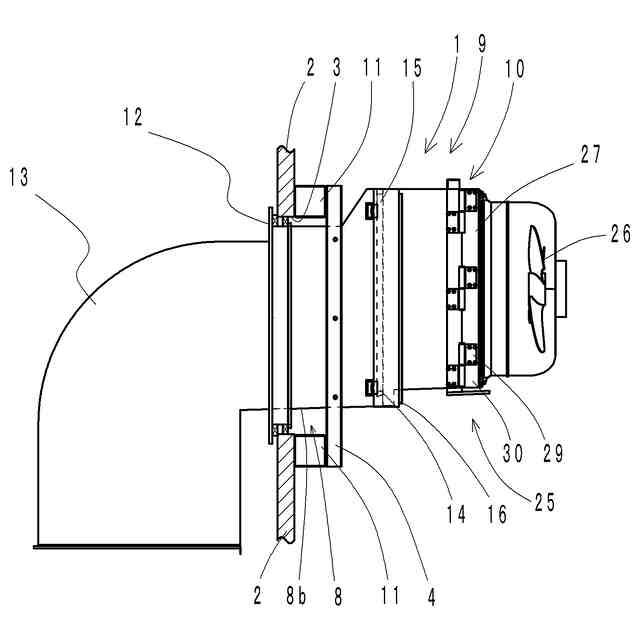
本発明は、建物の換気を行うため、建物の外壁面に設けられる貫通孔に設置され、換気扇やウェザーカバーなどが取り付けられる取付枠に関するものである。
続きを表示(約 1,300 文字)
【背景技術】
【0002】
特許文献1には、屋内の換気を行うため、建物の外壁面に給気孔を設け、その給気孔から屋内へ外気を導入する給気ファンと接続するように、建物内壁面に取り付けられる接続ダクトが開示されている。この接続ダクトは、一端を吸込開口部、他端を排気開口部とする通風路で中空筒状をなしており、通風路内にはフィルタが設置されている(これ以降、便宜上、フィルタの上流側を「一次側」、下流側を「二次側」という。)。
【0003】
そして通風路の底面は、吸込開口部側に向かって下方へ傾斜しており、ダクト本体の底面に落下した雨水は、吸込開口部側に下る傾斜に沿って屋外へ自然に排水される。
【0004】
しかしながら、フィルタが汚れ、フィルタの圧力損失が高まってくると、換気扇が作動している最中は、一次側と二次側の圧力差(圧力損失)が大きくなり、二次側のフィルタと換気扇の間の通風路内は負圧となり、水頭圧が働く。そのため、通風路(ダクト本体)の底面に落下した雨水は、傾斜に沿って屋外へ流れ出ることが出来ず、一定量が通風路の底面にとどまり、水だまりができてしまう。
【0005】
そうなると、換気扇による給気風圧により、二次側である通風路の底面の水だまりは波打ち、水滴となって排気開口部側へと飛散し、換気扇を経由して屋内へと雨水が浸入してしまう。
【0006】
そこで、特許文献2では、換気扇とフィルタユニットからなる換気扇ユニットを取付枠の屋内側端部の開口を覆うように設置し、ドレンパンはその開口よりも下側かつ取付枠の外側に設け、換気扇やフィルタユニット、そして換気扇とフィルタユニットとの境から落下する水滴を捕集する換気装置が開示されている。
【0007】
特許文献2に開示されている取付枠では、フィルタユニットと換気扇とで構成される換気扇ユニットは、取付枠の屋内側端部の上部開口に設置されていることから、取付枠内の領域はすべて一次側であり、取付枠内はフィルタユニットの圧力損失を受けない領域である。また、ドレンパンは取付枠の外側に配置されていることから、フィルタの圧力損失の影響を受けない。
【0008】
そのため、ドレンパンで捕集された雨水は、排水管、屋内側端板の下部に設けられた貫通孔を経由して、取付枠内に排水されると、換気扇による水頭圧の影響を受けることなく、取付枠の傾斜面から屋外側へと流れやすくなっている。
【0009】
しかしながら、特許文献2における換気装置は、フィルタユニットのすぐ下流側に換気扇が設けられている。フィルタユニットに保水される雨水は、やはり換気扇の給気風圧の影響を受け、全ての雨水がドレンパンへと落水できるわけではない。そのため、落水できない雨水は換気扇を通って、屋内側へと浸入してしまう。
【0010】
特開2011-242074号公報
特開2021-119321号公報
【発明の概要】
【発明が解決しようとする課題】
(【0011】以降は省略されています)
この特許をJ-PlatPat(特許庁公式サイト)で参照する
関連特許
ホーコス株式会社
排気フード
3か月前
ホーコス株式会社
換気扇取付枠
1か月前
ホーコス株式会社
床置型グリース阻集器
1か月前
個人
空気調和機
5か月前
個人
エアコン室内機
4か月前
株式会社トヨトミ
五徳
10日前
株式会社コロナ
空調装置
10日前
株式会社コロナ
空調装置
10日前
株式会社コロナ
空調装置
2か月前
株式会社コロナ
空調装置
4か月前
株式会社コロナ
空調装置
1か月前
株式会社コロナ
給湯装置
3か月前
株式会社コロナ
空調装置
1か月前
株式会社コロナ
空調装置
25日前
株式会社コロナ
加湿装置
5か月前
株式会社コロナ
加湿装置
1か月前
株式会社コロナ
空気調和機
3か月前
株式会社コロナ
風呂給湯機
1か月前
個人
住宅換気空調システム
2か月前
個人
太陽光パネル傾斜装置
20日前
株式会社コロナ
空気調和機
2か月前
株式会社パロマ
給湯器
3か月前
株式会社コロナ
直圧式給湯機
3か月前
株式会社コロナ
温水暖房装置
10日前
株式会社コロナ
直圧式給湯機
2か月前
株式会社コロナ
貯湯式給湯機
1か月前
ホーコス株式会社
排気フード
3か月前
株式会社コロナ
暖房システム
1か月前
個人
シンプルクーラー
18日前
株式会社コロナ
貯湯式給湯機
1か月前
株式会社コロナ
貯湯式給湯機
5か月前
三菱電機株式会社
換気扇
19日前
三菱電機株式会社
換気扇
19日前
三菱電機株式会社
換気扇
19日前
株式会社コロナ
貯湯式給湯装置
3か月前
株式会社コロナ
輻射式冷房装置
2か月前
続きを見る
他の特許を見る