TOP
|
特許
|
意匠
|
商標
特許ウォッチ
Twitter
他の特許を見る
10個以上の画像は省略されています。
公開番号
2025134959
公報種別
公開特許公報(A)
公開日
2025-09-17
出願番号
2025107976,2024130118
出願日
2025-06-26,2019-03-29
発明の名称
撮像素子
出願人
株式会社ニコン
代理人
個人
,
個人
,
個人
主分類
H04N
25/704 20230101AFI20250909BHJP(電気通信技術)
要約
【課題】読み出しが高速な焦点検出用信号と画像信号とを読み出す撮像素子を提供する。
【解決手段】撮像素子3は、AF画素(13a)、AF画素(13b)、撮像画素(例えば10r)と撮像画素(例えば10g)が列方向に沿って配置される画素部100と、第1読み出し部40aに接続する第1信号線VoutAと、第2読み出し部40bに接続する第2信号線VoutBと、画素からの信号の出力を制御する第1制御と第2制御を行う垂直制御部30とを備え、第1制御では、第1信号線VoutAと第2信号線VoutBとのうちいずれか一方の信号線に出力されるようにAF画素(13a)とAF画素(13b)とを制御し、第2制御では、第1信号線VoutAと第2信号線VoutBとのうち異なる信号線に出力されるように撮像画素(例えば10r)と撮像画素(例えば10g)とを制御する。
【選択図】図2
特許請求の範囲
【請求項1】
光学系を透過した光を電荷に変換する第1光電変換部を有し、前記光学系の焦点検出に用いられる第1信号を出力する第1画素と、前記光学系を透過した光を電荷に変換する第2光電変換部を有し、前記光学系の焦点検出に用いられる第2信号を出力する第2画素と、前記光学系を透過した光を電荷に変換する第3光電変換部を有し、画像生成に用いられる第3信号を出力する第3画素と、前記光学系を透過した光を電荷に変換する第4光電変換部を有し、画像生成に用いられる第4信号を出力する第4画素とが列方向に沿って配置される画素部と、
前記第1画素、前記第2画素、前記第3画素および前記第4画素に電気的に接続可能な第1信号線と、
前記第1画素、前記第2画素、前記第3画素および前記第4画素に電気的に接続可能な第2信号線と、
前記第1信号、前記第2信号、前記第3信号および前記第4信号のうち、前記第1信号線に出力された信号に信号処理を行う第1読み出し部と、
前記第1信号、前記第2信号、前記第3信号および前記第4信号のうち、前記第2信号線に出力された信号に信号処理を行う第2読み出し部と、
前記第1信号と前記第2信号とが、前記第1信号線と前記第2信号線とのうちいずれか一方の信号線に出力されるように前記第1画素と前記第2画素とを制御する第1制御と、前記第3信号と前記第4信号とが、前記第1信号線と前記第2信号線とのうち異なる信号線に出力されるように前記第3画素と前記第4画素とを制御する第2制御とを行う垂直制御部と
を備える撮像素子。
発明の詳細な説明
【技術分野】
【0001】
本発明は、撮像素子に関する。
続きを表示(約 2,400 文字)
【背景技術】
【0002】
焦点検出用の信号と画像信号とを読み出す撮像素子について知られている(例えば特許文献1)。このような撮像素子では、信号読み出しの高速化が望まれている。
【先行技術文献】
【特許文献】
【0003】
日本国特開2017-34606号公報
【発明の概要】
【0004】
発明の第1の態様によると、撮像素子は、光学系を透過した光を電荷に変換する第1光電変換部を有し、前記光学系の焦点検出に用いられる第1信号を出力する第1画素と、前記光学系を透過した光を電荷に変換する第2光電変換部を有し、前記光学系の焦点検出に用いられる第2信号を出力する第2画素と、前記光学系を透過した光を電荷に変換する第3光電変換部を有し、画像生成に用いられる第3信号を出力する第3画素と、前記光学系を透過した光を電荷に変換する第4光電変換部を有し、画像生成に用いられる第4信号を出力する第4画素とが列方向に沿って配置される画素部と、前記第1画素、前記第2画素、前記第3画素および前記第4画素に電気的に接続可能な第1信号線と、前記第1画素、前記第2画素、前記第3画素および前記第4画素に電気的に接続可能な第2信号線と、前記第1信号、前記第2信号、前記第3信号および前記第4信号のうち、前記第1信号線に出力された信号に信号処理を行う第1読み出し部と、前記第1信号、前記第2信号、前記第3信号および前記第4信号のうち、前記第2信号線に出力された信号に信号処理を行う第2読み出し部と、前記第1信号と前記第2信号とが、前記第1信号線と前記第2信号線とのうちいずれか一方の信号線に出力されるように前記第1画素と前記第2画素とを制御する第1制御と、前記第3信号と前記第4信号とが、前記第1信号線と前記第2信号線とのうち異なる信号線に出力されるように前記第3画素と前記第4画素とを制御する第2制御とを行う垂直制御部とを備える。
【図面の簡単な説明】
【0005】
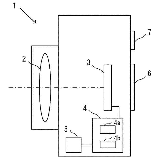
第1の実施の形態に係る撮像装置の構成を示すブロック図である。
第1の実施の形態に係る撮像素子の構成例を示す図である。
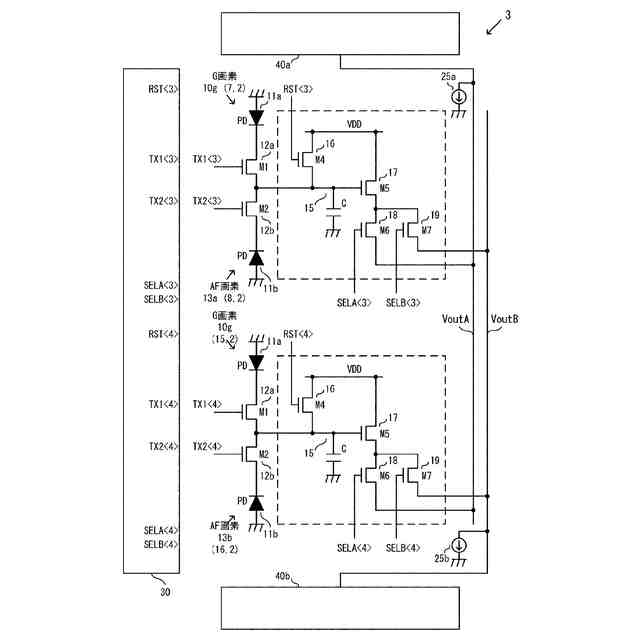
第1の実施の形態に係る撮像素子の画素の構成例を示す図である。
第1の実施の形態に係る撮像素子の一部の構成例を示す図である。
第1の実施の形態に係る撮像素子の動作例を示すタイミングチャートである 。
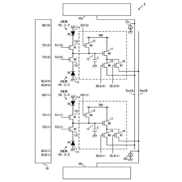
第1の実施の形態に係る撮像素子の一部の構成例を示す図である。
第1の実施の形態に係る撮像素子の別の動作例を示すタイミングチャートで ある。
第1の実施の形態に係る撮像素子の別の動作例を示すタイミングチャートで ある。
変形例1に係る撮像素子の一部の構成例を示す図である。
変形例1に係る撮像素子の動作例を示すタイミングチャートである。
変形例2に係る撮像素子の一部の構成例を示す図である。
【発明を実施するための形態】
【0006】
(第1の実施の形態)
図1は、第1の実施の形態に係る撮像装置の構成を示すブロック図である。図1では、第1の実施の形態に係る撮像装置の一例であるカメラ1の構成例を示す。カメラ1は、撮像光学系(結像光学系)2、撮像素子3、制御部4、メモリ5、表示部6、及び操作部7を備える。撮像光学系2は、焦点調節レンズ(フォーカスレンズ)を含む複数のレンズ及び開口絞りを有し、撮像素子3に被写体像を結像する。なお、撮像光学系2は、カメラ1から着脱可能にしてもよい。
【0007】
撮像素子3は、例えばCMOSイメージセンサである。撮像素子3は、撮像光学系2の射出瞳を通過した光束を受光して、被写体像を撮像する。撮像素子3には、光電変換部を有する複数の画素が二次元状(例えば行方向及び列方向)に配置される。光電変換部は、例えばフォトダイオード(PD)によって構成される。撮像素子3は、受光した光を光電変換して信号を生成し、生成した信号を制御部4に出力する。
【0008】
撮像素子3は、撮像画素とAF画素(焦点検出画素)とを有する。撮像画素は、画像生成に用いる信号(撮像信号)を出力する。AF画素は、焦点検出に用いる信号(焦点検出信号)を出力する。後述するが、AF画素は、撮像画素の一部に置換して配置され、撮像素子3の撮像面のほぼ全面に分散して配置される。なお、以下の説明では、単に画素と称する場合は、撮像画素およびAF画素のいずれか一方または両方を指す。
【0009】
メモリ5は、例えば、メモリカード等の記録媒体である。メモリ5には、画像データ等が記録される。メモリ5へのデータの書き込みや、メモリ5からのデータの読み出しは、制御部4によって行われる。表示部6は、画像データに基づく画像、シャッター速度や絞り値等の撮影に関する情報、及びメニュー画面等を表示する。操作部7は、レリーズボタン、電源スイッチなどの各種設定スイッチ等を含み、それぞれの操作に応じた操作信号を制御部4へ出力する。
【0010】
制御部4は、CPUやFPGA、ASIC等のプロセッサ、及びROMやRAM等のメモリによって構成され、制御プログラムに基づいてカメラ1の各部を制御する。制御部4は、画像データ生成部4aと、焦点検出部4bとを有する。画像データ生成部4aは、撮像素子3から出力される撮像信号に各種の画像処理を行って画像データを生成する。画像処理には、例えば、階調変換処理、色補間処理、輪郭強調処理等の公知の画像処理が含まれる。
(【0011】以降は省略されています)
この特許をJ-PlatPat(特許庁公式サイト)で参照する
関連特許
他の特許を見る