TOP
|
特許
|
意匠
|
商標
特許ウォッチ
Twitter
他の特許を見る
公開番号
2025135642
公報種別
公開特許公報(A)
公開日
2025-09-19
出願番号
2024033490
出願日
2024-03-06
発明の名称
プリント配線板
出願人
イビデン株式会社
代理人
弁理士法人銀座マロニエ特許事務所
主分類
H05K
1/02 20060101AFI20250911BHJP(他に分類されない電気技術)
要約
【課題】プリント配線板の反りを低減させて、プリント配線板と電子部品との間の接続信頼性を向上させる。
【解決手段】
本発明のプリント配線板は、実装されている電子部品の4隅の直下部分に対応して、プリント配線板の最上層に形成された第1の補強導体と、第1の補強導体に対応して、プリント配線板の内層に形成された第2の補強導体と、第1の補強導体と第2の補強導体とを接続する複数のビア導体と、を含む。好適な実施形態として、第1の補強導体の平面形状と第2の補強導体の平面形状とが、略同じである。また、第1の補強導体、第2の補強導体およびビア導体のそれぞれが、他の回路と繋がっておらず独立している。
【選択図】図1
特許請求の範囲
【請求項1】
プリント配線板であって、
実装されている電子部品の4隅の直下部分に対応して、前記プリント配線板の最上層に形成された第1の補強導体と、
前記第1の補強導体に対応して、前記プリント配線板の内層に形成された第2の補強導体と、
前記第1の補強導体と前記第2の補強導体とを接続する複数のビア導体と、
を含む。
続きを表示(約 160 文字)
【請求項2】
請求項1に記載のプリント配線板であって、前記第1の補強導体の平面形状と前記第2の補強導体の平面形状とが、略同じである。
【請求項3】
請求項1または2に記載のプリント配線板であって、前記第1の補強導体、前記第2の補強導体および前記ビア導体のそれぞれが、他の回路と繋がっておらず独立している。
発明の詳細な説明
【技術分野】
【0001】
本発明は、実装されている電子部品の4隅の直下部分に導体部を有するプリント配線板に関する。
続きを表示(約 2,000 文字)
【背景技術】
【0002】
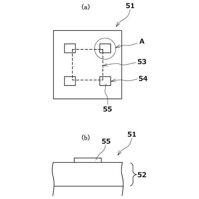
従来、実装されている電子部品の4隅の直下部分に導体部を有するプリント配線板が知られている(例えば、特許文献1)。図3(a)、(b)は、それぞれ、従来のプリント配線板の一実施形態を説明するための図である。図3(a)はプリント配線板51の最上層52の平面図であり、図3(b)は、図3(a)に示すプリント配線板51のA部における断面図である。図3(a)、(b)において、電子部品(図示せず)を実装するC4エリア53の4隅のコーナー54のそれぞれに、導体部55が形成されている。
【先行技術文献】
【特許文献】
【0003】
特開2014-179409号公報
【発明の概要】
【発明が解決しようとする課題】
【0004】
図3(a)、(b)に示すプリント配線板51では、その最上層52のC4エリア53の4隅のコーナー54のそれぞれに導体部55を形成することで、ある程度の反り防止をすることができる。しかしながら、近年の電子部品の高機能化に伴いC4エリア53を大きくする必要があり、最上層52の導体部55のみでは、プリント配線板51の反りを十分に防止できない問題があった。
【課題を解決するための手段】
【0005】
本発明に係るプリント配線板は、実装されている電子部品の4隅の直下部分に対応して、前記プリント配線板の最上層に形成された第1の補強導体と、前記第1の補強導体に対応して、前記プリント配線板の内層に形成された第2の補強導体と、前記第1の補強導体と前記第2の補強導体とを接続する複数のビア導体と、を含む。
【図面の簡単な説明】
【0006】
(a)、(b)は、それぞれ、本発明に係るプリント配線板の一実施形態を説明するため図である。
本発明に係るプリント配線板の前提となる技術を説明するための図である。
(a)、(b)は、それぞれ、従来のプリント配線板の一実施形態を説明するための図である。
【発明を実施するための形態】
【0007】
本発明に係るプリント配線板の一実施形態が、図面を参照して説明される。なお、図1(a)、(b)、図2に示す例において、各部材の寸法、特に高さ方向の寸法については、本発明の特徴をより良く理解できるようにするために、実際の寸法とは異なる寸法で記載している。また、配線やバンプなど、通常プリント配線板に存在する部材についても、本発明の特徴をより良く理解できるように記載していない。
【0008】
<本発明に係るプリント配線板の前提となる技術について>
図2は、本発明に係るプリント配線板の前提となる技術を説明するための図である。図2において、プリント配線板21の略中央部に、電子部品(図示せず)を実装するC4エリア22が位置している。C4エリア22内には、電子部品を搭載するための複数のC4パッド23が形成されている。配線24が、C4パッド23からC4エリア22の外に延びて形成されている。図2に示すように、配線24はC4パッド23から上下や左右に延びている。そのため、プリント配線板21の最上層において、実装されている電子部品の4隅の直下部分に対応する領域に配線24が存在していない。前提となる技術では、配線24の密度の相違に基づくプリント配線板1の反りを防止するために、プリント配線板21の最上層の実装されている電子部品の4隅の直下部分に対応する領域に、補強導体25を形成している。
【0009】
<本発明に係るプリント配線板の一実施形態について>
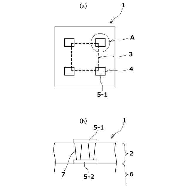
図1(a)、(b)は、それぞれ、本発明に係るプリント配線板の一実施形態を説明するため図である。図1(a)はプリント配線板の最上層の平面図であり、図1(b)は、図1(a)に示すプリント配線板のA部における断面図である。なお、図1(a)、(b)に示す本発明に係るプリント配線板の一実施形態においては、前提技術で説明した配線やバンプなどの通常プリント配線板に存在する部材の記載について、本発明の特徴をより良く理解できるように省略している。
【0010】
図1(a)、(b)において、本発明の一実施形態に係るプリント配線板1は、実装されている電子部品(図示せず)の4隅の直下部分に対応して、プリント配線板1の最上層2のC4エリア3の4隅のコーナー4のそれぞれに形成された第1の補強導体5-1と、第1の補強導体5-1に対応して、プリント配線板1の内層6に形成された第2の補強導体5-2と、第1の補強導体5-1と第2の補強導体5-2とを接続する複数のビア導体7と、を含んでいる。
(【0011】以降は省略されています)
この特許をJ-PlatPat(特許庁公式サイト)で参照する
関連特許
他の特許を見る