TOP
|
特許
|
意匠
|
商標
特許ウォッチ
Twitter
他の特許を見る
公開番号
2025136132
公報種別
公開特許公報(A)
公開日
2025-09-19
出願番号
2024034349
出願日
2024-03-06
発明の名称
情報処理装置、情報処理方法及びプログラム
出願人
ENEOS株式会社
代理人
個人
,
個人
,
個人
主分類
G16C
20/30 20190101AFI20250911BHJP(特定の用途分野に特に適合した情報通信技術)
要約
【課題】高分子の分子構造と、吸着エネルギーを効率的に算出する。
【解決手段】情報処理装置は、プロセッサを備える。前記プロセッサは、少なくとも2個以上の分子の構成を含む第1モデルと、前記第1モデルの平衡状態のエネルギーである第1エネルギーと、を取得し、前記第1モデルから指定した第1分子と、前記第1分子の近傍の1分子である第2分子と、に係るエネルギーを取得し、前記第1分子及び前記第2分子との間の物理量を算出する。
【選択図】図1
特許請求の範囲
【請求項1】
プロセッサを備え、
前記プロセッサは、
少なくとも2個以上の分子の構成を含む第1モデルと、前記第1モデルの平衡状態のエネルギーである第1エネルギーと、を取得し、
前記第1モデルから指定した第1分子と、前記第1分子の近傍の1分子である第2分子と、に係るエネルギーを取得し、
前記第1分子及び前記第2分子との間の物理量を算出する、
情報処理装置。
続きを表示(約 920 文字)
【請求項2】
前記プロセッサは、
前記少なくとも2個以上の分子の構成から前記第1モデルを生成して取得する、
請求項1に記載の情報処理装置。
【請求項3】
前記プロセッサは、
前記第1モデルに対して平衡状態を算出して、前記第1エネルギーを取得する、
請求項1に記載の情報処理装置。
【請求項4】
前記物理量は、相互作用エネルギー又は力である、
請求項1に記載の情報処理装置。
【請求項5】
前記プロセッサは、
前記第1モデルと同じ位置に存在する、前記第1分子及び前記第2分子、により構成される第2モデルを生成し、
前記第2モデルのエネルギーである第2エネルギーを取得し、
前記第2エネルギーに基づいて、前記第1分子及び前記第2分子との間の前記物理量を算出する、
請求項1に記載の情報処理装置。
【請求項6】
前記プロセッサは、
前記第1モデルから前記第1分子と、前記第2分子と、を除去した第2モデルを生成し、
前記第2モデルのエネルギーである第2エネルギーを取得し、
前記第1エネルギー及び前記第2エネルギーに基づいて、前記第1分子及び前記第2分子との間の前記物理量を算出する、
請求項1に記載の情報処理装置。
【請求項7】
前記第2分子は、前記第1分子から所定距離内に存在する、
請求項1に記載の情報処理装置。
【請求項8】
前記第2分子は、前記第1分子との間においてファンデルワールス力が発生する領域内に存在する、
請求項7に記載の情報処理装置。
【請求項9】
前記プロセッサは、
前記第1分子において、前記第2分子から最近の官能基と、算出した相互作用エネルギーと、を関連付ける、
請求項1に記載の情報処理装置。
【請求項10】
前記第1モデルは、無機界面を含むモデルである、
請求項1に記載の情報処理装置。
(【請求項11】以降は省略されています)
発明の詳細な説明
【技術分野】
【0001】
本開示は、情報処理装置、情報処理方法及びプログラムに関する。
続きを表示(約 1,700 文字)
【背景技術】
【0002】
相互作用エネルギー、吸着エネルギーとして知られる分子の凝集エネルギーは、当該分子のみで構成されるバルクのエネルギーと各分子のエネルギーの総和の差分として算出される。溶媒中の分子においても同様であり、バルクのエネルギーから当該分子のエネルギーを減算することで算出される。
【0003】
溶媒中の溶質分子は、溶媒分子との吸着現象が発生する。このため、所望の性質、特性を発現しうる分子を設計する際には、単分子の吸着の特徴を指標とすることが通例であり、それを容易に推定できる手法として分子シミュレーション手法、具体的には密度汎関数理論や分子動力学手法等が用いられてきた。しかしながら、これらの手法によっても、溶質が高分子等であり複数の官能基を有する場合には、この官能基等の分子構造に代表される局所的な構造と凝集エネルギーの関係を解析することは困難である。
【先行技術文献】
【特許文献】
【0004】
特開2021-156618号公報
【発明の概要】
【発明が解決しようとする課題】
【0005】
本開示の実施形態が解決しようとする限定されない課題の1つは、高分子の分子構造と、吸着エネルギーを効率的に算出することである。本開示の実施形態により解決しようとする課題は、上記に記載した課題に限定されるものではなく、さらに限定されないいくつかの課題の例として、実施形態において記載した効果に対応する課題、とすることもできる。すなわち、本開示の実施形態の説明において記載された効果のうち任意の少なくとも1つに対応する課題を本開示における解決しようとする課題とすることができる。
【課題を解決するための手段】
【0006】
一実施形態によれば、情報処理装置は、プロセッサを備える。前記プロセッサは、少なくとも2個以上の分子の構成を含む第1モデルと、前記第1モデルの平衡状態のエネルギーである第1エネルギーと、を取得し、前記第1モデルから指定した第1分子と、前記第1分子の近傍の1分子である第2分子と、に係るエネルギーを取得し、前記第1分子及び前記第2分子との間の物理量を算出する。
【図面の簡単な説明】
【0007】
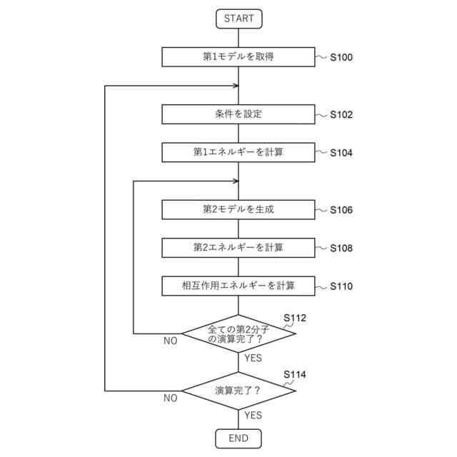
一実施形態に係るモデルの一例を模式的に示す図。
一実施形態に係るエネルギー算出処理を模式的に示す図。
一実施形態に係る処理の一例を示すフローチャート。
一実施形態に係るモデルの一例を模式的に示す図。
一実施形態に係る情報処理装置のハードウェア実装の一例を示す図。
【発明を実施するための形態】
【0008】
以下、図面を参照して本発明の実施形態について説明する。図面及び実施形態の説明は一例として示すものであり、本発明を限定するものではない。本開示において処理は、情報処理装置、より具体的には情報処理装置内の処理回路が実行するものであるとして説明するが、これに限定されるものではない。例えば、複数の情報処理装置により1つ又は複数の処理が実現されてもよいし、複数の種々の回路により1つ又は複数の処理が実現されてもよい。
【0009】
本開示においては、情報処理装置は、官能基等の分子構造に代表される局所的な構造と凝集エネルギーとの関係を解析する。情報処理装置の処理回路は、バルクのエネルギーと、溶質のエネルギーと、任意の溶媒分子のエネルギーとを用いる。
【0010】
図1は、一実施形態に係る局所的な構造におけるエネルギーを取得する対象を模式的に示す図である。それぞれの球は、原子を表し、高分子の構成を有する溶質が3原子の構成を有する溶媒内に存在している。斜線で表される領域(分子構造以外)は、エネルギー等の相互作用等の概念を示している。情報処理装置は、一実施形態において、この溶媒と溶質との間における局所的なエネルギー等の物性値を算出する。
(【0011】以降は省略されています)
この特許をJ-PlatPat(特許庁公式サイト)で参照する
関連特許
他の特許を見る