TOP
|
特許
|
意匠
|
商標
特許ウォッチ
Twitter
他の特許を見る
10個以上の画像は省略されています。
公開番号
2025136139
公報種別
公開特許公報(A)
公開日
2025-09-19
出願番号
2024034359
出願日
2024-03-06
発明の名称
コネクタ
出願人
日本航空電子工業株式会社
代理人
個人
主分類
H01R
12/71 20110101AFI20250911BHJP(基本的電気素子)
要約
【課題】ホールドダウンのバネ部の座屈を防止可能な構造を有するコネクタを提供すること。
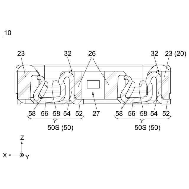
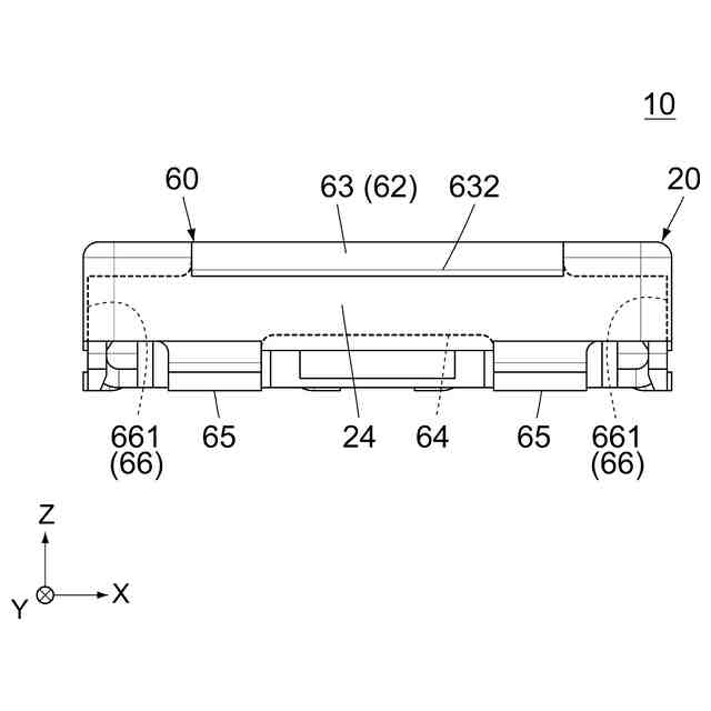
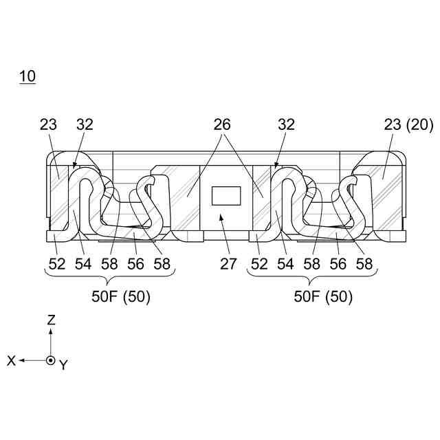
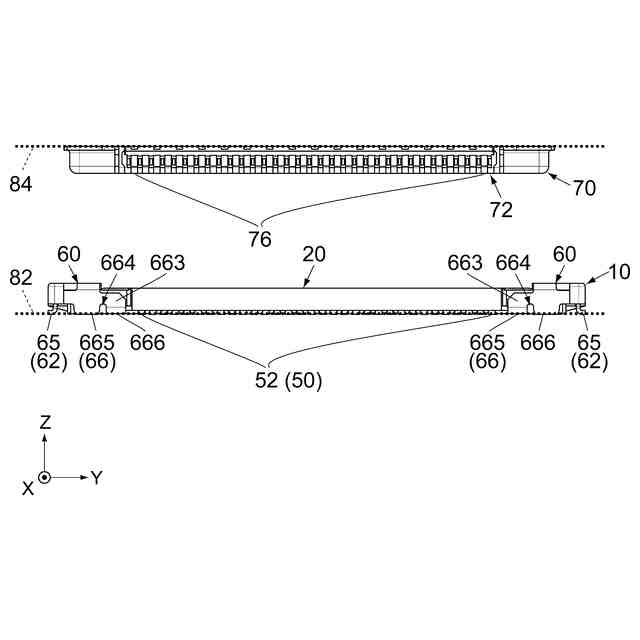
【解決手段】コネクタ10は、被保護部28を有するハウジング20と、ホールドダウン60とを備えている。ホールドダウン60は、基部62と、基部62の幅方向(X方向)における両側に夫々繋がった2つの側腕部66と、基部62からピッチ方向(Y方向)内側に延びる中腕部68とを有している。側腕部66の夫々は、ピッチ方向に沿って延びる側部664と、側部664の下端から幅方向内側に延びる延長部667と、延長部667から上方に向かって弾性変形可能に延びるバネ部668とを有している。中腕部68は、保護部684を有している。保護部684は、島状部26の被保護部28を覆っている。被保護部28には、バネ部668の弾性変形に伴う移動を許容する許容部282が形成されている。保護部684は、許容部282の上方に位置している。
【選択図】図10
特許請求の範囲
【請求項1】
ハウジングと、ホールドダウンとを備えるコネクタであって、
前記ハウジングは、2つの長壁部と、2つの短壁部と、島状部と、底部とを有しており、
前記長壁部の夫々は、ピッチ方向に沿って延びており、
前記短壁部の夫々は、前記長壁部を、前記ピッチ方向と直交する幅方向において互いに連結しており、
前記島状部は、前記ピッチ方向及び前記幅方向によって規定される水平面において前記短壁部及び前記長壁部によって囲まれており、
前記底部は、前記ピッチ方向及び前記幅方向の双方と直交する上下方向において前記ハウジングの下側に位置しており、
前記島状部は、前記長壁部及び前記短壁部の夫々と前記底部によって連結されており、
前記島状部は、被保護部を有しており、
前記被保護部は、前記島状部の前記ピッチ方向における端部に位置しており、
前記ホールドダウンは、基部と、2つの側腕部と、中腕部とを有しており、
前記基部は、カバー部を有しており、
前記カバー部は、前記短壁部を上方から覆っており、
2つの前記側腕部は、前記基部の前記幅方向における両側に夫々繋がっており、
前記側腕部の夫々は、サイドカバー部と、側部と、延長部と、バネ部と、接点とを有しており、
前記側腕部の夫々において、前記サイドカバー部は、前記長壁部を上方から覆っており、前記側部は、前記サイドカバー部の前記幅方向における外側の部位に繋がっており、前記ピッチ方向に沿って延びており、前記延長部は、前記側部の下端から前記幅方向における内側に向かって延びており、前記バネ部は、前記延長部から上方に向かって弾性変形可能に延びており、前記接点は、前記バネ部に支持されており、
前記中腕部は、中間部と、保護部とを有しており、
前記中間部は、前記基部から前記ピッチ方向における内側に向かって延びており、
前記保護部は、前記中間部から延びており、前記島状部の前記被保護部を覆っており、
前記被保護部には、2つの許容部が形成されており、
2つの前記許容部は、前記幅方向における内側に向かって凹んでおり、前記バネ部の弾性変形に伴う移動を夫々許容し、
前記保護部は、2つの前記許容部の上方に位置しており、
前記側腕部の夫々において、前記側部の下端と前記延長部との間の境界には、曲げ部が形成されている
コネクタ。
続きを表示(約 310 文字)
【請求項2】
請求項1記載のコネクタであって、
前記側腕部の夫々は、連結部を有しており、
前記側腕部の夫々において、前記連結部は、前記基部と前記側部とを互いに連結している
コネクタ。
【請求項3】
請求項1又は請求項2記載のコネクタであって、
前記中腕部は、埋設部を有しており、
前記埋設部は、前記島状部の内部に埋設されており、
前記埋設部は、第1部位と、第2部位とを有しており、
前記第1部位は、前記保護部から下方に向かって延びており、前記第2部位は、前記第1部位からピッチ方向における外側に向かって延びている
コネクタ。
発明の詳細な説明
【技術分野】
【0001】
本発明は、ホールドダウンを備えたコネクタに関する。
続きを表示(約 2,200 文字)
【背景技術】
【0002】
例えば、特許文献1には、このタイプのコネクタが開示されている。
【0003】
図15を参照すると、特許文献1のコネクタ90は、絶縁本体(ハウジング)92と、2つのガイド部材(ホールドダウン)94とを備えている。ホールドダウン94は、ハウジング92のピッチ方向における両端に夫々取り付けられている。ホールドダウン94は、ハウジング92を補強するとともに、相手側コネクタ98がコネクタ90と嵌合する際に相手側コネクタ98をガイドする。図15を図16と併せて参照すると、ホールドダウン94の夫々は、2つの接触部(バネ部)96を有している。バネ部96の夫々は、コネクタ90と相手側コネクタ98とが嵌合した嵌合状態において、大電流が流れる端子として機能する。
【先行技術文献】
【特許文献】
【0004】
国際公開第2018/236070号
【発明の概要】
【発明が解決しようとする課題】
【0005】
相手側コネクタ98がコネクタ90と嵌合する際、バネ部96が相手側コネクタ98に突き当たって座屈するおそれがある。
【0006】
そこで、本発明は、ホールドダウンのバネ部の座屈を防止可能な構造を有するコネクタを提供することを目的とする。
【課題を解決するための手段】
【0007】
本発明は、第1のコネクタとして、
ハウジングと、ホールドダウンとを備えるコネクタであって、
前記ハウジングは、2つの長壁部と、2つの短壁部と、島状部と、底部とを有しており、
前記長壁部の夫々は、ピッチ方向に沿って延びており、
前記短壁部の夫々は、前記長壁部を、前記ピッチ方向と直交する幅方向において互いに連結しており、
前記島状部は、前記ピッチ方向及び前記幅方向によって規定される水平面において前記短壁部及び前記長壁部によって囲まれており、
前記底部は、前記ピッチ方向及び前記幅方向の双方と直交する上下方向において前記ハウジングの下側に位置しており、
前記島状部は、前記長壁部及び前記短壁部の夫々と前記底部によって連結されており、
前記島状部は、被保護部を有しており、
前記被保護部は、前記島状部の前記ピッチ方向における端部に位置しており、
前記ホールドダウンは、基部と、2つの側腕部と、中腕部とを有しており、
前記基部は、カバー部を有しており、
前記カバー部は、前記短壁部を上方から覆っており、
2つの前記側腕部は、前記基部の前記幅方向における両側に夫々繋がっており、
前記側腕部の夫々は、サイドカバー部と、側部と、延長部と、バネ部と、接点とを有しており、
前記側腕部の夫々において、前記サイドカバー部は、前記長壁部を上方から覆っており、前記側部は、前記サイドカバー部の前記幅方向における外側の部位に繋がっており、前記ピッチ方向に沿って延びており、前記延長部は、前記側部の下端から前記幅方向における内側に向かって延びており、前記バネ部は、前記延長部から上方に向かって弾性変形可能に延びており、前記接点は、前記バネ部に支持されており、
前記中腕部は、中間部と、保護部とを有しており、
前記中間部は、前記基部から前記ピッチ方向における内側に向かって延びており、
前記保護部は、前記中間部から延びており、前記島状部の前記被保護部を覆っており、
前記被保護部には、2つの許容部が形成されており、
2つの前記許容部は、前記幅方向における内側に向かって凹んでおり、前記バネ部の弾性変形に伴う移動を夫々許容し、
前記保護部は、2つの前記許容部の上方に位置しており、
前記側腕部の夫々において、前記側部の下端と前記延長部との間の境界には、曲げ部が形成されている
コネクタを提供する。
【0008】
本発明は、第2のコネクタとして、第1のコネクタであって、
前記側腕部の夫々は、連結部を有しており、
前記側腕部の夫々において、前記連結部は、前記基部と前記側部とを互いに連結している
コネクタを提供する。
【0009】
本発明は、第3のコネクタとして、第1又は第2のコネクタであって、
前記中腕部は、埋設部を有しており、
前記埋設部は、前記島状部の内部に埋設されており、
前記埋設部は、第1部位と、第2部位とを有しており、
前記第1部位は、前記保護部から下方に向かって延びており、前記第2部位は、前記第1部位からピッチ方向における外側に向かって延びている
コネクタを提供する。
【発明の効果】
【0010】
本発明によれば、ホールドダウンの延長部は、側部を形成する金属板を側部の下端において幅方向内側に曲げることで形成できる。延長部と側部との間の境界部は、上述のように形成された曲げ部であり、基板に強固に半田付けできる。また、本発明によれば、バネ部を島状部の近傍に配置できるため、長壁部にバネ部の弾性変形を許容する空間を形成する必要がない。このため、ハウジングの強度を高めることができる。
(【0011】以降は省略されています)
この特許をJ-PlatPat(特許庁公式サイト)で参照する
関連特許
他の特許を見る