TOP
|
特許
|
意匠
|
商標
特許ウォッチ
Twitter
他の特許を見る
公開番号
2025138233
公報種別
公開特許公報(A)
公開日
2025-09-25
出願番号
2024037205
出願日
2024-03-11
発明の名称
データ処理装置、方法及びプログラム
出願人
富士フイルム株式会社
代理人
個人
,
個人
,
個人
,
個人
,
個人
主分類
A61B
6/03 20060101AFI20250917BHJP(医学または獣医学;衛生学)
要約
【課題】画像選別の正確性を向上できるデータ処理装置、方法及びプログラムを提供する。
【解決手段】 スペクトラルCT装置によって取得される複数スライスのデータを処理するデータ処理装置であって、プロセッサを備え、プロセッサは、データに基づいて生成される第1画像を表示先に出力し、表示先に出力された第1画像上で解析対象とする領域の設定を受け付け、データに基づいて生成される複数スライスの第2画像を解析して、領域における物質の分布をスライスごとに示した統計情報を生成し、統計情報を表示先に出力する。
【選択図】図4
特許請求の範囲
【請求項1】
スペクトラルCT装置によって取得される複数スライスのデータを処理するデータ処理装置であって、
プロセッサを備え、
前記プロセッサは、
前記データに基づいて生成される第1画像を表示先に出力し、
前記表示先に出力された前記第1画像上で解析対象とする領域の設定を受け付け、
前記データに基づいて生成される複数スライスの第2画像を解析して、前記領域における物質の分布をスライスごとに示した統計情報を生成し、
前記統計情報を前記表示先に出力する、
データ処理装置。
続きを表示(約 1,100 文字)
【請求項2】
前記第2画像が、物質弁別画像であり、
前記プロセッサは、
前記データに基づいて生成される複数スライスの物質弁別画像を解析して、前記領域における物質の密度値の分布をスライスごとに示した統計情報を生成する、
請求項1に記載のデータ処理装置。
【請求項3】
前記プロセッサは、
前記統計情報として、前記領域における密度値ごとの面積をスライスごとに示すヒストグラムを生成する、
請求項2に記載のデータ処理装置。
【請求項4】
前記プロセッサは、
前記ヒストグラムに表示させる密度値の範囲の設定を受け付け、
設定された前記密度値の範囲内で前記ヒストグラムを生成する、
請求項3に記載のデータ処理装置。
【請求項5】
前記第1画像が、物質弁別画像であり、
前記プロセッサは、
前記データに基づいて生成される物質弁別画像を前記表示先に出力し、
前記表示先に出力された物質弁別画像上で前記領域の設定を受け付ける、
請求項2に記載のデータ処理装置。
【請求項6】
前記第2画像が、実効原子番号画像であり、
前記プロセッサは、
前記データに基づいて生成される複数スライスの実効原子番号画像を解析して、前記領域における実効原子番号の分布をスライスごとに示した統計情報を生成する、
請求項1に記載のデータ処理装置。
【請求項7】
前記プロセッサは、
前記統計情報として、前記領域における実効原子番号ごとのカウント数をスライスごとに示すヒストグラムを生成する、
請求項6に記載のデータ処理装置。
【請求項8】
前記プロセッサは、
閾値の設定を受け付け、
前記閾値以上のカウント数の部分が強調して表示された前記ヒストグラムを生成する、
請求項7に記載のデータ処理装置。
【請求項9】
前記第1画像が、実効原子番号画像であり、
前記プロセッサは、
前記データに基づいて生成される実効原子番号画像を前記表示先に出力し、
前記表示先に出力された実効原子番号画像上で前記領域の設定を受け付ける、
請求項6に記載のデータ処理装置。
【請求項10】
前記プロセッサは、
解析対象とする前記第2画像の範囲の設定を受け付け、
設定された範囲内で前記第2画像を解析して、前記統計情報を生成する、
請求項1から9のいずれか1項に記載のデータ処理装置。
(【請求項11】以降は省略されています)
発明の詳細な説明
【技術分野】
【0001】
本発明は、データ処理装置、方法及びプログラムに係り、特にスペクトラルCT(Computed Tomography)装置で得られるデータを処理するデータ処理装置、方法及びプログラムに関する。
続きを表示(約 1,100 文字)
【背景技術】
【0002】
X線のエネルギー情報を利用したX線CT装置として、スペクトラルCT装置(マルチエナジーCT装置)が知られている(たとえば、特許文献1-4等参照)。スペクトラルCT装置で得られるデータからは、仮想単色X線画像、実効原子番号画像及び物質弁別画像等、様々な情報を持った画像を再構成できる。
【先行技術文献】
【特許文献】
【0003】
特開2022-065390号公報
特開2018-139754号公報
特開2016-55164号公報
特開2015-144808号公報
【発明の概要】
【発明が解決しようとする課題】
【0004】
ところで、X線CT装置を用いた検査では、1回の検査で数十~数千枚の画像が撮影される。このため、どのスライスに症状特有の物質が存在するかを確認するのが困難という問題がある。
【0005】
本開示の技術に係る1つの実施形態は、画像選別の正確性を向上できるデータ処理装置、方法及びプログラムを提供する。
【課題を解決するための手段】
【0006】
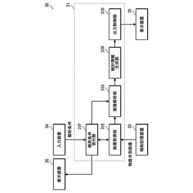
(1) スペクトラルCT装置によって取得される複数スライスのデータを処理するデータ処理装置であって、プロセッサを備え、プロセッサは、データに基づいて生成される第1画像を表示先に出力し、表示先に出力された第1画像上で解析対象とする領域の設定を受け付け、データに基づいて生成される複数スライスの第2画像を解析して、領域における物質の分布をスライスごとに示した統計情報を生成し、統計情報を表示先に出力する、データ処理装置。
【0007】
(2)第2画像が、物質弁別画像であり、プロセッサは、データに基づいて生成される複数スライスの物質弁別画像を解析して、領域における物質の密度値の分布をスライスごとに示した統計情報を生成する、(1)に記載のデータ処理装置。
【0008】
(3)プロセッサは、統計情報として、領域における密度値ごとの面積をスライスごとに示すヒストグラムを生成する、(2)に記載のデータ処理装置。
【0009】
(4)プロセッサは、ヒストグラムに表示させる密度値の範囲の設定を受け付け、設定された密度値の範囲内でヒストグラムを生成する、(2)又は(3)に記載のデータ処理装置。
【0010】
(5)第1画像が、物質弁別画像であり、プロセッサは、データに基づいて生成される物質弁別画像を表示先に出力し、表示先に出力された物質弁別画像上で領域の設定を受け付ける、(2)から(4)のいずれか1つに記載のデータ処理装置。
(【0011】以降は省略されています)
この特許をJ-PlatPat(特許庁公式サイト)で参照する
関連特許
他の特許を見る