TOP
|
特許
|
意匠
|
商標
特許ウォッチ
Twitter
他の特許を見る
10個以上の画像は省略されています。
公開番号
2025141304
公報種別
公開特許公報(A)
公開日
2025-09-29
出願番号
2024041178
出願日
2024-03-15
発明の名称
能動型防振装置及びその製造方法
出願人
本田技研工業株式会社
代理人
弁理士法人磯野国際特許商標事務所
主分類
F16F
13/30 20060101AFI20250919BHJP(機械要素または単位;機械または装置の効果的機能を生じ維持するための一般的手段)
要約
【課題】本発明の能動型防振装置は、磁気粘弾性流体を充填する液室の容積を増大させることなく液室における磁気粘弾性流体の磁性粉の沈殿による性能低下を抑制する。
【解決手段】本発明の能動型防振装置1は、磁場発生部としての電磁コイル12と、磁性体である外側部材61と、磁性体である内側部材62と、第1液室15と、第2液室21とは、内筒3と外筒2との径方向の間に設けられている。また、第1液室15と第2液室21とは、内筒3の軸方向に延びる可撓部材14によって仕切られるとともに、可撓部材14は、磁性体である外側部材61によって支持されている。
【選択図】図5
特許請求の範囲
【請求項1】
外筒と、
前記外筒の内周側に配置される内筒と、
磁場を発生させる磁場発生部と、
前記磁場による磁路を形成する磁性体と、
磁気粘弾性流体で満たされた第1液室と、
前記第1液室に隣接し、液体で満たされた第2液室と、
を有する能動型防振装置であって、
前記磁場発生部と、前記磁性体と、前記第1液室と、前記第2液室とは、前記内筒と前記外筒との径方向の間に設けられ、
前記第1液室と、前記第2液室とは可撓部材によって仕切られ、
前記可撓部材は、前記内筒の軸方向に延び、
前記第1液室の一部は、前記磁路上に位置する前記磁気粘弾性流体の流路を形成していることを特徴とする能動型防振装置。
続きを表示(約 1,400 文字)
【請求項2】
前記可撓部材は、径方向外側に位置するケージと、このケージよりも径方向内側に位置する前記磁性体によって保持され、
前記弾性体は、前記ケージに接続し、前記磁性体には接続していないことを特徴とする請求項1に記載の能動型防振装置。
【請求項3】
前記外筒は、前記ケージが内側にある状態で径方向内側に向かって絞り加工されていることを特徴とする請求項2に記載の能動型防振装置。
【請求項4】
前記ケージは、前記外筒に沿って延びる筒部のみで形成されていることを特徴とする請求項3に記載の能動型防振装置。
【請求項5】
前記第2液室は、前記可撓部材側の径方向外側に位置する隣接液室と、軸方向で前記弾性体を挟んで前記隣接液室とは逆側に位置する主液室とを備え、
前記ケージと前記外筒との間で前記主液室と前記隣接液室とを接続する接続通路を備えることを特徴とする請求項2に記載の能動型防振装置。
【請求項6】
能動型防振装置は、トレーリングアームを車体に接続するブッシュであり、
前記主液室は、上下方向に延びる第1隔壁を中に挟むように一対形成されており、
前記隣接液室は、軸方向にみて前記第1隔壁の延在方向と交差する方向に延びる第2隔壁を中に挟むように一対形成されており、
前記第1液室は、前記隣接液室に対応して上下に設けられており、
前記第1液室のオリフィスは、前記第2隔壁に対応する位置に設けられていることを特徴とする請求項5に記載の能動型防振装置。
【請求項7】
前記接続通路は、前記液体が前記接続通路を流れるときの抵抗よりも、前記磁場発生部からの磁場が作用していない状態で前記オリフィスを前記磁気粘弾性流体が流れるときの抵抗よりも小さくなる断面積に設定されていることを特徴とする請求項6に記載の能動型防振装置。
【請求項8】
前記第1液室は、前記可撓部材と前記磁性体との間に設けられ、
前記第2液室は、前記可撓部材と前記外筒との間に設けられていることを特徴とする請求項2に記載の能動型防振装置。
【請求項9】
請求項1に記載の能動型防振装置の製造方法であって、
前記内筒の外表面に前記弾性体を一体成形して前記第2液室を形成する第2液室形成部の作製工程と、
前記磁場発生部と、前記磁性体と、前記可撓部材とを、前記磁気粘弾性流体からなる液中で組み合わせることによって前記磁気粘弾性流体で満たされた前記第1液室を形成する第1液室形成部の作製工程と、
前記第1液室と、前記第2液室とが前記内筒の軸方向に延びる前記可撓部材によって仕切られるとともに前記磁性体によって支持され、前記磁性体と前記内筒とが前記弾性体で接続されるように、前記第1液室形成部と前記第2液室形成部とを組み立てた組立体の作製工程と、
前記液体からなる液中で、前記外筒の内側に前記組立体を挿入することによって第2液室を前記液体で満たすとともに、前記外筒内に前記組立体を固定する固定工程と、
を有することを特徴とする能動型防振装置の製造方法。
【請求項10】
前記外筒内に前記組立体を固定する前記固定工程は、前記外筒を径方向内側に向かって絞り加工する工程をさらに含むことを特徴とする請求項9に記載の能動型防振装置の製造方法。
発明の詳細な説明
【技術分野】
【0001】
本発明は、能動型防振装置及びその製造方法に関する。
続きを表示(約 2,600 文字)
【背景技術】
【0002】
近年、交通参加者の中でも高齢者や障がい者や子供といった脆弱な立場にある人々にも配慮した持続可能な輸送システムへのアクセスを提供する取り組みが活発化している。この実現に向けて車両の居住性に関する開発を通して交通の安全性や利便性をより一層改善する研究開発に注力している。
従来、車室内での音や振動の抑制による車両の居住性の向上を目的に、サブフレームマウント、サスペンションブッシュなどに使用される能動型防振装置が提案されている(例えば、特許文献1参照)。具体的にはこの能動型防振装置は、磁気粘弾性流体で満たされた2つの液室同士が流路で繋げられているとともに、流路に対して交差する方向に磁路を形成する励磁コイルを備えている。この能動型防振装置によれば、入力する振動振幅の大きさに対応して一方の液室から他方の液室に向けて磁気粘弾性流体が流路を流れようとする。この際、能動型防振装置は、励磁コイルの発生する磁束密度を可変とすることで、磁気粘弾性流体の流れを制御する。これにより能動型防振装置は、入力される振動振幅の大きさに対応して自在な減衰特性を発揮する。
【先行技術文献】
【特許文献】
【0003】
特開2021-71117号公報
【発明の概要】
【発明が解決しようとする課題】
【0004】
従来の能動型防振装置(例えば、特許文献1参照)においては、入力される振動振幅に対する応答性能の向上を目的に液室の容積を増大させることもできるが、磁性粉を含んで比較的重く、かつ高価な磁気粘弾性流体の液室への充填量が増大する。これにより能動型防振装置は、製造コストが増大するとともにこれを搭載する車重が増大するという新たな問題を生じる。また、能動型防振装置は、磁気粘弾性流体の使用量が増大すると、磁気粘弾性流体に含まれる磁性粉の沈殿する絶対量も多くなって能動型防振装置の性能が低下する恐れもある。
【0005】
本発明は、磁気粘弾性流体を充填する液室の容積を増大させることなく入力される振動や荷重といった外力に対する応答性能の向上を図ることができるとともに液室における磁気粘弾性流体の磁性粉の沈殿による性能低下をも抑制することができる能動型防振装置及びその製造方法の提供を目的としたものである。そして、延いては持続可能な輸送システムの発展に寄与するものである。
【課題を解決するための手段】
【0006】
本発明は、外筒と、前記外筒の内周側に配置される内筒と、磁場を発生させる磁場発生部と、前記磁場による磁路を形成する磁性体と、磁気粘弾性流体で満たされた第1液室と、前記第1液室に隣接し、液体で満たされた第2液室と、を有する能動型防振装置であって、前記磁場発生部と、前記磁性体と、前記第1液室と、前記第2液室とは、前記内筒と前記外筒との径方向の間に設けられ、前記第1液室と、前記第2液室とは可撓部材によって仕切られ、前記可撓部材は、前記内筒の軸方向に延び、前記第1液室の一部は、前記磁路上に位置する前記磁気粘弾性流体の流路を形成していることを特徴とする。
【0007】
また、本発明は、前記の能動型防振装置の製造方法であって、前記内筒の外表面に前記弾性体を一体成形して前記第2液室を形成する第2液室形成部の作製工程と、前記磁場発生部と、前記磁性体と、前記可撓部材とを、前記磁気粘弾性流体からなる液中で組み合わせることによって前記磁気粘弾性流体で満たされた前記第1液室を形成する第1液室形成部の作製工程と、前記第1液室と、前記第2液室とが前記内筒の軸方向に延びる前記可撓部材によって仕切られるとともに前記磁性体によって支持され、前記磁性体と前記内筒とが前記弾性体で接続されるように、前記第1液室形成部と前記第2液室形成部とを組み立てた組立体の作製工程と、前記液体からなる液中で、前記外筒の内側に前記組立体を挿入することによって第2液室を前記液体で満たすとともに、前記外筒内に前記組立体を固定する固定工程と、を有することを特徴とする。
【発明の効果】
【0008】
本発明の能動型防振装置及びその製造方法によれば、磁気粘弾性流体を充填する液室の容積を増大させることなく入力される振動や荷重といった外力に対する応答性能の向上を図ることができるとともに液室における磁気粘弾性流体の磁性粉の沈殿による性能低下をも抑制することができる。
【図面の簡単な説明】
【0009】
本発明の実施形態に係る能動型防振装置を備えるリヤサスペンションの部分拡大斜視図である。
本発明の実施形態に係る能動型防振装置の全体斜視図である。
図1BのIIA-IIA断面図である。
図1BのIIB-IIB断面である。
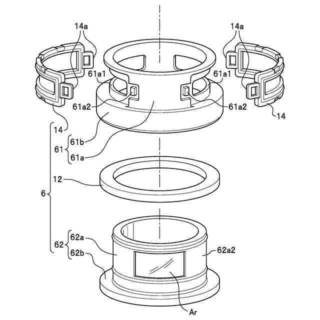
図1Bに示す能動型防振装置の分解斜視図である。
能動型防振装置を構成する第1液室形成部と第2液室形成部の組立体の全体斜視図である。
図1BのV-V断面図である。
第2液室形成部に埋設されるケージの全体斜視図である。
能動型防振装置を構成する第1液室形成部の分解斜視図である。
図2BのVIII-VIII断面を含む能動型防振装置の部分拡大斜視図である。
第1液室のオリフィスに磁場が印加された際の磁性粉の動作を示す模式図である。
本発明の他の実施形態に係る能動型防振装置の全体斜視図である。
図10AのXB-XB断面図である。
【発明を実施するための形態】
【0010】
次に、本発明の能動型防振装置を実施するための形態(実施形態)について、適宜図面を参照しながら詳細に説明する。
以下では、車両のサスペンションに適用される能動型防振装置を例にとって説明するが、本発明はこれに限定されるものではなく、例えば車体フレーム(サブフレームを含む)に接続される部材との間に配置されるマウントブッシュなどの車両用防音防振装置にも適用され得る。
まず、本実施形態の能動型防振装置を適用したリヤサスペンションの全体構成について説明した後に能動型防振装置についてさらに詳しく説明する。
(【0011】以降は省略されています)
この特許をJ-PlatPat(特許庁公式サイト)で参照する
関連特許
他の特許を見る