TOP
|
特許
|
意匠
|
商標
特許ウォッチ
Twitter
他の特許を見る
公開番号
2025144127
公報種別
公開特許公報(A)
公開日
2025-10-02
出願番号
2024043749
出願日
2024-03-19
発明の名称
容器およびその製造方法
出願人
デンカ株式会社
代理人
個人
,
個人
,
個人
,
個人
主分類
B65D
25/20 20060101AFI20250925BHJP(運搬;包装;貯蔵;薄板状または線条材料の取扱い)
要約
【課題】より人の視覚に訴えるデザインを容器に施すこと。
【解決手段】容器の製造方法は、目標デザインを分割して得られる第1部分デザインおよび第2部分デザインを準備する工程と、容器本体を成形するための第1シート領域上に、第1部分デザインに対応する第1準備デザインを配置し、蓋体を成形するための第2シート領域上に、第2部分デザインに対応する第2準備デザインを配置する工程と、第1準備デザインが配置された第1シート領域を成形して容器本体を作製し、第2準備デザインが配置された第2シート領域を成形して蓋体を作製する工程とを含む。配置する工程では、蓋体が容器本体の開口を閉じた際に第1部分デザインおよび第2部分デザインがつながって目標デザインが形成されるように、第1準備デザインおよび第2準備デザインのそれぞれが配置される。
【選択図】図5
特許請求の範囲
【請求項1】
目標デザインを分割して得られる第1部分デザインおよび第2部分デザインを準備する工程であって、該第1部分デザインが容器本体上に表示され、該第2部分デザインが、該容器本体の開口を閉じる蓋体上に表示される、該準備する工程と、
前記容器本体を成形するための第1シート領域上に、前記第1部分デザインに対応する第1準備デザインを配置し、前記蓋体を成形するための第2シート領域上に、前記第2部分デザインに対応する第2準備デザインを配置する工程と、
前記第1準備デザインが配置された前記第1シート領域を成形して前記容器本体を作製し、前記第2準備デザインが配置された前記第2シート領域を成形して前記蓋体を作製する工程と、
を含み、
前記配置する工程では、前記蓋体が前記容器本体の開口を閉じた際に前記第1部分デザインおよび前記第2部分デザインがつながって前記目標デザインが形成されるように、前記第1準備デザインおよび前記第2準備デザインのそれぞれを配置する、
容器の製造方法。
続きを表示(約 1,300 文字)
【請求項2】
試作用シートを用いて前記容器本体および前記蓋体を仮作製する工程と、
前記仮作製された容器本体上に前記第1部分デザインを仮配置し、前記仮作製された蓋体上に前記第2部分デザインを仮配置する工程と、
前記仮配置された第1部分デザインを表示する前記仮作製された容器本体の第1表示領域を平面に変換して前記第1準備デザインを取得し、前記仮配置された第2部分デザインを表示する前記仮作製された蓋体の第2表示領域を平面に変換して前記第2準備デザインを取得する工程と、
を更に含み、
前記配置する工程では、前記取得された第1準備デザインを前記第1シート領域上に配置し、前記取得された第2準備デザインを前記第2シート領域上に配置する、
請求項1に記載の容器の製造方法。
【請求項3】
前記取得する工程では、前記平面に変換された前記第1表示領域によって変形した前記第1部分デザインの第1縁部を前記第1準備デザインの少なくとも一部として取得し、前記平面に変換された前記第2表示領域によって変形した前記第2部分デザインの第2縁部を前記第2準備デザインの少なくとも一部として取得し、
前記配置する工程では、前記変形した第1縁部を含む前記第1準備デザインを前記第1シート領域上に配置し、前記変形した前記第2縁部を含む前記第2準備デザインを前記第2シート領域上に配置する、
請求項2に記載の容器の製造方法。
【請求項4】
前記第2シート領域が透明であり、
前記第2シート領域が、前記蓋体の頂面に対応する頂面領域と、該頂面領域以外の残領域とを含み、
前記配置する工程では、前記頂面領域に前記第2準備デザインを配置することなく、前記残領域内に前記第2準備デザインを配置する、
請求項1~3のいずれか一項に記載の製造方法。
【請求項5】
前記配置する工程では、シート上へのデザインの印刷と、デザインが表示されたフィルムのシート上への貼付との一方により、前記第1準備デザインおよび前記第2準備デザインのそれぞれを配置する、
請求項1~3のいずれか一項に記載の製造方法。
【請求項6】
天面において開口を有する容器本体と、
前記容器本体に取り付けられることで前記開口を閉じる蓋体と、
を備え、
前記容器本体上に、目標デザインを分割して得られ前記容器本体上に表示されるデザインである第1部分デザインが配置され、
前記蓋体上に、前記目標デザインを分割して得られ前記蓋体上に表示されるデザインである第2部分デザインが配置され、
前記蓋体が前記開口を閉じた際に、第1部分デザインおよび第2部分デザインがつながって前記目標デザインが形成される、
容器。
【請求項7】
前記蓋体が、透明なシートにより形成され、
前記蓋体が、頂面と、該頂面以外の残部とにより構成され、
前記第2部分デザインが、前記頂面に配置されることなく、前記残部内に配置される、
請求項6に記載の容器。
発明の詳細な説明
【技術分野】
【0001】
本開示の一側面は容器およびその製造方法に関する。
続きを表示(約 1,700 文字)
【背景技術】
【0002】
デザインが施された容器の製造方法が知られている。例えば特許文献1には、複合フィルムを変形させて立体形状を有する容器を成形する成形工程において該複合フィルムに生じる変形の方向および量の分布に基づいて、該変形が補償されるように予め変形させた少なくとも一つの文字、図形または記号を印刷用フィルムに印刷する容器の製造方法が記載されている。
【先行技術文献】
【特許文献】
【0003】
特許第7303136号公報
【発明の概要】
【発明が解決しようとする課題】
【0004】
より人の視覚に訴えるデザインを容器に施す手法が望まれている。
【課題を解決するための手段】
【0005】
本開示の一側面に係る容器の製造方法は、目標デザインを分割して得られる第1部分デザインおよび第2部分デザインを準備する工程であって、該第1部分デザインが容器本体上に表示され、該第2部分デザインが、該容器本体の開口を閉じる蓋体上に表示される、該準備する工程と、容器本体を成形するための第1シート領域上に、第1部分デザインに対応する第1準備デザインを配置し、蓋体を成形するための第2シート領域上に、第2部分デザインに対応する第2準備デザインを配置する工程と、第1準備デザインが配置された第1シート領域を成形して容器本体を作製し、第2準備デザインが配置された第2シート領域を成形して蓋体を作製する工程とを含み、配置する工程では、蓋体が容器本体の開口を閉じた際に第1部分デザインおよび第2部分デザインがつながって目標デザインが形成されるように、第1準備デザインおよび第2準備デザインのそれぞれを配置する。
【0006】
このような側面においては、目標デザインが容器本体側の第1部分デザインと蓋体側の第2部分デザインとに分かれて配置される。この配置は、蓋体が容器本体の開口を閉じた際にそれらの部分デザインがつながって目標デザインが形成されるように行われる。容器本体と蓋体とを跨ぐように表示される目標デザインは、容器本体と蓋体との一方にのみ配置されるデザイン、および、容器本体と蓋体とのそれぞれに個別に配置されるデザインよりも、人の目を引き付けると期待できる。すなわち、より人の視覚に訴えるデザインを容器に施すことが可能になる。
【発明の効果】
【0007】
本開示の一側面によれば、より人の視覚に訴えるデザインを容器に施すことができる。
【図面の簡単な説明】
【0008】
閉じた状態にある容器の斜視図である。
開いた状態にある容器の斜視図である。
第1部分デザインと第2部分デザインとのつながりの例を示す図である。
第1部分デザインと第2部分デザインとのつながりの例を示す図である。
容器の製造方法の例を示すフローチャートである。
デザインの配置の例を模式的に示す図である。
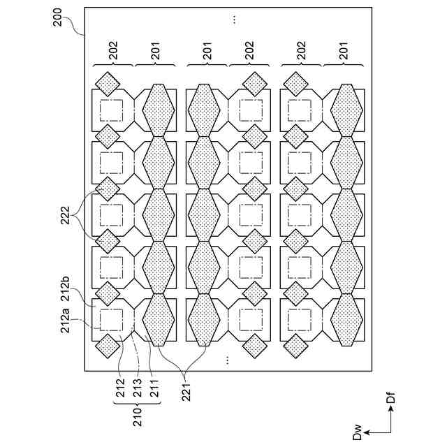
シート上への準備デザインの配置の例を示す図である。
【発明を実施するための形態】
【0009】
以下、添付図面を参照しながら本開示での様々な例を詳細に説明する。図面の説明において同一または同等の要素には同一の符号を付し、重複する説明を省略する。
【0010】
[容器]
本開示に係る容器とは、内容物を収容するための物品をいう。容器は、内容物を収容するための容器本体と、該容器本体に着脱可能に装着される蓋体とを備える。容器本体は天面において開口を有する。天面とは、容器本体の底面に対向するとともに容器本体の上端に位置する仮想的な面をいう。蓋体は容器本体に取り付けられることでその開口を閉じる。開口が蓋体によって閉じられた場合に、容器本体から蓋体へと向かう方向が規定される。本開示ではその方向を高さ方向といい、該高さ方向と直交する方向を水平方向という。高さ方向において、蓋体によって閉じられた容器本体が位置する側を下方といい、該蓋体が位置する側を上方という。高さ方向に沿って対象物を上方から見た場合を平面視という。
(【0011】以降は省略されています)
この特許をJ-PlatPat(特許庁公式サイト)で参照する
関連特許
他の特許を見る