TOP
|
特許
|
意匠
|
商標
特許ウォッチ
Twitter
他の特許を見る
公開番号
2025144714
公報種別
公開特許公報(A)
公開日
2025-10-03
出願番号
2024044535
出願日
2024-03-21
発明の名称
水噴霧ヘッド
出願人
能美防災株式会社
代理人
個人
主分類
B05B
1/32 20060101AFI20250926BHJP(霧化または噴霧一般;液体または他の流動性材料の表面への適用一般)
要約
【課題】火災時における水の使用量を低減し、ポンプや水槽を小型化してコストを低減できる水噴霧ヘッドを提供する。
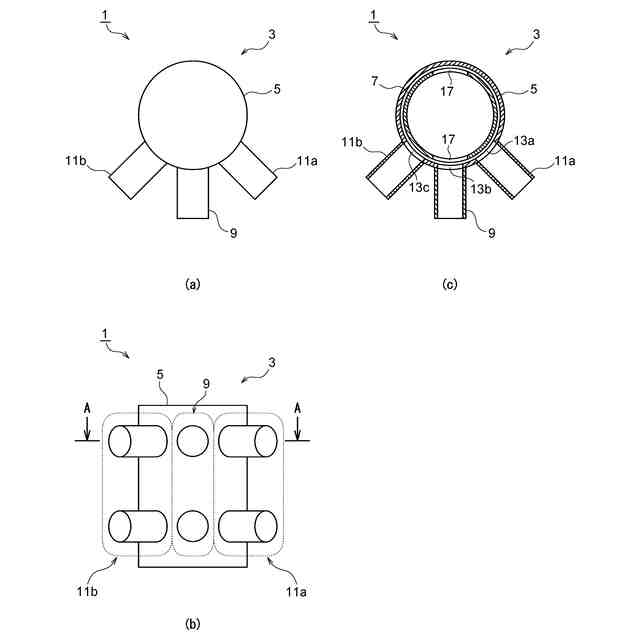
【解決手段】本発明に係る水噴霧ヘッド1は、給水管から給水を受けるヘッド本体3と、ヘッド本体3に取り付けられた放水方向の異なる複数のノズル9、11a、11bと、を備えたものであって、複数のノズル9、11a、11bは、ヘッド本体3に形成された連通口13a~13cを介してヘッド本体3と連通し、一部の連通口13a~13cを開放しつつその他の連通口13a~13cを閉鎖可能な開閉機構を備え、開閉機構が開放する連通口13a~13cを順次切り替えることによって、放水方向が順次切り替わることを特徴とするものである。
【選択図】 図1
特許請求の範囲
【請求項1】
給水管から給水を受けるヘッド本体と、該ヘッド本体に取り付けられた放水方向の異なる複数のノズルと、を備えた水噴霧ヘッドであって、
前記複数のノズルは、前記ヘッド本体に形成された連通口を介して該ヘッド本体と連通し、
一部の前記連通口を開放しつつその他の前記連通口を閉鎖可能な開閉機構を備え、該開閉機構が開放する連通口を順次切り替えることによって、放水方向が順次切り替わることを特徴とする水噴霧ヘッド。
続きを表示(約 590 文字)
【請求項2】
給水管から給水を受けるヘッド本体と、該ヘッド本体に取り付けられた放水方向の異なる複数のノズルと、を備えた水噴霧ヘッドであって、
前記ヘッド本体は、外筒と、該外筒の内面に沿って所定の速度で回転可能に設けられた内筒を有し、
前記複数のノズルは、前記外筒に形成された連通口を介して該外筒の内側と連通するように設けられ、
前記内筒は前記連通口の一部を塞いだ状態で他の前記連通口を開放できる開口部を有し、該内筒が回転することで開放する連通口が順次切り替わり、これによって放水方向が順次切り替わるようにしたことを特徴とする水噴霧ヘッド。
【請求項3】
前記複数のノズルは、放水角度に応じて放水パターンが異なることを特徴とする請求項1又は2に記載の水噴霧ヘッド。
【請求項4】
前記複数のノズルは、
センターノズルと、該センターノズルを挟むように配置された一対のサイドノズルからなり、
前記センターノズルの放水パターンは、前記サイドノズルの放水パターンより、放水幅が広く、かつ、放水距離が短いことを特徴とする請求項3に記載の水噴霧ヘッド。
【請求項5】
前記ノズルの一部は、前記連通口を閉鎖する閉鎖部材と交換可能であることを特徴とする請求項1、2又は4のいずれか一項に記載の水噴霧ヘッド。
発明の詳細な説明
【技術分野】
【0001】
本発明は、トンネル内に設置される水噴霧設備の水噴霧ヘッドに関する。
続きを表示(約 1,700 文字)
【背景技術】
【0002】
例えば自動車専用道路等のトンネル内には、火災時にトンネル内に水を噴霧する水噴霧設備が設置されている。この水噴霧設備は、トンネル内で発生した火災の熱によるトンネル内壁の損傷を防ぐためのものであり、火災時にトンネル内に水を噴霧することでトンネル内壁やトンネル内空間を冷却し、トンネル躯体を保護している。
このような水噴霧設備の例が、例えば特許文献1~3に開示されている。
【0003】
上記のような水噴霧設備では、一般的に区画放水が行われている。区画放水とは、トンネルを軸方向に区画分けした水噴霧区画ごとに水噴霧を行うものである。トンネル内に火災が発生した際には、トンネルの全域に水噴霧を行うのではなく、火災の位置に対応した水噴霧区画にのみ水噴霧を行っている。
各水噴霧区画には、自動弁が一つずつ設けられており、自動弁の二次側には、トンネル軸方向に所定の間隔で設置された複数の水噴霧ヘッドが接続されている(例えば特許文献1の図1参照)。
火災が発生すると、火災位置に対応する水噴霧区画の自動弁が開放され、該自動弁に接続する全ての水噴霧ヘッドから一斉に水が噴霧される。
【先行技術文献】
【特許文献】
【0004】
特開2002-355324号公報
特開2005-177520号公報
特開2016-59648号公報
【発明の概要】
【発明が解決しようとする課題】
【0005】
上記のように、従来の水噴霧設備では、火災位置に対応する区画に設置された全ての水噴霧ヘッドから一斉に水を噴霧するので、水の使用量が多く、大型のポンプや大型の水槽が必要となってコスト増の要因となっていた。
【0006】
本発明は、上記のような課題を解決するためになされたものであり、火災時における水の使用量を低減し、ポンプや水槽を小型化してコストを低減できる水噴霧ヘッドを提供することを目的とする。
【課題を解決するための手段】
【0007】
(1)本発明に係る水噴霧ヘッドは、給水管から給水を受けるヘッド本体と、該ヘッド本体に取り付けられた放水方向の異なる複数のノズルと、を備えたものであって、
前記複数のノズルは、前記ヘッド本体に形成された連通口を介して該ヘッド本体と連通し、
一部の前記連通口を開放しつつその他の前記連通口を閉鎖可能な開閉機構を備え、該開閉機構が開放する連通口を順次切り替えることによって、放水方向が順次切り替わることを特徴とするものである。
【0008】
(2)また、本発明に係る水噴霧ヘッドは、給水管から給水を受けるヘッド本体と、該ヘッド本体に取り付けられた放水方向の異なる複数のノズルと、を備えたものであって、
前記ヘッド本体は、外筒と、該外筒の内面に沿って所定の速度で回転可能に設けられた内筒を有し、
前記複数のノズルは、前記外筒に形成された連通口を介して該外筒の内側と連通するように設けられ、
前記内筒は前記連通口の一部を塞いだ状態で他の前記連通口を開放できる開口部を有し、該内筒が回転することで開放する連通口が順次切り替わり、これによって放水方向が順次切り替わるようにしたことを特徴とするものである。
【0009】
(3)また、上記(1)又は(2)に記載のものにおいて、前記複数のノズルは、放水角度に応じて放水パターンが異なることを特徴とするものである。
【0010】
(4)また、上記(3)に記載のものにおいて、前記複数のノズルは、
センターノズルと、該センターノズルを挟むように配置された一対のサイドノズルからなり、
前記センターノズルの放水パターンは、前記サイドノズルの放水パターンより、放水幅が広く、かつ、放水距離が短いことを特徴とするものである。
(【0011】以降は省略されています)
この特許をJ-PlatPat(特許庁公式サイト)で参照する
関連特許
他の特許を見る