TOP
|
特許
|
意匠
|
商標
特許ウォッチ
Twitter
他の特許を見る
10個以上の画像は省略されています。
公開番号
2025144720
公報種別
公開特許公報(A)
公開日
2025-10-03
出願番号
2024044546
出願日
2024-03-21
発明の名称
原反繋ぎ装置およびカップ成形機
出願人
東洋製罐株式会社
代理人
個人
,
個人
主分類
B65H
21/00 20060101AFI20250926BHJP(運搬;包装;貯蔵;薄板状または線条材料の取扱い)
要約
【課題】簡単な構成で、先行の原反の終端と後続の原反の始端とを位置ずれなく確実に接続でき、下流の加工装置内で詰まることがない原反繋ぎ装置を提供すること。
【解決手段】保持ユニット120と、接続ユニット130と、基体部110とを有する原反繋ぎ装置100であって、保持ユニット120は、第1原反Gaの終端を保持する終端保持部121と、第2原反Gbの始端を保持する始端保持部122とを有し、接続ユニット130は、押圧部材131と、押圧部材131と対向する位置に設けられた被押圧部材132とを有し、押圧部材131および被押圧部材132の少なくともいずれか一方には、第1原反Gaの終端と第2原反Gbの始端とを接続固定する接続手段を有し、基体部110は、第1原反Gaの終端と第2原反Gbの始端の少なくともいずれか一方を切断加工する切断ユニットを有していること。
【選択図】図2
特許請求の範囲
【請求項1】
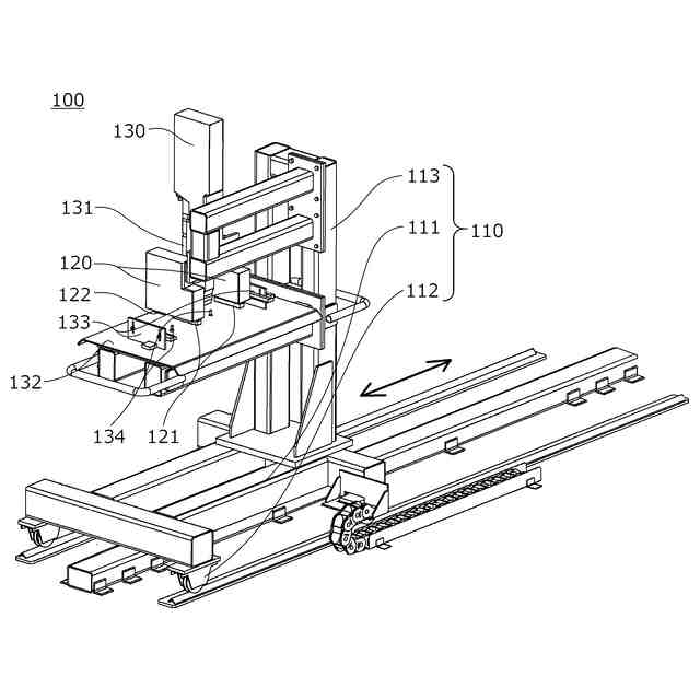
第1原反の終端と第2原反の始端とを一部の面で重ねて接続位置で保持する保持ユニットと、前記保持ユニットに重ねて保持された面の一部または全部を前記接続位置で固定する接続ユニットと、前記保持ユニットおよび接続ユニットを支持する基体部とを有する原反繋ぎ装置であって、
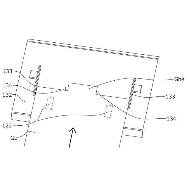
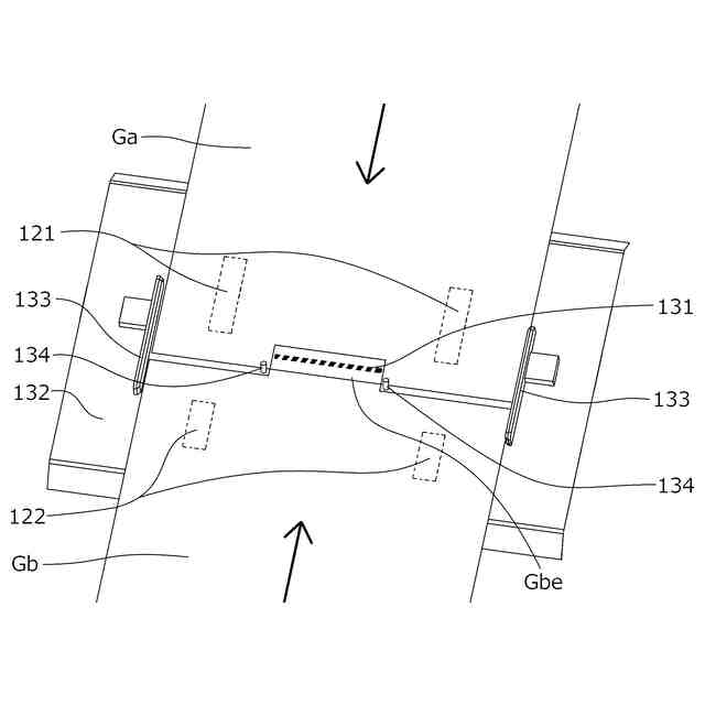
前記保持ユニットは、第1原反の終端を前記接続位置で保持する終端保持部と、第2原反の始端を前記接続位置で保持する始端保持部とを有し、
前記接続ユニットは、前記接続位置で前記保持ユニットに重ねて保持された面の一方側に設けられた押圧部材と、前記押圧部材と前記保持ユニットに重ねて保持された面を挟んで対向する位置に設けられた被押圧部材とを有し、
前記押圧部材および前記被押圧部材の少なくともいずれか一方には、第1原反の終端と第2原反の始端とを接続固定する接続手段を有し、
前記基体部は、第1原反の終端と第2原反の始端の少なくともいずれか一方を切断加工する切断ユニットを有していることを特徴とする原反繋ぎ装置。
続きを表示(約 520 文字)
【請求項2】
前記接続手段は、超音波溶着ユニットであることを特徴とする請求項1に記載の原反繋ぎ装置。
【請求項3】
前記保持ユニットは、第1原反の終端と第2原反の始端の幅方向の位置を揃えるガイド部材を有していることを特徴とする請求項1に記載の原反繋ぎ装置。
【請求項4】
前記基体部は、前記第1原反および前記第2原反の送り方向と異なる方向に進退移動可能に構成されていることを特徴とする請求項1に記載の原反繋ぎ装置。
【請求項5】
前記切断ユニットは、第1原反の終端と第2原反の始端の少なくともいずれか一方の、幅方向の端部を切断加工することを特徴とする請求項1に記載の原反繋ぎ装置。
【請求項6】
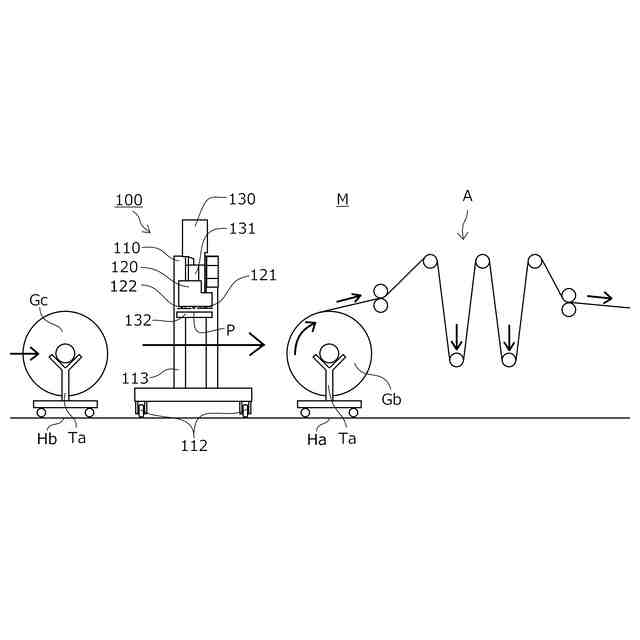
請求項1乃至請求項5のいずれかに記載の原反繋ぎ装置と、第1原反を送り出す原反送出部と、第1原反に繋ぐ第2原反を保持する接続原反保持部とを有するカップ成形機であって、
前記接続位置は、前記原反送出部と前記接続原反保持部との間であり、
前記接続原反保持部は、前記原反送出部に第1原反に接続した第2原反を移動可能に構成されていることを特徴とするカップ成形機。
発明の詳細な説明
【技術分野】
【0001】
本発明は、2つのシート状の原反の端部の面を重ねて接続する原反繋ぎ装置に関する。
続きを表示(約 2,600 文字)
【0002】
従来、樹脂や金属で構成された成形加工前の薄いシート状の原反を接続する装置は、例えば、特許文献1に記載のフィルムの供給装置に用いられている原反繋ぎ装置が公知である。
【0003】
この特許文献1で公知の原反繋ぎ装置は、未加硫ゴムに貼り付けるポリエチレン製の原反(保護フィルム)が巻かれた原反ロール(リール1)を、先行の原反ロール(リール1)から後続の原反ロール(リール1)に切り替える際、先行の原反(保護フィルム)の終端部と後続の原反(保護フィルム)先端部とを熱圧着板で熱圧着して接続して一体化することで、原反(保護フィルム)の途切れの発生を防止し、コストアップを回避できるものである。
【先行技術文献】
【特許文献】
【0004】
特開2017-145106号公報
【発明の概要】
【発明が解決しようとする課題】
【0005】
ところが、上記特許文献1等で公知の原反繋ぎ装置は、未だ改善の余地があった。
【0006】
すなわち、特許文献1で公知の原反繋ぎ装置は、先行の原反の終端部と後続の原反の始端部とを重ねて熱圧着して接続するため、原反が重なった部分の厚みが他の部分に比べて厚くなり、原反を下流の加工装置内で搬送、加工する際に詰まってしまう虞があった。
また、原反の材質や厚みによっては、原反ロールの端部が巻癖によってカール状に変形しており、原反ロールの終端と始端のカール状態が大きく異なるため、先行の原反の終端と後続の原反の始端とを重ねるだけでは位置ずれを起こしてしまう虞があった。
【0007】
本発明は、これらの問題点を解決するものであり、簡単な構成で、巻癖によってカール状に変形した先行の原反の終端と後続の原反の始端とを位置ずれなく確実に接続でき、下流の加工装置内で詰まることがないように先行の原反の終端と後続の原反の始端とを繋ぐことができる原反繋ぎ装置を提供することを目的とするものである。
【課題を解決するための手段】
【0008】
本発明の原反繋ぎ装置は、第1原反の終端と第2原反の始端とを一部の面で重ねて接続位置で保持する保持ユニットと、前記保持ユニットに重ねて保持された面の一部または全部を前記接続位置で固定する接続ユニットと、前記保持ユニットおよび接続ユニットを支持する基体部とを有する原反繋ぎ装置であって、前記保持ユニットは、第1原反の終端を前記接続位置で保持する終端保持部と、第2原反の始端を前記接続位置で保持する始端保持部とを有し、前記接続ユニットは、前記接続位置で前記保持ユニットに重ねて保持された面の一方側に設けられた押圧部材と、前記押圧部材と前記保持ユニットに重ねて保持された面を挟んで対向する位置に設けられた被押圧部材とを有し、前記押圧部材および前記被押圧部材の少なくともいずれか一方には、第1原反の終端と第2原反の始端とを接続固定する接続手段を有し、前記基体部は、第1原反の終端と第2原反の始端の少なくともいずれか一方を切断加工する切断ユニットを有していることにより、前記課題を解決するものである。
【発明の効果】
【0009】
請求項1に係る発明の原反繋ぎ装置は、第1原反の終端と第2原反の始端とを一部の面で重ねて接続位置で保持する保持ユニットを有し、保持ユニットは第1原反の終端を接続位置で保持する終端保持部と、第2原反の始端を接続位置で保持する始端保持部とを有しているため、巻き癖によって異なるカール状に変形した第1原反の終端および第2原反の始端を終端保持部および始端保持部でそれぞれ適切に保持でき、第1原反の終端と第2原反の始端の一部の面を位置ずれを起こすことなく確実に重ねて保持することができる。
また、接続ユニットは、接続位置で保持ユニットに重ねて保持された面の一方側に設けられた押圧部材と、押圧部材と保持ユニットに重ねて保持された面を挟んで対向する位置に設けられた被押圧部材とを有し、押圧部材および被押圧部材の少なくともいずれか一方に、第1原反の終端と第2原反の始端とを接続固定する接続手段を有しているため、押圧部材および被押圧部材によって第1原反の終端と第2原反の始端とをより一層位置ずれすることなく押さえた状態で確実に接続固定できる。
これによって、第1原反の終端と第2原反の始端とを接続せずに取り替える形で下流の装置へ原反を送り出す場合に比べて、原反のロスを低減でき、生産ラインの停止時間を抑制することができる。
また、基体部は、第1原反の終端と第2原反の始端の少なくともいずれか一方を切断加工する切断ユニットを有しているため、第1原反の終端および第2原反の始端のうち、原反繋ぎ装置の下流側の搬送機構や加工装置内で原反を保持する箇所等の、原反の厚みの変化が悪影響を及ぼす箇所を予め切断加工することで、接続手段によって接続固定した原反であっても、詰まりなどの不具合を発生することなく取り扱うことができる。
【0010】
請求項2に記載の構成によれば、接続手段は超音波溶着ユニットであるため、例えば、第1原反の終端と第2原反の始端とをテープや接着剤を用いて接続固定する場合に比べて外れにくい。
また、第1原反の終端と第2原反の始端との接続部に接着剤等の異物が含まれないため、例えば、製品加工に適さない第1原反の終端と第2原反の始端との接続部および接続部の周辺の異物混入がなく、異物を取り除く作業の必要なく効率よくリサイクル材として使用することもできる。
さらに、第1原反の終端と第2原反の始端との溶着位置のみを確実に溶着でき、溶着箇所以外の原反を変質させることを抑制できる。
請求項3に記載の構成によれば、保持ユニットは、第1原反の終端と第2原反の始端の幅方向の位置を揃えるガイド部材を有しているため、第1原反の終端と第2原反の始端をガイド部材に沿わせることで簡単に位置合わせができ、第1原反の終端と第2原反の始端とを接続位置で保持するための作業時間を短縮できる。
(【0011】以降は省略されています)
この特許をJ-PlatPat(特許庁公式サイト)で参照する
関連特許
他の特許を見る