TOP
|
特許
|
意匠
|
商標
特許ウォッチ
Twitter
他の特許を見る
10個以上の画像は省略されています。
公開番号
2025144773
公報種別
公開特許公報(A)
公開日
2025-10-03
出願番号
2024044614
出願日
2024-03-21
発明の名称
エアバッグの力布取付構造
出願人
トヨタ紡織株式会社
代理人
弁理士法人岡田国際特許事務所
主分類
B60R
21/207 20060101AFI20250926BHJP(車両一般)
要約
【課題】部品点数の増加を抑制して組付け作業性の良いエアバッグの力布取付構造を提供する。
【解決手段】エアバッグと、第1力布6及び第2力布7と、第1力布6の第1フック部材9及び第2力布7の第2フック部材10をバックフレームに固定する連結部材5と、を有する。連結部材5は、バックフレームに対して固定され第1フック部52と第2フック部54が一体に形成され、第1フック部52に第1フック部材9を係合させた状態で第1フック部材9の摺動を止める第1ストッパ部52c及び係止爪部64と、第2フック部54に第2フック部材10を係合させた状態で第2フック部材10の摺動を止める第2ストッパ部54c及び頭部63と、を有する。係止爪部64と頭部63を有する係止部材62は、板状部61を介してベース部51に一体に取付けられている。
【選択図】図4
特許請求の範囲
【請求項1】
エアバッグの力布取付構造であって、
シートフレームに固定されるエアバッグと、該エアバッグを取り囲み膨張する前記エアバッグをシート外部に案内する帯状の第1力布及び第2力布と、前記第1力布の一端側及び前記第2力布の一端側を前記シートフレームに固定する連結部材と、を有し、
前記第1力布の前記一端側には横断面が略J字状で前記第1力布の面内方向に延びる第1フック部材が取付けられ前記第2力布の前記一端側には横断面が略J字状で前記第2力布の面内方向に延びる第2フック部材が取付けられており、
前記連結部材は略平面状の本体部と、該本体部に形成された厚み方向に貫通する貫通孔に嵌め込み固定が可能で前記本体部に対してインテグラルヒンジ部を有する板状部で連結された係止部材と、を有し、前記本体部が前記シートフレームに対して固定されており、
前記本体部の第1面には横断面が略L字状で前記第1面の面内方向の一方向に延びる第1フック部が一体に形成され前記第1面と反対側の第2面には横断面が略L字状で前記一方向に延びる第2フック部が一体に形成されており、
前記連結部材には、前記第1フック部に対して前記第1フック部材を前記一方向に摺動させて前記第1フック部に前記第1フック部材が係合した状態で前記第1フック部材の一端部側に当接して摺動を止める前記本体部における第1ストッパ部及び前記第1フック部材の他端部側に係止して前記一方向と反対方向への移動を止める前記係止部材における第1係止部と、前記第2フック部に対して前記第2フック部材を前記一方向に摺動させて前記第2フック部に前記第2フック部材が係合した状態で前記第2フック部材の一端部側に当接して摺動を止める前記本体部における第2ストッパ部及び前記第2フック部材の他端部側に係止して前記一方向と反対方向への移動を止める前記係止部材における第2係止部と、が一体に形成されているエアバッグの力布取付構造。
続きを表示(約 550 文字)
【請求項2】
請求項1において、
前記板状部は、前記本体部から前記一方向に延びて形成されているエアバッグの力布取付構造。
【請求項3】
請求項1又は請求項2において、
前記インテグラルヒンジ部は、前記板状部に一つのみ形成されているエアバッグの力布取付構造。
【請求項4】
請求項1において、
前記係止部材は、前記貫通孔に嵌め込まれたとき前記貫通孔の外周縁部に係合して嵌め込まれた方向と反対の方向に抜けにくくするためのスナップフィット式の係止爪部が形成されており、
該係止爪部の前記貫通孔の外周縁部に対する係脱の移動方向は、前記一方向と垂直な方向であるエアバッグの力布取付構造。
【請求項5】
請求項1において、
前記本体部の前記一方向に垂直な方向の端部には、前記第1フック部材又は前記第2フック部材を誘導する面外方向に盛り上がった盛り上がり部が形成されており、
前記係止部材は、前記貫通孔に嵌め込まれたとき、嵌め込まれた方向と反対の方向の前記本体部における前記貫通孔の外周縁部からの高さが、少なくとも一つの前記盛り上がり部の高さと同等もしくはそれ以上になるように形成されているエアバッグの力布取付構造。
発明の詳細な説明
【技術分野】
【0001】
本発明は、エアバッグの力布取付構造に関する。詳しくは、エアバッグにおける展開方向を規制する部材である力布の端末部をフレームに固定するエアバッグの力布取付構造に関する。
続きを表示(約 2,400 文字)
【背景技術】
【0002】
従来、乗物用シートの内部に設置されたエアバッグが膨張したときに、シートカバーに設けた破断部を円滑に開口させてエアバッグをシート外に膨出可能とするために力布を配設することがある。特許文献1に記載された乗物用シートにおいては、エアバッグを囲うように配置された帯状の一対の力布が、それぞれ一端側がシートカバーの破断部に取付けられ他端側が取付け部を介してシートフレームに取付けられている。
【0003】
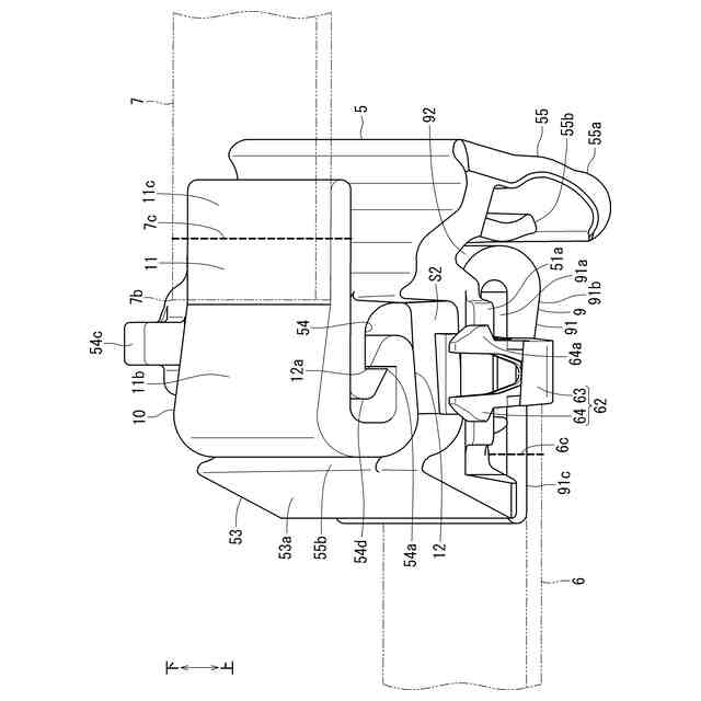
図10に示すように、取付け部105は、一対の帯状の第1力布106、第2力布107の端部をシートフレーム131に取付けるための部材である。取付け部105は、平板状をしており第1係止部152と、第2係止部154と、シートフレーム131に固定された固定部155と、を有する。第1係止部152は、取付け部105から突出する横断面が略L字状の部位であり、先端に返し部153が設けられて、第1力布106の端部を係止可能である。第2係止部154は、取付け部105から突出する横断面が略L字状の部位であり、先端に返し部156が設けられて、第2力布107の端部を係止可能である。各力布106、107は、一端側がシートカバーに縫合されて、他端側に係止部材109、110を有する。係止部材109、110は、それぞれ横断面が略J字状の平板部材であり取付け部105に対して紙面に垂直な方向に移動させて係止させる。そして、この係止状態を保持するために係止部材109、110が取付け部105に対して紙面に垂直な方向に相対移動しないようにするための両者を貫通して支持するピンのような保持部材(図示せず)が配設されている。
【先行技術文献】
【特許文献】
【0004】
特開2016-84080号公報
【発明の概要】
【発明が解決しようとする課題】
【0005】
特許文献1に記載された取付け部105は、一対の帯状の各力布106、107の端部に配置された係止部材109、110が係止されたとき、その状態を保持して係止部材109、110が取付け部105から外れないようにするための別部材であるピンのような保持部材が必要であった。これによって、部品点数が増加するとともに組付け時の作業性にも支障をきたすという問題があった。
【0006】
このような問題に鑑み本発明の課題は、部品点数の増加を抑制して組付け作業性の良いエアバッグの力布取付構造を提供することにある。
【課題を解決するための手段】
【0007】
本発明の第1発明は、エアバッグの力布取付構造であって、シートフレームに固定されるエアバッグと、該エアバッグを取り囲み膨張する前記エアバッグをシート外部に案内する帯状の第1力布及び第2力布と、前記第1力布の一端側及び前記第2力布の一端側を前記シートフレームに固定する連結部材と、を有し、前記第1力布の前記一端側には横断面が略J字状で前記第1力布の面内方向に延びる第1フック部材が取付けられ前記第2力布の前記一端側には横断面が略J字状で前記第2力布の面内方向に延びる第2フック部材が取付けられており、前記連結部材は略平面状の本体部と、該本体部に形成された厚み方向に貫通する貫通孔に嵌め込み固定が可能で前記本体部に対してインテグラルヒンジ部を有する板状部で連結された係止部材と、を有し、前記本体部が前記シートフレームに対して固定されており、前記本体部の第1面には横断面が略L字状で前記第1面の面内方向の一方向に延びる第1フック部が一体に形成され前記第1面と反対側の第2面には横断面が略L字状で前記一方向に延びる第2フック部が一体に形成されており、前記連結部材には、前記第1フック部に対して前記第1フック部材を前記一方向に摺動させて前記第1フック部に前記第1フック部材が係合した状態で前記第1フック部材の一端部側に当接して摺動を止める前記本体部における第1ストッパ部及び前記第1フック部材の他端部側に係止して前記一方向と反対方向への移動を止める前記係止部材における第1係止部と、前記第2フック部に対して前記第2フック部材を前記一方向に摺動させて前記第2フック部に前記第2フック部材が係合した状態で前記第2フック部材の一端部側に当接して摺動を止める前記本体部における第2ストッパ部及び前記第2フック部材の他端部側に係止して前記一方向と反対方向への移動を止める前記係止部材における第2係止部と、が一体に形成されていることを特徴とする。
【0008】
第1発明によれば、連結部材には、第1フック部、第2フック部、第1ストッパ部、第2ストッパ部が、一体に形成されている。さらに、第1係止部と第2係止部は、本体部の貫通孔に嵌め込み固定が可能な係止部材に設けられているとともに、係止部材は本体部に対してインテグラルヒンジ部を有する板状部で連結されてインテグラルヒンジ部で折り曲げられることにより貫通孔に嵌め込み可能に一体に形成されている。これによって、ピン等の別部材を必要とすることなく連結部材に係合した第1フック部材と第2フック部材が、連結部材から離脱するのを防止ができるので、部品点数の増加を抑制して組付け作業性の良いエアバッグの力布取付構造を提供できる。
【0009】
本発明の第2発明は、上記第1発明において、前記板状部は、前記本体部から前記一方向に延びて形成されていることを特徴とする。
【0010】
第2発明によれば、板状部が第1フック部や第2フック部と同じように一方向に延びて形成されているので、連結部材の成形が容易となる。
(【0011】以降は省略されています)
この特許をJ-PlatPat(特許庁公式サイト)で参照する
関連特許
他の特許を見る