TOP
|
特許
|
意匠
|
商標
特許ウォッチ
Twitter
他の特許を見る
10個以上の画像は省略されています。
公開番号
2025145700
公報種別
公開特許公報(A)
公開日
2025-10-03
出願番号
2024046020
出願日
2024-03-22
発明の名称
スプリング圧接式温度計
出願人
日本製鉄株式会社
,
山里産業株式会社
代理人
弁理士法人柳野国際特許事務所
主分類
F27D
21/00 20060101AFI20250926BHJP(炉,キルン,窯;レトルト)
要約
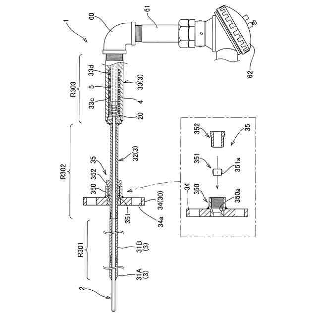
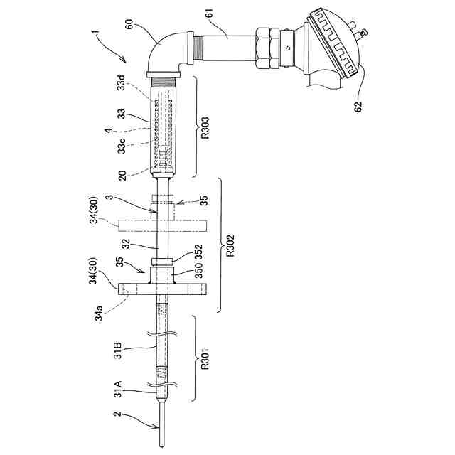
【課題】炉の内張耐火物の温度を測定する温度計において、作業スペースが限られる狭隘部への設置にも対応可能になるとともに、たとえば変形した炉底鉄皮や計装保護管を流用する場合など、設計寸法に比べて大きな変形誤差が発生している場合にも精度・機能が維持可能となる、スプリング圧接式温度計を提供せんとする。
【解決手段】シース熱電対2の外周側に、該シース熱電対2の先端側が突出した状態に同軸に装着され、且つ計装保護管8の開口端部に固定するための固定部30を有する筒状のサポート管3が設けられ、シース熱電対2は、後端部に設けられたスプリング4により、サポート管3に対して軸方向に移動可能且つ先端側に付勢されており、サポート管3の計装保護管8内部に挿入される管領域が後端側の領域に対して着脱可能に構成される。
【選択図】図1
特許請求の範囲
【請求項1】
炉の内張耐火物に至る測温用穴に挿着された計装保護管内に取り付けられ、前記内張耐火物の温度を測定するシース熱電対からなる温度計であって、
前記シース熱電対の外周側に、該シース熱電対の先端側が突出した状態に同軸に装着され、且つ前記計装保護管の開口端部に固定するための固定部を有する筒状のサポート管が設けられ、
前記シース熱電対は、後端部に設けられたスプリングにより、前記サポート管に対して軸方向に移動可能且つ先端側に付勢されており、
前記サポート管の計装保護管内部に挿入される少なくとも一部の管領域が後端側の領域に対して着脱可能に構成されている、
スプリング圧接式温度計。
続きを表示(約 240 文字)
【請求項2】
前記サポート管の前記着脱可能な管領域が、さらに2本以上の互いに着脱可能な管に分割構成されている、請求項1記載のスプリング圧接式温度計。
【請求項3】
前記固定部は、前記計装保護管側に設けられる取付用の取合フランジに固定され、前記サポート管の前記後端側の領域の外周面の軸方向の所定範囲内の任意の位置に圧着固定可能なコンプレッションフィッティング構造を有する取付合フランジから構成されている、請求項1又は2記載のスプリング圧接式温度計。
発明の詳細な説明
【技術分野】
【0001】
本発明は、炉の内張耐火物の温度を測定するスプリング圧接式温度計に関する。
続きを表示(約 2,100 文字)
【背景技術】
【0002】
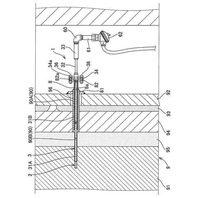
高炉の炉床壁レンガの温度を測定する温度計としては、スプリング圧接式温度計が用いられている(例えば、特許文献1参照。)。高炉鉄皮は、炉内圧力の上昇・下降や内張耐火物からの伝熱による温度の上昇・下降により膨張/収縮するため、鉄皮表面から炉床壁レンガ(内張耐火物)までの温度計挿し込み距離も変動するが、スプリング圧接式温度計を用いることで、これら膨張/収縮にかかわらず測温点のある熱電対シースの先端部を常に測温用穴の底部に位置する炉床壁レンガに圧接した状態に維持することができ、安定した温度測定が可能となる。
【0003】
スプリング圧接式温度計は、高炉鉄皮に形成された測温用穴に設置された計装保護管内に取り付けられる温度計であり、シース熱電対と、その外周側に該シース熱電対の先端側が突出した状態に同軸に装着され、前記計装保護管の開口部に固定されるサポート管とより構成される。シース熱電対は、サポート管の後端部に設けられたスプリングにより、軸方向に移動可能且つ先端側に付勢され、上記圧接した状態を維持する。シース熱電対は、一般的に屈曲容易なものであるが、これを先端側に軸方向に付勢した状態で移動可能に支持する前記サポート管は、そのための容易に屈曲しない剛性を備える管構造とされている。
【0004】
また、このようなスプリング圧接式温度計のサポート管には、熱電対シースとともに鉄皮内側に挿入される比較的細径の前側の領域以外に、鉄皮の外側に突出して前記スプリングを内蔵する比較的太径でかつ所定長さの領域が必要となる。このため、従来のスプリング圧接式温度計では、とくに高炉炉底の狭隘部(たとえば鉄皮外面から500~600mm程度のスペースしか確保できない箇所)などへの設置は、ユニバーサル方式のドリルの使用でスタンプ材及びレンガへの測温用の開口穴の穴明けが可能であるにもかかわらず、上記サポート管が支障となって設置不可能となる場合があった。
【0005】
また、たとえば25mmの移動幅を有するスプリング圧接式温度計を炉底鉄皮にセットする際、熱電対シースの先端を10mm程度、押付け状態で鉄皮に固定される。即ち、高炉稼働状態で約10mmの膨張、約15mmの収縮までは追従可能な状態で取り付けられる。
【0006】
しかし、近年高炉改修時の費用削減の為、変形した炉底鉄皮や、鉄皮に付随した計装保護管を流用する事が多く、設計寸法に比べて大きな変形誤差が発生しており、25mm程度の可動範囲ではシース先端が浮いてしまい、機能・精度を維持できないケースが生じている。スプリング圧接式温度計のシース先端の可動範囲を増やすにはスプリングの長さ、すなわちサポート管の鉄皮外側の突出領域の長さを大きくとる必要があり、温度計全長がさらに長くなってしまううえ、その長さにも限界がある。
【先行技術文献】
【特許文献】
【0007】
特許第4194895号公報
【発明の概要】
【発明が解決しようとする課題】
【0008】
そこで、本発明が前述の状況に鑑み、解決しようとするところは、炉の内張耐火物の温度を測定する温度計において、作業スペースが限られる狭隘部への設置にも対応可能になるとともに、たとえば変形した炉底鉄皮や計装保護管を流用する場合など、設計寸法に比べて大きな変形誤差が発生している場合にも精度・機能が維持可能となる、スプリング圧接式温度計を提供する点にある。
【課題を解決するための手段】
【0009】
本発明者は、かかる現況に鑑み、鋭意検討した結果、スプリング圧接式温度計が測温用穴(や該穴に取り付けた計装保護管)の内部に取り付けられることから、シース温度計を先端側に付勢しかつ移動可能に支持するサポート管を複数に分離構成して互いに着脱可能な構造とすることで、上記分離構成されたサポート管を順次、繋ぎ合わせながら挿着していくことにより、従来設置できなかった狭隘部にも設置可能になることを見出し、本発明を完成するに至った。
【0010】
すなわち本発明は、以下の発明を包含する。
(1) 炉の内張耐火物に至る測温用穴に挿着された計装保護管内に取り付けられ、前記内張耐火物の温度を測定するシース熱電対からなる温度計であって、前記シース熱電対の外周側に、該シース熱電対の先端側が突出した状態に同軸に装着され、且つ前記計装保護管の開口端部に固定するための固定部を有する筒状のサポート管が設けられ、前記シース熱電対は、後端部に設けられたスプリングにより、前記サポート管に対して軸方向に移動可能且つ先端側に付勢されており、前記サポート管の計装保護管内部に挿入される少なくとも一部の管領域が後端側の領域に対して着脱可能に構成されている、スプリング圧接式温度計。
(【0011】以降は省略されています)
この特許をJ-PlatPat(特許庁公式サイト)で参照する
関連特許
他の特許を見る