TOP
|
特許
|
意匠
|
商標
特許ウォッチ
Twitter
他の特許を見る
10個以上の画像は省略されています。
公開番号
2025146152
公報種別
公開特許公報(A)
公開日
2025-10-03
出願番号
2024046782
出願日
2024-03-22
発明の名称
情報処理装置、プログラム及び情報処理方法
出願人
カシオ計算機株式会社
代理人
弁理士法人光陽国際特許事務所
主分類
G06F
3/04845 20220101AFI20250926BHJP(計算;計数)
要約
【課題】複数の付箋の配置位置を容易に一括して変更することができるようにする。
【解決手段】情報処理装置(端末装置20)は、所定の作業領域(ノートブック領域R1)に複数の電子付箋が配置された状態において、作業領域の少なくとも一部を表示している表示画面(ノートブック画面100)内で指定される指定位置を移動させるユーザ操作を受け付けた場合に、当該ユーザ操作による指定位置の移動軌跡(軌跡B1)に対する複数の電子付箋のそれぞれの配置位置を決定し、決定した配置位置に複数の電子付箋の配置位置を変更する位置変更部(CPU21)を備える。
【選択図】図4
特許請求の範囲
【請求項1】
所定の作業領域に複数の電子付箋が配置された状態において、前記作業領域の少なくとも一部を表示している表示画面内で指定される指定位置を移動させるユーザ操作を受け付けた場合に、前記ユーザ操作による前記指定位置の移動軌跡に対する前記複数の電子付箋のそれぞれの配置位置を決定し、決定した配置位置に前記複数の電子付箋の配置位置を変更する位置変更部を備える情報処理装置。
続きを表示(約 1,100 文字)
【請求項2】
前記位置変更部は、前記複数の電子付箋が前記移動軌跡に対して所定方向に位置するように、または前記複数の電子付箋が前記移動軌跡から所定距離に位置するように、前記配置位置を決定する請求項1に記載の情報処理装置。
【請求項3】
前記位置変更部は、前記電子付箋間の間隔のばらつきが所定範囲以内になるように前記配置位置を決定する請求項2に記載の情報処理装置。
【請求項4】
前記位置変更部は、前記移動軌跡が閉領域を形成している場合、前記閉領域内に前記複数の電子付箋を互いに重ならないように配置する請求項1に記載の情報処理装置。
【請求項5】
前記位置変更部は、前記閉領域の大きさ、前記電子付箋の領域の大きさ、及び前記複数の電子付箋の数に基づいて、前記閉領域に対する前記複数の電子付箋の配置位置を決定する請求項4に記載の情報処理装置。
【請求項6】
前記位置変更部は、前記閉領域内に前記複数の電子付箋が互いに重ならない状態で配置できない場合、前記閉領域外において前記移動軌跡から所定距離以内に前記複数の電子付箋を互いに重ならないように配置する請求項5に記載の情報処理装置。
【請求項7】
前記位置変更部は、前記閉領域内に前記複数の電子付箋が互いに重ならない状態で配置できない場合、前記移動軌跡上に前記複数の電子付箋を互いに重ならないように配置する請求項5に記載の情報処理装置。
【請求項8】
配置位置を変更する対象の電子付箋である対象付箋を指定する操作を受け付ける第1受付部を備え、
前記位置変更部は、前記第1受付部により指定を受け付けた場合、指定された前記電子付箋を前記対象付箋に決定し、前記第1受付部により指定を受け付けない場合、前記作業領域に配置された全ての電子付箋を前記対象付箋に決定する請求項1に記載の情報処理装置。
【請求項9】
配置位置を変更する対象の電子付箋である対象付箋の前記移動軌跡に対する配置順序を指定する操作を受け付ける第2受付部を備え、
前記位置変更部は、前記第2受付部により前記指定を受け付けた場合、指定された順序を前記対象付箋の前記配置順序に決定し、前記第2受付部により前記指定を受け付けない場合、所定条件に基づいて、前記対象付箋の前記配置順序を決定する請求項1に記載の情報処理装置。
【請求項10】
前記位置変更部は、前記複数の電子付箋が前記表示画面外に配置された電子付箋を含む場合には、前記表示画面外に配置されている電子付箋を含む複数の電子付箋の配置位置を、前記移動軌跡に基づいて決定した配置位置に変更する請求項1乃至9のいずれか一項に記載の情報処理装置。
(【請求項11】以降は省略されています)
発明の詳細な説明
【技術分野】
【0001】
本発明は、情報処理装置、プログラム及び情報処理方法に関する。
続きを表示(約 1,500 文字)
【背景技術】
【0002】
従来、各種情報を画面上の任意の位置に配置可能な電子付箋として管理し、画面上での配置位置の近い複数の電子付箋同士をグループ化する技術が知られている(例えば、特許文献1)。
【先行技術文献】
【特許文献】
【0003】
国際公開第2018/015992号
【発明の概要】
【発明が解決しようとする課題】
【0004】
しかしながら、従来技術では、画面上に散らばって配置された複数の電子付箋をグループ化することは可能であるが、複数の電子付箋の配置位置をユーザが容易に一括して変更することは難しかった。
【0005】
本発明の目的は、複数の付箋の配置位置を容易に一括して変更することができる情報処理装置、プログラム及び情報処理方法を提供することである。
【課題を解決するための手段】
【0006】
上記課題を解決するために、本発明の情報処理装置は、所定の作業領域に複数の電子付箋が配置された状態において、前記作業領域の少なくとも一部を表示している表示画面内で指定される指定位置を移動させるユーザ操作を受け付けた場合に、前記ユーザ操作による前記指定位置の移動軌跡に対する前記複数の電子付箋のそれぞれの配置位置を決定し、決定した配置位置に前記複数の電子付箋の配置位置を変更する位置変更部を備える。
【0007】
また、本発明のプログラムは、情報処理装置のコンピュータを、所定の作業領域に複数の電子付箋が配置された状態において、前記作業領域の少なくとも一部を表示している表示画面内で指定される指定位置を移動させるユーザ操作を受け付けた場合に、前記ユーザ操作による前記指定位置の移動軌跡に対する前記複数の電子付箋のそれぞれの配置位置を決定し、決定した配置位置に前記複数の電子付箋の配置位置を変更する位置変更部として機能させる。
【0008】
また、本発明の情報処理方法は、情報処理装置が実行する情報処理方法であって、所定の作業領域に複数の電子付箋が配置された状態において、前記作業領域の少なくとも一部を表示している表示画面内で指定される指定位置を移動させるユーザ操作を受け付けた場合に、前記ユーザ操作による前記指定位置の移動軌跡に対する前記複数の電子付箋のそれぞれの配置位置を決定し、決定した配置位置に前記複数の電子付箋の配置位置を変更する位置変更ステップを含む。
【発明の効果】
【0009】
本発明によれば、複数の付箋の配置位置を容易に一括して変更することができる。
【図面の簡単な説明】
【0010】
本実施形態の学習支援システムを示すブロック図である。
サーバの機能構成を示すブロック図である。
付箋が配置されたノートブック領域の例を示す図である。
端末装置の機能構成を示すブロック図である。
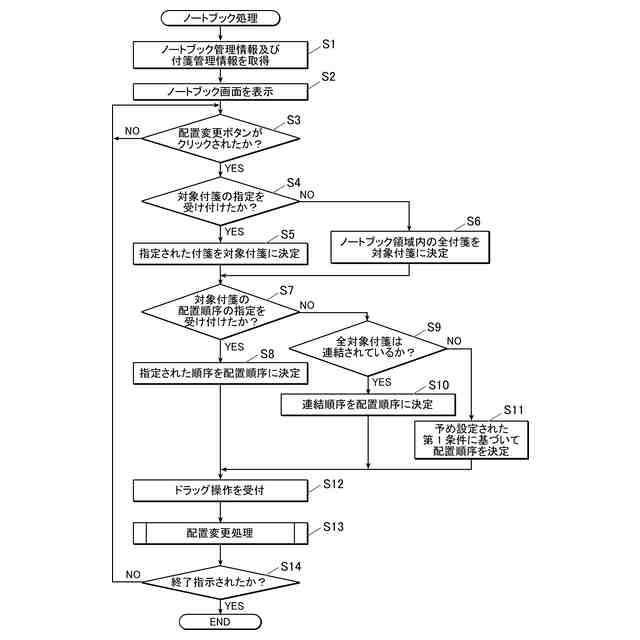
ノートブック処理を示すフローチャートである。
ノートブック領域及びノートブック画面の例を示す図である。
ドラッグ操作の軌跡が表示されたノートブック画面の例を示す図である。
配置変更処理を示すフローチャートである。
閉曲線でない軌跡に基づいて配置位置が変更された付箋の例を示す図である。
閉曲線である軌跡に基づいて配置位置が変更された付箋の例を示す図である。
【発明を実施するための形態】
(【0011】以降は省略されています)
この特許をJ-PlatPat(特許庁公式サイト)で参照する
関連特許
他の特許を見る