TOP
|
特許
|
意匠
|
商標
特許ウォッチ
Twitter
他の特許を見る
公開番号
2025146687
公報種別
公開特許公報(A)
公開日
2025-10-03
出願番号
2025018506
出願日
2025-02-06
発明の名称
熱延鋼板の製造方法および熱延鋼板
出願人
株式会社神戸製鋼所
代理人
個人
,
個人
主分類
C21D
9/46 20060101AFI20250926BHJP(鉄冶金)
要約
【課題】還元鉄層が厚くても良好な酸洗性を実現できる熱延鋼板を製造する方法を提供する。
【解決手段】方法は、スラブを熱間で粗圧延して粗圧延鋼板を得る工程と、粗圧延鋼板を熱間で仕上圧延し、圧延鋼板を得る工程と、圧延鋼板をコイル状に巻取る工程と、巻き取ったコイルを、コイルの巻取温度から500℃までの温度範囲において、平均冷却速度0.5℃/分~0.7℃/分で冷却する工程と、含み、以下の式(1)で定義された熱延パラメータが3.95超である。
<com:Image com:imageContentCategory="Drawing"> <com:ImageFormatCategory>TIFF</com:ImageFormatCategory> <com:FileName>2025146687000007.tif</com:FileName> <com:HeightMeasure com:measureUnitCode="Mm">25</com:HeightMeasure> <com:WidthMeasure com:measureUnitCode="Mm">166</com:WidthMeasure> </com:Image>
T
1
:粗圧延出側温度(以下、温度の単位は(K))、T
2
:仕上圧延入側温度、T
3
:仕上圧延出側温度、T
4
:冷却中間温度、T
5
:コイル巻取温度、t :粗圧延の開始から、コイル状に巻き取られるまでの通板時間(秒)、Q :125140[J/mol]、及びR :8.314[J/(K・mol)]。
【選択図】図1
特許請求の範囲
【請求項1】
スラブを熱間で粗圧延して粗圧延鋼板を得る工程と、
前記粗圧延鋼板を熱間で仕上圧延し、圧延鋼板を得る工程と、
前記圧延鋼板をコイル状に巻取る工程と、
巻き取ったコイルを、コイルの巻取温度から500℃までの温度範囲において、平均冷却速度0.5℃/分~0.7℃/分で冷却する工程と、
を含み、
以下の式(1)で定義された熱延パラメータが3.95超である、熱延鋼板の製造方法。
TIFF
2025146687000006.tif
25
164
ここで、
T
1
:粗圧延出側温度(K)、
T
2
:仕上圧延入側温度(K)、
T
3
:仕上圧延出側温度(K)、
T
4
:冷却中間温度(K)、
T
5
:コイル巻取温度(K)、
t :前記粗圧延の開始から、コイル状に巻き取られるまでの通板時間(秒)、
Q :125140[J/mol]、および
R :8.314[J/(K・mol)]である。
続きを表示(約 1,000 文字)
【請求項2】
前記T
4
は、1073.15K~1173.15Kの範囲内にある、請求項1に記載の熱延鋼板の製造方法。
【請求項3】
前記T
1
は、1373.15K~1473.15Kの範囲内にある、請求項1に記載の熱延鋼板の製造方法。
【請求項4】
前記スラブの化学成分組成が、
C :0.08質量%以上、0.30質量%以下
Si:0.5質量%超、3.0質量%以下
Mn:1.5質量%以上、3.0質量%以下
Cr:0質量%超、1.0質量%以下
P :0質量%超、0.10質量%以下
S :0質量%超、0.05質量%以下
Al:0質量%超、1.0質量%以下、および
N :0質量%超、0.010質量%以下を満たし、
残部がFeおよび不可避不純物である、請求項1に記載の熱延鋼板の製造方法。
【請求項5】
鋼板本体と、当該鋼板本体の表面を覆うスケール層と、を備えた熱延鋼板であって、
前記鋼板本体は、
前記表面側に位置し、Si元素の少なくとも一部がSiO
2
の状態で存在する内部酸化層と、
前記内部酸化層で覆われ、Si元素が固溶Siの状態で存在する鋼板素地と、
を含み、
前記スケール層は、
前記鋼板本体の前記表面と接している酸化鉄層と、
当該酸化鉄層を覆う還元鉄層と、
を含み、
厚さ方向の断面視において、
前記内部酸化層の平均厚さが10.0μm以上であり、
前記スケール層の面積に対する前記還元鉄層の面積の比率が29%未満である、熱延鋼板。
【請求項6】
化学成分組成が、
C :0.08質量%以上、0.30質量%以下
Si:0.5質量%超、3.0質量%以下
Mn:1.5質量%以上、3.0質量%以下
Cr:0質量%超、1.0質量%以下
P :0質量%超、0.10質量%以下
S :0質量%超、0.05質量%以下
Al:0質量%超、1.0質量%以下、および
N :0質量%超、0.010質量%以下を満たし、
残部がFeおよび不可避不純物である、請求項5に記載の熱延鋼板。
発明の詳細な説明
【技術分野】
【0001】
本開示は、熱延鋼板の製造方法および熱延鋼板に関する。
続きを表示(約 2,100 文字)
【背景技術】
【0002】
従来より、車両における乗員の安全性向上が求められており、係る目的のために車体の強度を向上させてきた。他方、地球温暖化問題等の深刻化を背景に、自動車の燃費改善の動きが加速している。燃費改善には車体の軽量化が有効であることが知られている。
【0003】
自動車の軽量化と共に衝突安全性を達成するために、鋼板の更なる高強度化が進んでおり、例えば引張強度980MPa級またはそれ以上の高強度冷延鋼板が実用化されつつある。980MPa以上の引張強度を達成するためには、鋼中に固溶強化元素を添加する必要があり、固溶強化元素としては、Si、Mn等が使用される。
【0004】
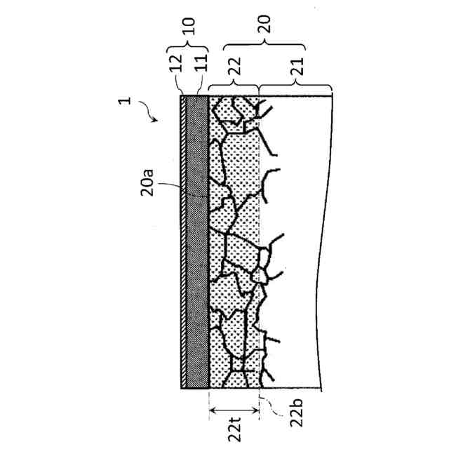
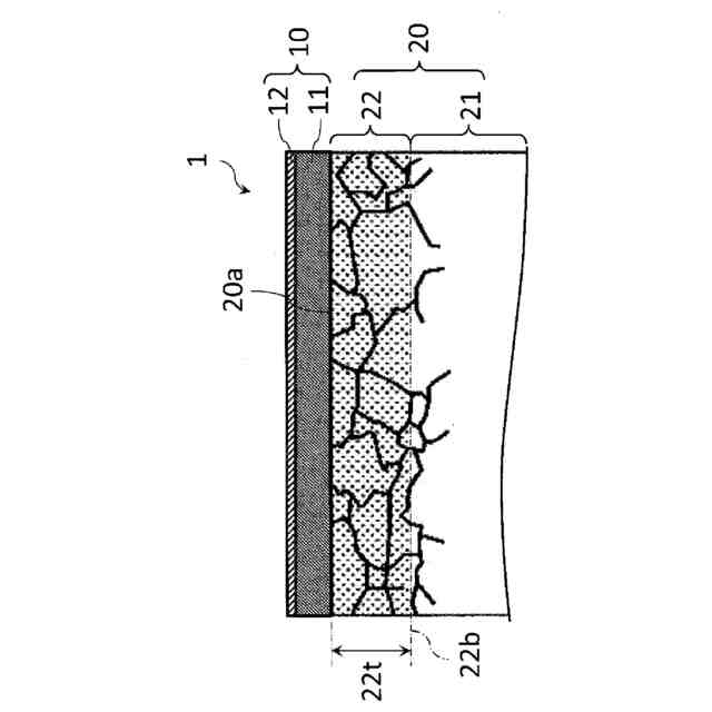
固溶Siを含む高強度鋼板の製造では、鋳造して得られたスラブに、熱間圧延、酸洗処理、冷間圧延、および焼鈍を行う。熱間圧延で得られる熱延鋼板の表面には、鉄系酸化物からなるスケール層が形成され、さらにその後に高温でコイルに巻き取ると、図1に模式的に示すような層構成を有する熱延鋼板1が得られる。
【0005】
図1に示す熱延鋼板1は、鋼板本体20と、鋼板本体20の表面20aを覆うスケール層10とを含む。
鋼板本体20は、主に、Si元素を固溶状態で含む鋼板素地21と、Si元素の少なくとも一部をSiO
2
の状態(酸化物状態)で含む内部酸化層22とから構成される。なお、内部酸化層22におけるSi元素は、内部酸化層22に含まれる全てのSi元素の半分以上が酸化物状態であることが好ましく、さらには、全てのSi元素が酸化物状態であることが特に好ましい。ただし、内部酸化層22に固溶状態のSiが存在していてもよい。内部酸化層22は、鋼板本体20の表面20a側に形成されており、鋼板素地21は、内部酸化層22で覆われている。
スケール層10は、鉄系酸化物を含む酸化鉄層11と、還元鉄からなる還元鉄層12から構成されている。
【0006】
このような層構成となるのは、易酸化性元素であるSiが鋼板に固溶しているためである。熱間圧延中および熱間圧延後に、熱延鋼板の表面に酸化鉄層11が形成される。熱間圧延後の熱延鋼板を、高温のままコイルに巻き取って徐冷すると、酸化鉄層11に含まれる酸素(O)が鋼板内部に向かって拡散する。Siは鉄より酸素親和力が高いため、拡散した酸素は鋼板に固溶しているSiと結合してSiO
2
が生じ、これにより、SiO
2
を含む内部酸化層22が形成される。その一方で、酸化鉄層11の酸素が固溶Siと結合することによって、酸化鉄層11の一部が還元される。その結果、酸化鉄層11の表面に還元鉄層12が形成される。
【0007】
熱延鋼板1は、冷間圧延前に酸洗処理されて、スケール層10が除去される。酸洗処理によるスケール層10の除去が十分ではないと、最終製品(冷延鋼板)の外観不良の原因となり得、また、冷間圧延後に任意で行う表面処理に悪影響を与える。特に、スケール層10中の還元鉄層12が、酸洗処理で除去しきれずに残ることが問題となっていた。そのため、酸洗処理で還元鉄層12を確実に除去する方法が求められてきた。例えば、還元鉄の生成量を抑えて還元鉄層12を薄くすることで、酸洗処理後に還元鉄層12が残存することを回避する技術が知られている(例えば、特許文献1~2)。
【0008】
一方、冷延鋼板の表面処理として亜鉛めっきを行う場合、冷延鋼板表面の固溶Si量が多いと、めっき性が低下する。めっき性を向上するためには、冷延鋼板の表面が内部酸化層22で覆われていることが有効である(例えば、特許文献2)。内部酸化層22中の固溶Siは、少なくとも一部が酸化されてSiO
2
となっている。その結果、内部酸化層22中の固溶Siの濃度が低くなり、冷延鋼板のめっき性が向上する。
【先行技術文献】
【特許文献】
【0009】
特開2017-222887号公報
特開2022-136964号公報
【発明の概要】
【発明が解決しようとする課題】
【0010】
上述したように、内部酸化層22は、熱延鋼板を高温のままコイルに巻き取って徐冷することによって形成される。このとき、コイルが外気とより多く触れる部分(コイル幅方向におけるエッジ部分)は、他の部分(コイル幅方向における中央部分)に比べて冷却速度が速く、内部酸化層22が形成されにくい。つまり、熱延鋼板のコイル幅方向における中央部分と比べると、コイル幅方向におけるエッジ部分は、内部酸化層22が少なくなることがある。その結果、固溶Siが鋼板本体20の表面20aに多く残存することがある。そのため、熱延鋼板を冷間圧延して得られる冷延鋼板を亜鉛めっきしたときに、エッジ部分のめっき性が低くなり、めっき不良(めっきムラ)を生じるおそれがある。
(【0011】以降は省略されています)
この特許をJ-PlatPat(特許庁公式サイト)で参照する
関連特許
他の特許を見る