TOP
|
特許
|
意匠
|
商標
特許ウォッチ
Twitter
他の特許を見る
10個以上の画像は省略されています。
公開番号
2025147086
公報種別
公開特許公報(A)
公開日
2025-10-06
出願番号
2024044439
出願日
2024-03-21
発明の名称
遊技機
出願人
サミー株式会社
代理人
個人
主分類
A63F
7/02 20060101AFI20250926BHJP(スポーツ;ゲーム;娯楽)
要約
【課題】 円滑に遊技を進行できる遊技機の提供が望まれている。
【解決手段】 遊技の進行を制御する主遊技部と、演出を表示可能な演出表示部と、音を出力可能なスピーカと、遊技者が操作可能な操作部材と、演出表示部への演出表示を制御する副遊技部とを備え、所定の状態にて、スピーカから音を出力しないよう構成する。
【選択図】 図623
特許請求の範囲
【請求項1】
遊技の進行を制御する主遊技部と、
演出を表示可能な演出表示部と、
音を出力可能なスピーカと、
遊技者が操作可能な操作部材と、
演出表示部への演出表示を制御する副遊技部と
を備え、
所定の状態において、スピーカから音を出力しないよう構成する
ことを特徴とする遊技機。
発明の詳細な説明
【技術分野】
【0001】
遊技機に関する。
続きを表示(約 13,000 文字)
【背景技術】
【0002】
近年のぱちんこ遊技機としては、遊技盤面(遊技領域)上の始動口に遊技球が入球したことを契機として所定確率の当り抽選がなされ、当該当り抽選で小当りや大当りに当選した場合には当り状態へと移行し、遊技盤面に備えられた大入賞口が開放して大量の賞球を獲得できるぱちんこ遊技機が主流である。このように構成されたぱちんこ遊技機の内には、大入賞口に設けられた特定領域に遊技球が入球することに基づいて大当りの当選確率を上昇させる確率変動遊技状態や当り抽選における抽選結果を報知するための図柄変動の効率を上昇させる時間短縮遊技状態等を備え、これら遊技状態によって遊技者にとって有利な遊技進行状態を創り出すことで遊技の興趣性を高める遊技機も存在している。また、データ容量を抑えるよう設計したり、遊技者にとって過度な不利益が生じないようにしながら円滑に遊技を進行可能な遊技機も存在している。
【先行技術文献】
【特許文献】
【0003】
特開2002-113229号公報
特開2018-068337号公報
特開2021-126278号公報
【発明の概要】
【発明が解決しようとする課題】
【0004】
円滑に遊技を進行できる遊技機の提供が望まれている。
【課題を解決するための手段】
【0005】
本態様に係る遊技機は、
遊技の進行を制御する主遊技部と、
演出を表示可能な演出表示部と、
音を出力可能なスピーカと、
遊技者が操作可能な操作部材と、
演出表示部への演出表示を制御する副遊技部と
を備え、
所定の状態において、スピーカから音を出力しないよう構成する
ことを特徴とする遊技機である。
【発明の効果】
【0006】
本態様に係る遊技機によれば、円滑に遊技を進行できる遊技機を提供することができる。
【図面の簡単な説明】
【0007】
図1は、本実施形態に係るぱちんこ遊技機の正面図である。
図2は、本実施形態に係るぱちんこ遊技機の背面図である。
図3は、本実施形態に係るぱちんこ遊技機の賞球払出ユニット斜視図である。
図4は、本実施形態に係るぱちんこ遊技機の賞球払出ユニットに係る作用図である。
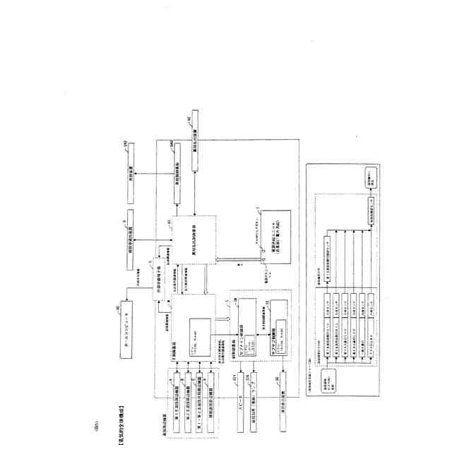
図5は、本実施形態に係るぱちんこ遊技機の電気的全体構成図である。
図6は、本実施形態に係るぱちんこ遊技機における、主制御基板側でのメイン処理のフローチャートである。
図7は、本実施形態に係るぱちんこ遊技機における、主制御基板側でのタイマ割り込み時処理のフローチャートである。
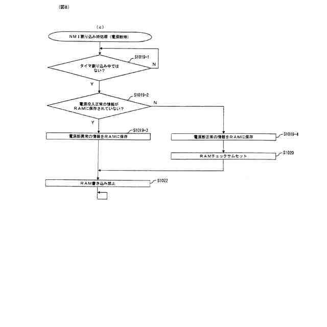
図8は、本実施形態に係るぱちんこ機における、主制御基板側でのNMI割り込み時処理(電断時)のフローチャートである。
図9は、本実施形態に係るぱちんこ遊技機における、主制御基板側での賞球払出コマンド送信制御処理のフローチャートである。
図10は、本実施形態に係るぱちんこ遊技機における、主制御基板側での対払出制御基板送信制御処理のフローチャートである。
図11は、本実施形態に係るぱちんこ遊技機における、主制御基板側での賞球払出コマンド及び払出関連情報に係るイメージ図である。
図12は、本実施形態に係るぱちんこ遊技機における、主制御基板側での対払出制御基板受信制御処理のフローチャートである。
図13は、本実施形態に係るぱちんこ遊技機における、主制御基板側での補助遊技内容決定乱数取得処理のフローチャートである。
図14は、本実施形態に係るぱちんこ遊技機における、主制御基板側での入球検出処理のフローチャートである。
図15は、本実施形態に係るぱちんこ遊技機における、主制御基板側での補助遊技始動口入球検出処理のフローチャートである。
図16は、本実施形態に係るぱちんこ遊技機における、主制御基板側での主遊技始動口入球検出処理のフローチャートである。
図17は、本実施形態に係るぱちんこ遊技機における、主制御基板側での第1(第2)大入賞口入球検出処理のフローチャートである。
図18は、本実施形態に係るぱちんこ遊技機における、主制御基板側での一般入賞口入球検出処理のフローチャートである。
図19は、本実施形態に係るぱちんこ遊技機における、主制御基板側での排出球検出処理のフローチャートである。
図20は、本実施形態に係るぱちんこ遊技機における、主制御基板側でのアウト口入球検出処理のフローチャートである。
図21は、本実施形態に係るぱちんこ遊技機における、主制御基板側での賞球数決定処理のフローチャートである。
図22は、本実施形態に係るぱちんこ遊技機における、主制御基板側での電動役物駆動判定処理のフローチャートである。
図23は、本実施形態に係るぱちんこ遊技機における、主制御基板側での主遊技内容決定乱数取得処理のフローチャートである。
図24は、本実施形態に係るぱちんこ遊技機における、主制御基板側での主遊技図柄表示処理のフローチャートである。
図25は、本実施形態に係るぱちんこ遊技機における、主制御基板側での第1(第2)主遊技図柄表示処理のフローチャートである。
図26は、本実施形態に係るぱちんこ遊技機における、主制御基板側での第1(第2)主遊技図柄表示処理にて用いられる主遊技テーブル構成図である。
図27は、本実施形態に係るぱちんこ遊技機における、主制御基板側での特定遊技終了判定処理のフローチャートである。
図28は、本実施形態に係るぱちんこ遊技機における、主制御基板側での特別遊技制御処理のフローチャートである。
図29は、本実施形態に係るぱちんこ遊技機における、主制御基板側での特別遊技終了後の遊技状態決定処理のフローチャートである。
図30は、本実施形態に係るぱちんこ遊技機における、主制御基板側での特別遊技作動条件判定処理のフローチャートである。
図31は、本実施形態に係るぱちんこ遊技機における、主制御基板側での不正検知情報管理処理のフローチャートである。
図32は、本実施形態に係るぱちんこ遊技機における、主制御基板側でのエラー管理処理のフローチャートである。
図33は、本実施形態に係るぱちんこ遊技機における、主制御基板側での発射制御信号出力処理のフローチャートである。
図34は、本実施形態に係るぱちんこ遊技機における、主制御基板側での外部信号出力処理のフローチャートである。
図35は、本実施形態に係るぱちんこ遊技機における、外部端子送信内容決定テーブルの一例である。
図36は、本実施形態に係るぱちんこ遊技機における、払出制御基板側での払出制御基板側メイン処理のフローチャートである。
図37は、本実施形態に係るぱちんこ遊技機における、払出制御基板側での異常検出時エラー制御処理のフローチャートである。
図38は、本実施形態に係るぱちんこ遊技機における、払出制御基板側での払出モータ動作異常検出時エラー制御処理のフローチャートである。
図39は、本実施形態に係るぱちんこ遊技機における、払出制御基板側での払出異常検出時エラー制御処理のフローチャートである。
図40は、本実施形態に係るぱちんこ遊技機における、払出制御基板側での球経路異常検出時エラー制御処理のフローチャートである。
図41は、本実施形態に係るぱちんこ遊技機における、払出制御基板側での払出モータ異常検出時エラー制御処理のフローチャートである。
図42は、本実施形態に係るぱちんこ遊技機における、払出制御基板側での要払出停止異常検出時エラー制御処理のフローチャートである。
図43は、本実施形態に係るぱちんこ遊技機における、払出制御基板側での賞球払出関連情報送受信処理(対主制御基板)のフローチャートである。
図44は、本実施形態に係るぱちんこ遊技機における、払出制御基板側での賞球払出制御処理(賞球払出開始・モータ駆動開始時)のフローチャートである。
図45は、本実施形態に係るぱちんこ遊技機における、払出制御基板側での賞球払出制御処理(モータ駆動終了時・賞球払出終了時)のフローチャートである。
図46は、本実施形態に係るぱちんこ遊技機における、払出制御基板側での賞球払出制御処理(モータ駆動実行時)のフローチャートである。
図47は、本実施形態に係るぱちんこ遊技機における、払出制御基板側でのモータエラー時処理のフローチャートである。
図48は、本実施形態に係るぱちんこ遊技機における、サブメイン制御部側でのメインフローチャートである。
図49は、本実施形態に係るぱちんこ遊技機における、サブメイン制御部側での指示画像表示制御処理のフローチャートである。
図50は、本実施形態に係るぱちんこ遊技機における、サブメイン制御部側での保留情報管理処理のフローチャートである。
図51は、本実施形態に係るぱちんこ遊技機における、サブメイン制御部側での装飾図柄表示内容決定処理のフローチャートである。
図52は、本実施形態に係るぱちんこ遊技機における、サブメイン制御部側での装飾図柄表示制御処理のフローチャートである。
図53は、本実施形態に係るぱちんこ遊技機における、サブメイン制御部側での特別遊技関連表示制御処理のフローチャートである。
図54は、本実施形態に係るぱちんこ遊技機における、サブメイン制御部側での特別遊技中演出表示制御処理のフローチャートである。
図55は、本実施形態に係るぱちんこ遊技機における、サブメイン制御部側での右一般入賞口用ランプ点灯態様決定テーブルの一例である。
図56は、本実施形態に係るぱちんこ遊技機における、第1(第2)大入賞口及び右一般入賞口に係る作用図である。
図57は、本実施形態からの変更例1に係るぱちんこ遊技機の正面図である。
図58は、本実施形態からの変更例1に係るぱちんこ遊技機における、第1(第2)大入賞口及び右一般入賞口に係る作用図である。
図59は、第2実施形態に係るぱちんこ遊技機における、主制御基板側での電動役物駆動判定処理のフローチャートである。
図60は、第2実施形態に係るぱちんこ遊技機における、主制御基板側での第1(第2)主遊技図柄表示処理のフローチャートである。
図61は、第2実施形態に係るぱちんこ遊技機における、主制御基板側での限定頻度変動態様決定処理のフローチャートである。
図62は、第2実施形態に係るぱちんこ遊技機における、主制御基板側での第1(第2)主遊技図柄表示処理にて用いられる限定頻度テーブル構成図である。
図63は、第2実施形態に係るぱちんこ遊技機における、主制御基板側での特定遊技終了判定処理のフローチャートである。
図64は、第2実施形態に係るぱちんこ遊技機における、主制御基板側での特別遊技作動条件判定処理のフローチャートである。
図65は、第2実施形態に係るぱちんこ遊技機における、主制御基板側での特別遊技終了後の遊技状態決定処理のフローチャートである。
図66は、第2実施形態に係るぱちんこ遊技機における、サブメイン制御部側でのメインフローチャートである。
図67は、第2実施形態に係るぱちんこ遊技機における、サブメイン制御部側での滞在ステージ決定処理のフローチャートである。
図68は、第2実施形態に係るぱちんこ遊技機における、サブメイン制御部側での保留情報管理処理のフローチャートである。
図69は、第2実施形態に係るぱちんこ遊技機における、サブメイン制御部側での先読み演出実行判定処理のフローチャートである。
図70は、第2実施形態に係るぱちんこ遊技機における、サブメイン制御部側での装飾図柄表示内容決定処理のフローチャートである。
図71は、第2実施形態に係るぱちんこ遊技機における、サブメイン制御部側での演出内容決定処理のフローチャートである。
図72は、第2実施形態に係るぱちんこ遊技機における、サブメイン制御部側での演出内容決定テーブル構成図である。
図73は、第2実施形態に係るぱちんこ遊技機における、サブメイン制御部側での特別遊技関連表示制御処理のフローチャートである。
図74は、第2実施形態に係るぱちんこ遊技機における、作用図である。
図75は、第2実施形態に係るぱちんこ遊技機における、作用図である。
図76は、第2実施形態に係るぱちんこ遊技機における、作用図である。
図77は、第2実施形態の変更例1に係るぱちんこ遊技機における、主制御基板側での特別遊技制御処理のフローチャートである。
図78は、第2実施形態の変更例1に係るぱちんこ遊技機における、主制御基板側での終了デモ時間制御処理のフローチャートである。
図79は、第2実施形態の変更例1に係るぱちんこ遊技機における、サブメイン制御部側での特別遊技関連表示制御処理のフローチャートである。
図80は、第3実施形態に係るぱちんこ遊技機における、主制御基板側での第1(第2)主遊技図柄表示処理のフローチャートである。
図81は、第3実施形態に係るぱちんこ遊技機における、主制御基板側での第1(第2)主遊技図柄表示処理にて用いられる主遊技テーブル構成図である。
図82は、第3実施形態に係るぱちんこ遊技機における、主制御基板側での特別遊技制御処理のフローチャートである。
図83は、第3実施形態に係るぱちんこ遊技機における、主制御基板側での振分遊技実行処理のフローチャートである。
図84は、第3実施形態に係るぱちんこ遊技機における、主制御基板側での特別遊技終了後の遊技状態決定処理のフローチャートである。
図85は、第3実施形態に係るぱちんこ遊技機における、サブメイン制御部側での演出内容決定テーブルである。
図86は、第3実施形態からの変更例1に係るぱちんこ遊技機における、主制御基板側でのタイマ割り込み時処理のフローチャートである。
図87は、第3実施形態からの変更例1に係るぱちんこ遊技機における、主制御基板側での主遊技図柄表示処理のフローチャートである。
図88は、第3実施形態からの変更例1に係るぱちんこ遊技機における、主制御基板側での限定頻度変動態様決定処理のフローチャートである。
図89は、第3実施形態からの変更例1に係るぱちんこ遊技機における、主制御基板側での第1(第2)主遊技図柄表示処理にて用いられる主遊技テーブル構成図である。
図90は、第3実施形態からの変更例1に係るぱちんこ遊技機における、主制御基板側での特別遊技制御処理のフローチャートである。
図91は、第3実施形態からの変更例1に係るぱちんこ遊技機における、主制御基板側での終了デモ時間制御処理のフローチャートである。
図92は、第3実施形態からの変更例1に係るぱちんこ遊技機における、主制御基板側での特別遊技関連表示制御処理のフローチャートである。
図93は、第3実施形態からの変更例2に係るぱちんこ遊技機における、主制御基板側での特別遊技制御処理のフローチャートである。
図94は、第3実施形態からの変更例2に係るぱちんこ遊技機における、主制御基板側での振分遊技実行処理のフローチャートである。
図95は、第3実施形態からの変更例2に係るぱちんこ遊技機における、主制御基板側での大入賞口の開放パターンを例示する図である。
図96は、第3実施形態からの変更例2に係るぱちんこ遊技機における、サブメイン制御部側での開始デモ時間制御処理のフローチャートである。
図97は、第3実施形態からの変更例2に係るぱちんこ遊技機における、サブメイン制御部側での特別遊技関連表示制御処理のフローチャートである。
図98は、第3実施形態からの変更例2に係るぱちんこ遊技機における、サブメイン制御部側での開始デモ演出実行処理のフローチャートである。
図99は、第4実施形態に係る遊技機の正面図である。
図100は、第4実施形態に係る第2大入賞口C20に係る作用図である。
【発明を実施するための形態】
【0008】
はじめに、本明細書における各用語の意義について説明する。「入球」とは、賞球が払い出される入賞のみならず、賞球払い出しの無い「スルーチャッカー」への通過も含む。「識別情報」とは、五感(視覚、聴覚、触覚等)を通じて情報の種類を識別可能であればどのような形態でもよいが、好適には、視覚的なもの、例えば、数字、文字、図柄等の形状のあるものを挙げることができる。また、本明細書においては「識別情報」を、主遊技図柄・特別図柄(特図)や装飾図柄(装図)と呼ぶことがあるが、「特別図柄(特図)」は、主制御基板側にて表示制御される識別情報であり、「装飾図柄(装図)」は、副制御基板側にて表示される演出としての識別情報である。「識別情報を表示可能」とは、表示方法には何ら限定されず、例えば、発光手段(例えば液晶、LED、7セグ)の発光(発光の有無だけでなく、色の違いも含む)、物理的な表示(例えば、リール帯に描かれた図柄を所定位置に停止表示する)等、を挙げることができる。「演出」とは、遊技の興趣性を高める表示内容を指し、例えば、識別情報変動・停止や予告等をはじめ、アニメーションや実写等の動画像や絵、写真、文字等の静止画像又はこれらの組み合わせを挙げることができる。「開状態、開放状態」及び「閉状態、閉鎖状態」とは、例えば、一般的な大入賞口(いわゆる、アタッカー)の構成においては、開状態=入賞容易状態であり、閉状態=入賞非容易状態となる。また、例えば、遊技盤(遊技者側)から突き出した状態(以下、進出状態と呼ぶことがある)と遊技盤内(遊技者側と反対側)に引っ込んだ状態(以下、退避状態と呼ぶことがある)とを採り得る構成(いわゆる、ベロ型アタッカー)においては、進出状態=入賞容易状態であり、退避状態=入賞非容易状態となる。「乱数」とは、ぱちんこ遊技機において何らかの遊技内容を決定するための抽選(電子計算機によるくじ)に使用される乱数であり、狭義の乱数の他に擬似乱数も含む(例えば、乱数としてはハード乱数、擬似乱数としてはソフト乱数)。例えば、遊技の結果に影響を与えるいわゆる「基本乱数」、具体的には、特別遊技の移行と関連した「当選乱数(当否抽選用乱数)」、識別図柄の変動態様(又は変動時間)を決定するための「変動態様決定乱数」、停止図柄を決定する「図柄決定乱数」、特別遊技後に特定遊技(例えば確率変動遊技)に移行するか否かを決定する「当り図柄決定乱数」等を挙げることができる。尚、変動態様の内容や確定識別情報の内容等を決定する際、これらすべての乱数を使用する必要はなく、互いに同一又は相違する、少なくとも一つの乱数を使用すればよい。また、本明細書では、乱数の数とか複数個の乱数、といった形で乱数を個数表示していることがあるが、乱数取得の契機となる入球口(例えば始動入球口)の一回の入球により取得された乱数を一個と称している(即ち、前記の例だと、当選乱数+変動態様決定乱数+図柄決定乱数・・・という乱数の束を一個の乱数と称している)。また、例えば、一種の乱数(例えば当選乱数)が、別種の乱数(例えば図柄決定乱数)を兼ねていてもよい。「遊技状態」とは、ぱちんこ遊技機の場合、例えば、大入賞口が開放状態となり得る特別遊技状態、特別遊技状態への移行抽選確率が予め定められた値である非確率変動遊技状態よりも特別遊技状態への移行抽選確率が高い確率変動遊技状態、特別遊技への移行抽選契機となる始動口への入賞に対する補助が有る補助遊技状態(いわゆる、普通図柄時短状態、例えば、始動口に可変部材が取り付けられている場合では、可変部材の開放期間が長い、可変部材の開放当選確率が高い、可変部材の開放抽選の結果報知の時間が短い)、等の任意の一又は複数の組合せである。「遊技領域」とは、遊技球が転動可能な領域であり、遊技盤D35の手前(遊技者から見て)のみに限られず、例えば、遊技盤D35の奥側(遊技者から見て)と遊技盤D35の手前側(遊技者から見て)との双方を含む遊技球が転動可能な領域であってもよい。「左打ち」とは、後述する、遊技領域D30の左側(左打ちルートML10)を遊技球が流下するよう、遊技球の発射強度を調節して遊技球を打ち出すことである。「右打ち」とは、後述する、遊技領域D30の右側(右打ちルートMR10)を遊技球が流下するよう、遊技球の発射強度を調節して遊技球を打ち出すことである。また、「左打ち領域」とは、遊技領域中央を基準とした場合に遊技領域D30の左側の領域のことである。「右打ち領域」とは、遊技領域中央を基準とした場合に遊技領域D30の右側の領域のことである。「単位時間あたりにおける易入球遊技の期待平均実行時間」とは、補助遊技図柄の図柄変動が絶え間なく行われる状況(例えば、補助遊技図柄に係る保留が常に存在している状況)を仮定した場合において、始動口に取り付けられた可変部材の単位時間(例えば、5分間)あたりにおける開放期間が占める割合を意味しているが、内部処理的には、前述した遊技状態に基づき換言すると、例えば、始動口に可変部材が取り付けられている場合では、可変部材の開放期間の長短(いわゆる開放延長機能作動状態・非作動状態)、可変部材の開放契機となる普通図柄(補助遊技図柄)の当選確率の高低(いわゆる普図高確率抽選状態・低確率抽選状態)、可変部材の開放契機となる普通図柄(補助遊技図柄)の変動時間の長短(いわゆる普図変動短縮機能非作動状態・作動状態)、等の任意の一又は複数の組合せによって実現されるものである。「識別情報の変動表示期間の平均値」とは、識別情報の変動表示毎に変動表示期間を実測し、当該実測値に基づく平均値を採るという意味に限定されるものではない。より具体的には、識別情報の変動表示毎に、その変動表示期間を決定するよう構成されている場合であって、決定(選択)されるべき変動表示期間の候補が複数種類ある場合には、当該複数種類の変動表示期間に基づく期待値(「選択確率×変動表示期間」の総和)となるが、当該選択されるべき変動表示期間の候補が一種類である場合には、その一種類の変動表示期間そのものとなる(即ち、双方の概念を含むものである)。更には、ハズレ時における識別情報の変動表示期間の平均値のみに限定した概念又は当り時における識別情報の変動表示期間の平均値のみに限定した概念、或いは、最も選択確率の高い変動表示期間のみに限定した概念としてもよく、即ち、この文言の趣旨は、遊技者が体感できる遊技の進行スピードを指し示す指標として用いることにあることを補足しておく(よって、「識別情報の変動表示期間の平均値」を異ならせる実現方法としては、変動表示期間の候補及び/又は選択確率を異ならせる、或いは、変動表示期間の候補及び/又は選択確率が同一であっても更なる変動表示期間を付加する際の期間値を異ならせる、等の様々な手法はあるが、いずれかの手法に限定されるものではない)。「識別情報の変動表示期間の平均値が第一の期間となる第一変動期間状態と、識別情報の変動表示期間の平均値が当該第一の期間とは異なる第二の期間となる第二変動期間状態とを少なくとも有し、」とは、当該二つの状態のみならず、三つ以上の状態を有していてもよい(或いは、三つ以上の状態を有する場合におけるいずれか二つの状態を対象とする)という意味であり、例えば、識別情報の変動表示回数に応じて、「第一変動期間状態」→「第二変動期間状態」→「第三変動期間状態」との状態遷移を採り得るものも含む。この場合においては、夫々の状態における識別情報の変動表示期間の平均値が、「第一変動期間状態」<「第二変動期間状態」<「第三変動期間状態」となるよう構成した場合、高速な遊技進行状態→中速な遊技進行状態→低速な遊技進行状態、との状態遷移を構築することができる{勿論、この逆となる状態遷移(遊技進行状態)を構築してもよく、その場合、次回の大当りまで継続する確率変動遊技状態+電チュー特定遊技状態と併用する際において好適となる(次回の大当り発生が確定的である状況にも拘わらず、次回の大当りが得られない状況が続くほど、遊技の進行スピードが向上するため、いわゆるハマリ時における倦怠感を払拭できる)場合がある}。更には、各状態の特徴として、「第一変動期間状態」においては、ハズレ時における識別情報の変動表示期間の平均値と当り時における識別情報の変動表示期間の平均値との差が、「第二変動期間状態」におけるその差よりも小さい、「第三変動期間状態」においては、ハズレ時における識別情報の変動表示期間の平均値と当り時における識別情報の変動表示期間の平均値との差が、「第二変動期間状態」におけるその差よりも小さいことに加え、「第一変動期間状態」と比べて、特にハズレ時における識別情報の変動表示期間が相対的に長時間となり易い(即ち、当りやリーチを示唆する変動又はリーチ変動となり易い)、「第二変動期間状態」においては、他の状態と比べて、特に当り時における識別情報の変動表示期間が相対的に長時間となり易い{即ち、ハズレが確定的となる短変動ハズレの変動表示期間や当りを示唆する中変動ハズレの変動表示期間が選択されない(又は選択され難い)が、リーチ変動(長変動当り)の変動表示期間のみ選択される(又は選択され易い)}、といった特徴を有することを例示することができる。「特別遊技の実行終了後での高確率抽選状態における特定期間」とは、当該特別遊技の実行終了直後から所定回数分の図柄変動がなされるまでの期間であってもよいし、当該特別遊技の実行終了後における一又は複数回の図柄変動がなされた後から所定回数分の図柄変動がなされるまでの期間であってもよい(即ち、特別遊技の実行終了後にて高確率抽選状態が維持されている範囲内であれば、その範囲内における任意の期間であることを意味するが故、前述の「第一変動期間状態」→「第二変動期間状態」→「第三変動期間状態」との状態遷移を採り得る場合には、当該特定期間が「第一変動期間状態」及び/又は「第二変動期間状態」の滞在期間を意味するものとなり得る)。「保留に関する情報において所定条件を充足した際」とは、例えば、その保留消化時において特別遊技(いわゆる大当り遊技)が生起する可能性が高いことを意味するが、特別遊技が生起する可能性の判断基準には特に限定されない。より具体的には、「当選乱数(当否抽選用乱数)」、識別図柄の変動態様(又は変動時間)を決定するための「変動態様決定乱数」、停止図柄を決定する「図柄決定乱数」、特別遊技後に特定遊技(例えば確率変動遊技)に移行するか否かを決定する「当り図柄決定乱数」等の乱数値を判断基準としてもよいし、これら乱数値から導き出される事象内容(当否判定結果、変動時間の長さ、停止図柄の種類、特定遊技への移行可否等)を判断基準としてもよい。「保留の存在を示唆又は報知する」とは、示唆する場合には、例えば、当該保留に到るまでの保留消化時における演出(装飾図柄の図柄変動態様や、それと連動して行われている背景演出等)の実行態様を変化させる、等を挙げることができ、報知する場合には、例えば、当該保留生起時において保留表示灯(液晶表示装置上の画像であってもよい)の表示態様を変化させる(その場合には、表示色を変化させる、表示形状を変化させる、等)、当該保留生起時において保留発生音やBGM等の音響を変化させる、当該保留生起時において演出用のランプ(枠ランプ等)の点灯態様を変化させる、或いは、当該保留生起時において実行されている他の演出(装飾図柄の図柄変動態様や、それと連動して行われている背景演出等)の実行態様を変化させる、等を挙げることができる。
【0009】
尚、本実施形態は、あくまで一例であり、各手段が存在する場所や機能等、各種処理に関しての各ステップの順序、フラグのオン・オフのタイミング、各ステップの処理を担う手段名等に関し、以下の態様に限定されるものではない。また、上記した実施形態や変更例は、特定のものに対して適用されると限定的に解すべきでなく、どのような組み合わせであってもよい。例えば、ある実施形態についての変更例は、別の実施形態の変更例であると理解すべきであり、また、ある変更例と別の変更例が独立して記載されていたとしても、当該ある変更例と当該別の変更例を組み合わせたものも記載されていると理解すべきである。
【0010】
以下の実施形態は、従来の第1種ぱちんこ遊技機を二つ混在させたような機種(第1種第1種複合機)である。但し、これには何ら限定されず、他の遊技機(例えば、従来の第1種、第2種、第3種、一般電役等のぱちんこ遊技機)に応用された場合も範囲内である。尚、本実施形態は、あくまで一例であり、各手段が存在する場所や機能等、各種処理に関しての各ステップの順序、フラグのオン・オフのタイミング、各ステップの処理を担う手段名等に関し、以下の態様に限定されるものではない。また、上記した実施形態や変更例は、特定のものに対して適用されると限定的に解すべきでなく、どのような組み合わせであってもよい。例えば、ある実施形態についての変更例は、別の実施形態の変更例であると理解すべきであり、また、ある変更例と別の変更例が独立して記載されていたとしても、当該ある変更例と当該別の変更例を組み合わせたものも記載されていると理解すべきである。また、本実施形態では、各種テーブルに関し、抽選テーブルと参照テーブルとが存在するが、これらも限定的ではなく、抽選テーブルを参照テーブルとしたり或いはこの逆としてもよい。また、本例において「テーブル」という場合には、その形式に限定されるものではなく、一又は複数の情報に基づき、複数の選択候補の中から一又は複数の選択候補が選択されるように対応付けられている態様であると理解すべきである。更に、以下の実施形態や変更例において示す具体的一例としての数値{例えば、抽選実行時における当選確率、特別遊技時における最大ラウンド数、図柄変動時間、各遊技状態における継続回数、等}は、あくまで一例であり、特に、異なる条件下(例えば、第1主遊技側と第2主遊技側との条件別、確率変動遊技時と非確率変動遊技時との条件別、時間短縮遊技時と非時間短縮遊技時との条件別、等)において示した数値の大小関係や組み合わせは、以下の実施形態や変更例の趣旨を大きく逸脱しない限りにおいては、適宜変更してもよいものであると理解すべきである。例えば、第1主遊技側と第2主遊技側とで、抽選実行時における当選確率や特別遊技時における最大ラウンド数の期待値における大小関係が、第1主遊技側=第2主遊技側となるよう例示されていたとしても、当該大小関係を第1主遊技側<第2主遊技側とする、或いは、第1主遊技側>第2主遊技側とするといったように適宜変更してもよい(その他の数値、条件下についても同様)。また、例えば、確率変動遊技状態の継続回数として、次回大当りが発生するまで継続するとの趣旨に基づき構成するに際し、継続回数として「65535」をセットするのか(実質的に継続するよう構成する)、或いは、継続回数をセットせずに次回大当りが発生するまで確率変動遊技状態を維持する、といった同一趣旨に基づく実現方法の選択肢においても、以下の実施形態や変更例の趣旨を大きく逸脱しない限りにおいては、適宜変更してもよいものであると理解すべきである。
(【0011】以降は省略されています)
この特許をJ-PlatPat(特許庁公式サイト)で参照する
関連特許
サミー株式会社
遊技機
今日
サミー株式会社
遊技機
15日前
サミー株式会社
遊技機
15日前
サミー株式会社
遊技機
15日前
サミー株式会社
遊技機
15日前
サミー株式会社
遊技機
15日前
サミー株式会社
遊技機
15日前
サミー株式会社
遊技機
15日前
サミー株式会社
遊技機
15日前
サミー株式会社
遊技機
15日前
サミー株式会社
遊技機
15日前
サミー株式会社
遊技機
15日前
サミー株式会社
遊技機
15日前
サミー株式会社
遊技機
15日前
サミー株式会社
遊技機
15日前
サミー株式会社
遊技機
15日前
サミー株式会社
遊技機
15日前
サミー株式会社
遊技機
15日前
サミー株式会社
遊技機
15日前
サミー株式会社
遊技機
15日前
サミー株式会社
遊技機
15日前
サミー株式会社
遊技機
15日前
サミー株式会社
遊技機
15日前
サミー株式会社
遊技機
15日前
サミー株式会社
遊技機
15日前
サミー株式会社
遊技機
15日前
サミー株式会社
遊技機
15日前
サミー株式会社
遊技機
15日前
サミー株式会社
遊技機
15日前
サミー株式会社
遊技機
15日前
サミー株式会社
遊技機
15日前
サミー株式会社
遊技機
15日前
サミー株式会社
遊技機
15日前
サミー株式会社
遊技機
15日前
サミー株式会社
遊技機
15日前
サミー株式会社
遊技機
15日前
続きを見る
他の特許を見る