TOP
|
特許
|
意匠
|
商標
特許ウォッチ
Twitter
他の特許を見る
10個以上の画像は省略されています。
公開番号
2025147256
公報種別
公開特許公報(A)
公開日
2025-10-07
出願番号
2024047440
出願日
2024-03-25
発明の名称
電子機器、及び、電力伝送システム
出願人
カシオ計算機株式会社
代理人
個人
主分類
H02J
7/00 20060101AFI20250930BHJP(電力の発電,変換,配電)
要約
【課題】適切でない給電装置による電子機器へのワイヤレス給電を抑制する。
【解決手段】受電回路160は、受電コイル150を介して給電装置200からワイヤレスで供給される電力をバッテリ171に供給する。センサは、給電装置200の既定部位に付与されている既定の特徴を検出する。受電回路160は、センサが既定部位から既定の特徴を検出した場合、給電装置200からバッテリ171に給電されるように動作する。
【選択図】図3
特許請求の範囲
【請求項1】
バッテリと、
受電コイルと、
前記受電コイルを介して給電装置からワイヤレスで供給される電力を前記バッテリに供給する受電回路と、
前記給電装置の既定部位に付与されている既定の特徴を検出するセンサと、を備え、
前記受電回路は、前記センサが前記既定部位から前記既定の特徴を検出した場合、前記給電装置から前記バッテリに給電されるように動作する、
電子機器。
続きを表示(約 840 文字)
【請求項2】
前記センサとして、前記既定部位に設けられた磁石が発する磁気を検出する磁気センサを備え、
前記受電回路は、前記磁気センサが前記磁気を検出した場合、前記給電装置から前記バッテリに給電されるように動作する、
請求項1に記載の電子機器。
【請求項3】
前記受電回路は、動作制御端子を備える受電ICを備え、
前記受電ICは、前記動作制御端子に第1電圧が印加されているときに動作し、前記動作制御端子に第2電圧が印加されているときに動作を停止し、
前記磁気センサは、前記磁気を検出しているときに前記動作制御端子に前記第1電圧を印加し、前記磁気を検出していないときに前記動作制御端子に前記第2電圧を印加する、
請求項2に記載の電子機器。
【請求項4】
前記センサとして、前記既定部位の色を検出するカラーセンサを備え、
前記受電回路は、前記カラーセンサが前記既定部位の色として既定色を検出した場合、前記給電装置から前記バッテリに給電されるように動作する、
請求項1に記載の電子機器。
【請求項5】
給電装置と電子機器とを備える電力伝送システムであって、
前記給電装置は、
既定の特徴が付与されている既定部位と、
送電コイルと、
前記送電コイルを介して前記電子機器にワイヤレスで電力を供給する送電回路と、を備え、
前記電子機器は、
バッテリと、
受電コイルと、
前記受電コイルを介して前記給電装置からワイヤレスで供給される前記電力を前記バッテリに供給する受電回路と、
前記既定部位に付与されている前記既定の特徴を検出するセンサと、を備え、
前記受電回路は、前記センサが前記既定部位から前記既定の特徴を検出した場合、前記給電装置から前記バッテリに給電されるように動作する、
電力伝送システム。
発明の詳細な説明
【技術分野】
【0001】
本開示は、電子機器、及び、電力伝送システムに関する。
続きを表示(約 1,400 文字)
【背景技術】
【0002】
近年、給電装置からワイヤレス給電を受けて内蔵したバッテリを充電する電子機器が利用され、特許文献1には、送電側ユニットが、受電側ユニットが適切な受電側ユニットであるか否かを判定する技術が記載されている。
【先行技術文献】
【特許文献】
【0003】
特開2010-119251号公報
【発明の概要】
【発明が解決しようとする課題】
【0004】
しかしながら、特許文献1に記載された技術では、送電側ユニットが適切な送電側ユニットであるか否かが判定されない。このため、特許文献1に記載された技術では、受電側ユニットは、受電側ユニットに対応していない送電側ユニットから給電される可能性がある。このため、適切でない給電装置による電子機器へのワイヤレス給電を抑制する技術が望まれている。
【0005】
本開示は、上記問題に鑑みてなされたものであり、適切でない給電装置による電子機器へのワイヤレス給電を抑制する電子機器、及び、電力伝送システムを提供することを目的とする。
【課題を解決するための手段】
【0006】
上記目的を達成するために、本開示に係る電子機器は、バッテリと、受電コイルと、前記受電コイルを介して給電装置からワイヤレスで供給される電力を前記バッテリに供給する受電回路と、前記給電装置の既定部位に付与されている既定の特徴を検出するセンサと、を備え、前記受電回路は、前記センサが前記既定部位から前記既定の特徴を検出した場合、前記給電装置から前記バッテリに給電されるように動作する。
【発明の効果】
【0007】
本開示によれば、適切でない給電装置による電子機器へのワイヤレス給電を抑制することができる。
【図面の簡単な説明】
【0008】
実施の形態1に係る電子機器及び給電装置の斜視図
実施の形態1に係る電子機器の本体部の斜視図
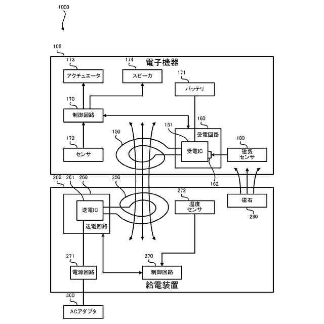
実施の形態1に係る電力伝送システムの構成図
実施の形態1に係る突起部の内部構造を示す図
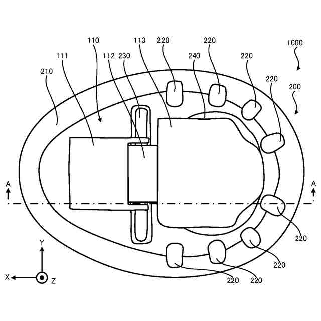
実施の形態1に係る電子機器及び給電装置の収納状態における上面図
図5に示すA-A線の断面図
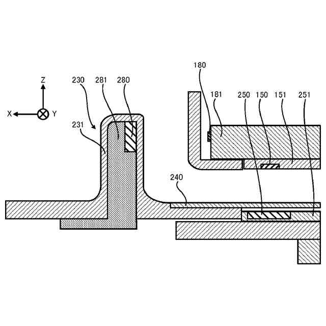
図6に示す破線50で囲まれた領域の拡大図
実施の形態1に係る磁石及び磁気センサの配置図
実施の形態1に係る磁気センサの電磁変換特性を示すグラフ
実施の形態2に係る電力伝送システムの構成図
【発明を実施するための形態】
【0009】
以下、本開示の実施の形態について、図面を参照しながら詳細に説明する。なお、図中同一又は相当部分には同一符号を付す。
【0010】
(実施の形態1)
まず、図1を参照して、実施の形態1に係る電力伝送システム1000が備える電子機器100及び給電装置200の外観について説明する。電力伝送システム1000は、給電装置200が電子機器100にワイヤレスで給電するシステムである。給電装置200は、給電装置200が備える収納部210に電子機器100が収納されたときに、電子機器100にワイヤレスで給電する。ワイヤレスとは、ケーブルの接続、電極の接触等がないことを意味する。
(【0011】以降は省略されています)
この特許をJ-PlatPat(特許庁公式サイト)で参照する
関連特許
他の特許を見る