TOP
|
特許
|
意匠
|
商標
特許ウォッチ
Twitter
他の特許を見る
公開番号
2025151015
公報種別
公開特許公報(A)
公開日
2025-10-09
出願番号
2024052228
出願日
2024-03-27
発明の名称
情報提供装置
出願人
トヨタ自動車株式会社
代理人
個人
,
個人
,
個人
,
個人
主分類
G01C
21/36 20060101AFI20251002BHJP(測定;試験)
要約
【課題】車両のドライバー向けコンテンツを配信する技術を改善する。
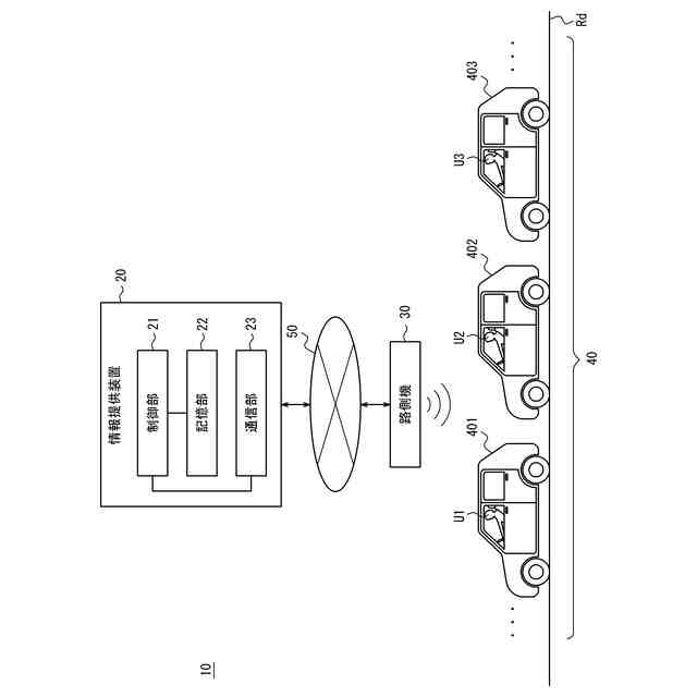
【解決手段】情報提供装置20は車両のドライバー向けコンテンツの配信を支援する。情報提供装置20は、道路Rdにおける渋滞の発生を検出し、検出された渋滞を構成する複数の車両40を特定し、特定された車両40から車両別に得られるドライバーUの運転記録を示す車両データに基づいて、配信するコンテンツの種類を車両ごとに選定し、選定されたコンテンツを対象の車両に提供する制御部21を備える。
【選択図】図1
特許請求の範囲
【請求項1】
車両のドライバー向けコンテンツの配信を支援する情報提供装置であって、
道路における渋滞の発生を検出し、検出された渋滞を構成する複数の車両を特定し、特定された車両から車両別に得られるドライバーの運転記録を示す車両データに基づいて、配信するコンテンツの種類を車両ごとに選定し、選定されたコンテンツを対象の車両に提供する制御部を備える情報提供装置。
発明の詳細な説明
【技術分野】
【0001】
本開示は、情報提供装置に関する。
続きを表示(約 900 文字)
【背景技術】
【0002】
特許文献1には、コンテンツ配信サービスを共有する他車輌の平均走行速度を取得する他に、渋滞情報を用いることで、走行経路上の自車輌における平均滞在時間を予測し、予測された平均滞在時間に応じてコンテンツ配信のサービス内容を切替えて提供するコンテンツ配信システムが開示されている。
【先行技術文献】
【特許文献】
【0003】
特開2004-280702号公報
【発明の概要】
【発明が解決しようとする課題】
【0004】
車両のドライバー向けコンテンツを配信する技術には改善の余地があった。
【0005】
本開示の目的は、車両のドライバー向けコンテンツを配信する技術を改善することにある。
【0006】
本開示の一実施形態に係る情報提供装置は、
車両のドライバー向けコンテンツの配信を支援する情報提供装置であって、
道路における渋滞の発生を検出し、検出された渋滞を構成する複数の車両を特定し、特定された車両から車両別に得られるドライバーの運転記録を示す車両データに基づいて、配信するコンテンツの種類を車両ごとに選定し、選定されたコンテンツを対象の車両に提供する制御部を備える。
【発明の効果】
【0007】
本開示によれば、車両のドライバー向けコンテンツを配信する技術が改善される。
【図面の簡単な説明】
【0008】
本開示の実施形態に係るシステムの構成を示すブロック図である。
本開示の実施形態に係る情報提供装置の動作を示すフローチャートである。
【発明を実施するための形態】
【0009】
以下、本開示の実施形態について、図を参照して説明する。
【0010】
各図中、同一又は相当する部分には、同一符号を付している。本実施形態の説明において、同一又は相当する部分については、説明を適宜省略又は簡略化する。
(【0011】以降は省略されています)
この特許をJ-PlatPat(特許庁公式サイト)で参照する
関連特許
他の特許を見る