TOP
|
特許
|
意匠
|
商標
特許ウォッチ
Twitter
他の特許を見る
公開番号
2025152235
公報種別
公開特許公報(A)
公開日
2025-10-09
出願番号
2024054036
出願日
2024-03-28
発明の名称
結線部材、ステータ構造、及び結線部材接続方法
出願人
多摩川精機株式会社
代理人
個人
,
個人
,
個人
,
個人
,
個人
主分類
H02K
3/50 20060101AFI20251002BHJP(電力の発電,変換,配電)
要約
【課題】本開示は、半田レス結線を実現することによって、ステータ構造の製造コストの増加を抑えることのできる結線部材、ステータ構造、及び結線部材接続方法を提供することを目的としている。
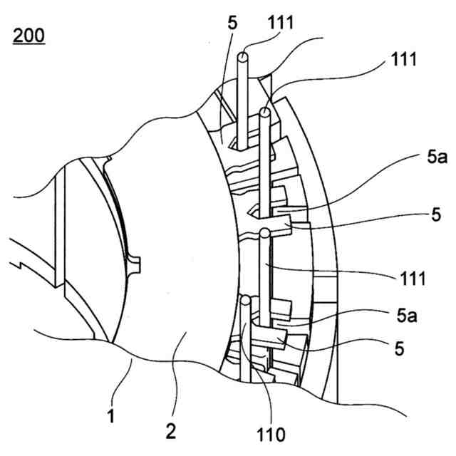
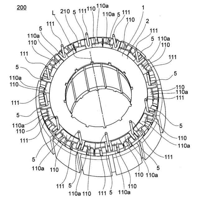
【解決手段】本開示よる結線部材1は、回路基板(2)と、回路基板(2)の外周から半径方向外側に向かって突出している複数の端子(5)と、を備え、回路基板(2)には、対応する端子(5)のそれぞれを電気的に接続する接続配線(2a)が設けられており、 各端子(5)には、対応するコイル(110)に接続しているコイル配線(111)を挟み込んで接続することができる接続部(5a)が形成されている。
【選択図】図2
特許請求の範囲
【請求項1】
環状、又は環状の一部を有する回路基板(2)と、
前記回路基板(2)の外周から半径方向外側に向かって突出している複数の端子(5)と、
を備え、
前記回路基板(2)には、対応する前記端子(5)のそれぞれを電気的に接続する接続配線(2a)が設けられており、
各前記端子(5)には、対応するコイル(110)に接続されているコイル配線(111)を挟み込んで電気的に接続させることができる接続部(5a)が形成されている、
結線部材(1)。
続きを表示(約 1,100 文字)
【請求項2】
各前記接続部(5a)は、前記端子(5)に形成された前記回路基板(2)の半径方向の外側に向かって開いている切り欠きである、
請求項1に記載の結線部材(1)。
【請求項3】
各前記接続部(5a)は、前記端子(5)に形成された貫通した孔である、
請求項1に記載の結線部材(1)。
【請求項4】
前記接続配線(2a)は、前記回路基板(2)に形成されたプリント配線である、
請求項1に記載の結線部材(1)。
【請求項5】
一つの対応する前記コイル(110)に対して一つの前記端子(5)を備えている、
請求項1に記載の結線部材(1)。
【請求項6】
一つの対応する前記コイル(110)に対して二つの前記端子(5)を備えている、
請求項1に記載の結線部材(1)。
【請求項7】
請求項1に記載の結線部材(1)と、
ステータ本体(210)と、
前記ステータ本体(210)に設置された複数のコイル(110)と、
を備え、
各前記コイル(110)からは、それぞれに接続されたコイル配線(111)が延びており、
前記結線部材(1)の前記端子(5)のそれぞれは、対応する前記コイル配線(111)と接続されている、
ステータ構造(200)。
【請求項8】
各前記コイル(110)は、巻線(110a)が巻回されて形成されており、
前記コイル配線(111)は、前記巻線(110a)の一方の端部である、
請求項7に記載のステータ構造(200)。
【請求項9】
各前記コイル(110)は、一つ以上のブロック部材(110c、110d)で構成されており、
各前記コイル(110)と、対応する前記コイル配線(111)とが互いに接続されている、
請求項7に記載のステータ構造(200)。
【請求項10】
請求項1に記載の結線部材(1)を準備する結線部材準備工程(S01)と、
複数のコイル(110)を環状に並べるコイル配置工程(S02)と、
前記コイル配置工程(S02)の後に実施される、各前記コイル(110)に接続している各コイル配線(111)と、対応する前記結線部材(1)の前記端子(5)とを接続する結線部材接続工程(S03)と、
を備え、
前記結線部材接続工程(S03)では、各前記端子(5)の前記接続部(5a)に前記コイル配線(111)が挟み込まれることにより、各前記コイル配線(111)と各前記端子(5)とが電気的に接続される、
結線部材接続方法。
(【請求項11】以降は省略されています)
発明の詳細な説明
【技術分野】
【0001】
本開示は、結線部材、ステータ構造、及び結線部材接続方法に関するものである。
続きを表示(約 1,400 文字)
【背景技術】
【0002】
従来、外周縁部に設けられたスリットに配置されたコイルの端部と、当該スリットを形成するバスバー基板の一部分とが半田により接合されているバスバー基板が知られている(例えば特許文献1参照)。
【先行技術文献】
【特許文献】
【0003】
特開2009-247138号公報
【発明の概要】
【発明が解決しようとする課題】
【0004】
従来のバスバー基板とコイルの端部との接合では、半田を用いて結線していた。このため、消費材料としての半田の購入、及び半田接合工程の実施によってステータ構造の製造コストが増加してしまうという問題があった。
【0005】
本開示は、上記問題を解決するために、半田レス結線を実現することによって、ステータ構造の製造コストの増加を抑えることのできる結線部材、ステータ構造、及び結線部材接続方法を提供することを目的としている。
【課題を解決するための手段】
【0006】
本開示に係る結線部材は、環状、又は環状の一部を有する回路基板と、回路基板の外周から半径方向外側に向かって突出している複数の端子と、を備え、回路基板には、対応する端子のそれぞれを電気的に接続する接続配線が設けられており、各端子には、対応するコイルに接続されているコイル配線を挟み込んで電気的に接続させることができる接続部が形成されている。
【0007】
本開示に係るステータ構造は、本開示の結線部材と、ステータ本体と、ステータ本体に設置された複数のコイルと、を備え、各コイルからは、それぞれに接続されたコイル配線が延びており、結線部材の端子のそれぞれは、対応するコイル配線と接続されている。
【0008】
本開示に係る結線部材接続方法は、本開示の結線部材を準備する結線部材準備工程と、複数のコイルを環状に並べるコイル配置工程と、コイル配置工程の後に実施される、各コイルに接続している各コイル配線と、対応する結線部材の端子とを接続する結線部材接続工程と、を備え、結線部材接続工程では、各端子の接続部にコイル配線が挟み込まれることにより、各コイル配線と各端子とが電気的に接続される。
【発明の効果】
【0009】
本開示に係る結線部材、ステータ構造、及び結線部材接続方法によれば、ステータ構造の製造コストの増加を抑えることができる。
【図面の簡単な説明】
【0010】
実施の形態1によるステータ構造を示す概略図である。
図1における結線部材を示す概略図である。
実施の形態1によるステータ構造の製造方法を示すフローチャートである。
図1におけるステータ構造において、一つのコイルから二本のコイル配線が突出する形態を示す概略図である。
図2における結線部材において、回路基板が切り欠かれている形態を示す概略図である。
図1におけるコイルにおいて、コイルがブロック部材で構成されている形態を示す概略図である。
図2における端子において、接続部が貫通した孔である形態を示す概略図である。
【発明を実施するための形態】
(【0011】以降は省略されています)
この特許をJ-PlatPat(特許庁公式サイト)で参照する
関連特許
他の特許を見る