TOP
|
特許
|
意匠
|
商標
特許ウォッチ
Twitter
他の特許を見る
10個以上の画像は省略されています。
公開番号
2025152338
公報種別
公開特許公報(A)
公開日
2025-10-09
出願番号
2024054181
出願日
2024-03-28
発明の名称
遊戯システム
出願人
本田技研工業株式会社
代理人
弁理士法人桐朋
主分類
A63F
13/818 20140101AFI20251002BHJP(スポーツ;ゲーム;娯楽)
要約
【解決手段】遊戯システム10は、ユーザUにより操作される操作子12と、糸状部材13を介して操作子12に接続される移動体14と、予め決められたオブジェクトの挙動を示す挙動データに基づいて、移動体14の挙動を制御する移動体制御部32と、移動体14の挙動に応じたオブジェクトの挙動に対応する仮想空間画像を生成する画像生成部50と、ユーザUに装着されるとともに、画像生成部50によって生成される仮想空間画像をユーザUに提供するヘッドマウントディスプレイ18と、を備える。
【選択図】図1
特許請求の範囲
【請求項1】
ユーザにより操作される操作子と、
糸状部材を介して前記操作子に接続される移動体と、
予め決められたオブジェクトの挙動を示す挙動データに基づいて、前記移動体の挙動を制御する移動体制御部と、
前記移動体の挙動に応じた前記オブジェクトの挙動に対応する仮想空間画像を生成する画像生成部と、
前記ユーザに装着されるとともに、前記画像生成部によって生成される前記仮想空間画像を前記ユーザに提供するヘッドマウントディスプレイと、
を備える、遊戯システム。
続きを表示(約 570 文字)
【請求項2】
請求項1に記載の遊戯システムにおいて、
前記移動体に備えられるとともに、前記挙動データに基づいて前記糸状部材の張力を調整し得る張力調整部を備える、遊戯システム。
【請求項3】
請求項1に記載の遊戯システムにおいて、
前記ヘッドマウントディスプレイの挙動を検出する検出部を備え、
前記移動体制御部は、前記検出部によって検出された前記ヘッドマウントディスプレイの挙動に応じた挙動を前記移動体に生じさせる、遊戯システム。
【請求項4】
請求項1に記載の遊戯システムにおいて、
前記挙動データは、複数種類の前記オブジェクトの前記挙動データのうちから選択され得る、遊戯システム。
【請求項5】
請求項1に記載の遊戯システムにおいて、
前記操作子は、釣り竿を含み、
前記オブジェクトは、魚である、遊戯システム。
【請求項6】
請求項1に記載の遊戯システムにおいて、
前記操作子は、糸巻部材であり、
前記オブジェクトは、凧である、遊戯システム。
【請求項7】
請求項1に記載の遊戯システムにおいて、
前記移動体は、芝刈り機、掃除機及びドローンのうちのいずれかである、遊戯システム。
発明の詳細な説明
【技術分野】
【0001】
本開示は、遊戯システムに関する。
続きを表示(約 1,300 文字)
【背景技術】
【0002】
特許文献1には、ヘッドマウントディスプレイを利用するゲーム装置が開示される。ヘッドマウントディスプレイを装着したプレーヤは、現実世界のプレイエリア又はゲーム装置筐体内で移動可能である。
【先行技術文献】
【特許文献】
【0003】
特開2017-119032号公報
【発明の概要】
【発明が解決しようとする課題】
【0004】
臨場感のある疑似体験が可能な遊戯システムを提供することが望まれる。
【0005】
本発明は、上述した課題を解決することを目的とする。
【課題を解決するための手段】
【0006】
本開示の態様は、ユーザにより操作される操作子と、糸状部材を介して前記操作子に接続される移動体と、予め決められたオブジェクトの挙動を示す挙動データに基づいて、前記移動体の挙動を制御する移動体制御部と、前記移動体の挙動に応じた前記オブジェクトの挙動に対応する仮想空間画像を生成する画像生成部と、前記ユーザに装着されるとともに、前記画像生成部によって生成される前記仮想空間画像を前記ユーザに提供するヘッドマウントディスプレイと、を備える、遊戯システムである。
【発明の効果】
【0007】
本発明によれば、臨場感のある疑似体験が可能な遊戯システムを提供することができる。
【図面の簡単な説明】
【0008】
図1は、第1実施形態に係る遊戯システムの概略構成図である。
図2は、第1実施形態に係る移動体の機能ブロック図である。
図3は、第1実施形態に係る情報処理装置の機能ブロック図である。
図4は、第1実施形態に係るヘッドマウントディスプレイの機能ブロック図である。
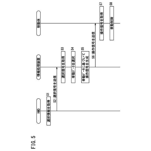
図5は、移動体の操作に関するシーケンス図である。
図6は、仮想空間画像の表示に関するシーケンス図である。
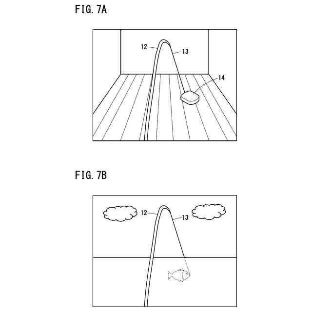
図7Aは、現実空間画像を示す図である。図7Bは、仮想空間画像を示す図である。
図8は、第2実施形態に係る移動体の機能ブロック図である。
図9は、第2実施形態に係る情報処理装置の機能ブロック図である。
図10は、第3実施形態に係るヘッドマウントディスプレイの機能ブロック図である。
図11は、第4実施形態に係る遊戯システムの概略構成図である。
【発明を実施するための形態】
【0009】
本明細書で説明する遊戯システムは、ユーザにより操作される操作子とオブジェクトとが糸状部材を介してつながる遊戯を、ユーザに仮想空間内で疑似体験させる。例えば、遊戯システムは、ユーザに仮想空間内で、釣り、凧あげ等の遊戯を疑似体験させることができる。
【0010】
[1 第1実施形態]
第1実施形態においては、遊戯として釣りを想定する。疑似体験できる遊戯が釣りである場合、オブジェクトは魚である。
(【0011】以降は省略されています)
この特許をJ-PlatPat(特許庁公式サイト)で参照する
関連特許
他の特許を見る