TOP
|
特許
|
意匠
|
商標
特許ウォッチ
Twitter
他の特許を見る
公開番号
2025153727
公報種別
公開特許公報(A)
公開日
2025-10-10
出願番号
2024056342
出願日
2024-03-29
発明の名称
遊技機
出願人
サミー株式会社
代理人
弁理士法人サンネクスト国際特許事務所
主分類
A63F
5/04 20060101AFI20251002BHJP(スポーツ;ゲーム;娯楽)
要約
【課題】遊技者に遊技を楽しませ得る遊技機を提供する。
【解決手段】
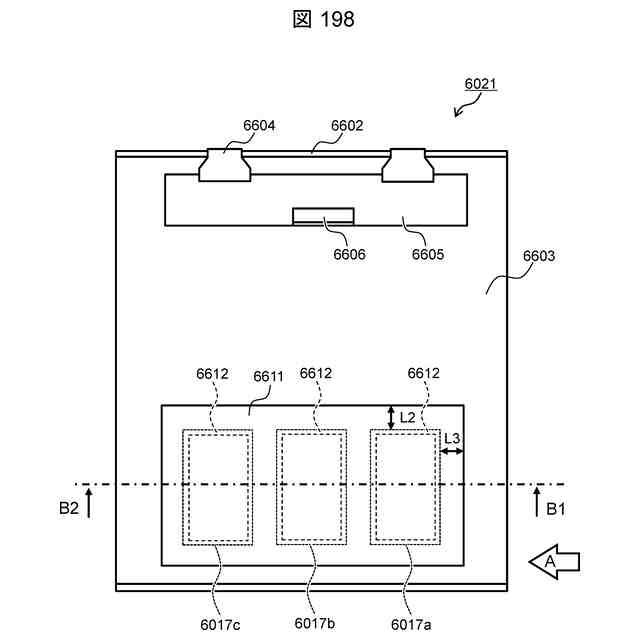
遊技機6000は、回転可能な複数のリール(リール6039)と、複数のリールの前側に配置されて液晶パネルで画像を表示する画像表示装置(画像表示装置6021)と、を備える。画像表示装置は、透過可能な液晶パネル(液晶パネル6601)と、リールを視認可能とする1以上の表示窓(表示窓6017)を有して液晶パネルの後面に配置される液晶ベース部材(液晶ベース6603)と、液晶パネルとリールとの間に、表示窓を覆う態様で配置される透明な保護シート(透明シート6611)と、を有し、液晶パネルと保護シートとの間の空間の奥行き(L2,L3)は、遊技メダル1枚の厚み(H1)よりも薄い。
【選択図】図198
特許請求の範囲
【請求項1】
回転可能な複数のリールと、
複数のリールの前側に配置されて液晶パネルで画像を表示する画像表示装置と、
を備え、
画像表示装置は、透過可能な液晶パネルと、リールを視認可能とする1以上の表示窓を有して液晶パネルの後面に配置される液晶ベース部材と、液晶パネルとリールとの間に、表示窓を覆う態様で配置される透明な保護シートと、を有し、
液晶パネルと保護シートとの間の空間の奥行きは、遊技メダル1枚の厚みよりも薄い
ことを特徴とする遊技機。
発明の詳細な説明
【技術分野】
【0001】
本発明は、回胴式遊技機(「パチスロ機」、「スロットマシン」とも称される。)、あるいは弾球式遊技機(「パチンコ遊技機」、「パチンコ機」とも称される)等の遊技機に関するものである。
続きを表示(約 4,600 文字)
【背景技術】
【0002】
従来、遊技機では、遊技者に遊技を楽しませるための様々な工夫がなされている。遊技を楽しませる代表的な工夫は、液晶パネル等に演出用の画像を表示することであり、例えば、遊技領域(スロットマシンの場合は遊技者から視認可能なリールの図柄表示領域に相当し、パチンコ機の場合は多数の障害釘が植設された遊技パネル上の領域に相当する)に、透過液晶や導光板による演出用画像を重ねて表示するといった技術が知られている(例えば、特許文献1)。また、従来の遊技機では、演出用画像の表示以外にも、遊技機に関連する意匠(デザイン)の印刷物を表示することによっても、遊技者を楽しませることができる。その他にも、遊技領域への異物の侵入を防止するような構造を備えることも、遊技の継続性を高めるように工夫すること(例えば、遊技機における不具合を防止したり、遊技領域への異物の混入を防止したりすること等)も、結果として遊技者に遊技を快適に楽しませるための工夫と言える。
【先行技術文献】
【特許文献】
【0003】
特開2007-105169号公報
【発明の概要】
【発明が解決しようとする課題】
【0004】
上記したように従来の遊技機では様々な工夫が行われてきたが、遊技者に遊技を楽しませるために、更なる改善の余地がある。
【0005】
そこで、本発明は、上述した課題に鑑みて、遊技者に遊技を楽しませ得る遊技機を提供することを目的とする。
【課題を解決するための手段】
【0006】
かかる課題を解決するため本発明においては、回転可能な複数のリールと、複数のリールの前側に配置されて液晶パネルで画像を表示する画像表示装置と、を備え、画像表示装置は、透過可能な液晶パネルと、リールを視認可能とする1以上の表示窓を有して液晶パネルの後面に配置される液晶ベース部材と、液晶パネルとリールとの間に、表示窓を覆う態様で配置される透明な保護シートと、を有し、液晶パネルと保護シートとの間の空間の奥行きは、遊技メダル1枚の厚みよりも薄い、ことを特徴とする遊技機が提供される。
【発明の効果】
【0007】
本発明によれば、遊技者に遊技を楽しませ得る遊技機を提供することができる。
【図面の簡単な説明】
【0008】
本発明の第1の実施形態に係るパチンコ機の正面図である。
パチンコ機の右側面図である。
パチンコ機を前方から見た斜視図である。
パチンコ機を後方から見た斜視図である。
前枠からガラス枠を開放させるとともに、外枠から前枠を開放させた状態のパチンコ機を前方から見た斜視図である。
ガラス枠、遊技盤、前枠、及び外枠に分解したパチンコ機を前方から見た分解斜視図である。
ガラス枠、遊技盤、前枠、及び外枠に分解したパチンコ機を後方から見た分解斜視図である。
遊技盤の正面図である。
遊技盤を右前から見た斜視図である。
遊技盤の背面図である。
遊技盤の背面を左後ろから見た斜視図である。
遊技盤の背面を右後ろから見た斜視図である。
遊技盤を主な構成毎に分解して前から見た分解斜視図である。
遊技盤を主な構成毎に分解して後ろから見た分解斜視図である。
パチンコ機の背面図(その1)である。
パチンコ機の背面図(その2)である。
パチンコ機の背面図(その3)である。
図17の状態におけるパチンコ機の斜視図である。
遊技機の電気的な構成例を示す制御ブロック図である。
図19に示す主制御基板の機能の一例を示すブロック図である。
図19に示す演出制御基板の機能の一例を示すブロック図である。
特別図柄当否抽選テーブルの一例を示す図である。
特別図柄当り図柄テーブルの一例を示す図である。
当り用の特別図柄変動パターンテーブルの一例を示す図である。
はずれ用の特別図柄変動パターンテーブルの一例を示す図である。
変動パターン先読み判定テーブルの一例を示す図である。
主制御側メイン処理の一例を示すフローチャートである。
図27に続く主制御側メイン処理の一例を示すフローチャートである。
図28に続く主制御側メイン処理の一例を示すフローチャートである。
設定変更処理の一例を示すフローチャートである。
設定確認処理の一例を示すフローチャートである。
主制御側タイマ割込み処理の一例を示すフローチャートである。
図32に連続する主制御側タイマ割込み処理の一例を示すフローチャートである。
始動口監視制御処理の一例を示すフローチャートである。
図34に続く始動口監視制御処理の一例を示すフローチャートである。
特別図柄変動開始監視制御処理の一例を示すフローチャートである。
図36に示す特別図柄変動開始監視処理の一例を示すフローチャートである。
図37に続く特別図柄変動開始監視処理の一例を示すフローチャートである。
特別図柄制御処理の一例を示すフローチャートである。
図39に示す特別図柄制御汎用処理の一例を示すフローチャートである。
図40に示す特別図柄変動開始処理の一例を示すフローチャートである。
図40に示す特別図柄変動中処理の一例を示すフローチャートである。
図40に示す特別図柄停止図柄表示中処理の一例を示すフローチャートである。
図43に続く特別図柄停止図柄表示中処理の一例を示すフローチャートである。
図44に続く特別図柄停止図柄表示中処理の一例を示すフローチャートである。
特別電動役物制御処理の一例を示すフローチャートである。
図46に続く特別電動役物制御処理の一例を示すフローチャートである。
図47に続く特別電動役物制御処理の一例を示すフローチャートである。
リセット開始処理の一例を示すフローチャートである。
演出制御側メイン処理の一例を示すフローチャートである。
図50に示すコマンド解析処理の一例を示すフローチャートである。
図51に示す演出状態移行処理の一例を示すフローチャートである。
図51に示す変動演出内容決定処理の一例を示すフローチャートである。
図51に示す大当り演出内容決定処理の一例を示すフローチャートである。
図54に続く大当り演出内容決定処理の一例を示すフローチャートである。
演出制御側タイマ割込み処理の一例を示すフローチャートである。
画像制御コマンド送信割込み処理の一例を示すフローチャートである。
演出表示装置における装飾図柄等の表示を説明するための図である。
遊技待機中デモ演出の開始前の画面遷移例を示す図である。
MYカウンタの計数方法を説明するための図である。
事前報知演出の表示例(その1)を示す図である。
事前報知演出の表示例(その2)を示す図である。
抑制報知演出の表示例を示す図である。
本発明の第2の実施形態に係るパチンコ機における電気的な構成例を示す図である。
図64に示した副制御基板の機能の一例を示すブロック図である。
描画処理の処理手順例を示すフローチャートである。
ウォッチドッグタイマのクリア処理の処理手順例を示すフローチャートである。
コマンド解析の処理手順例を示すフローチャートである。
遊技機2000の外観斜視図である。
遊技機2000の正面外観図である。
遊技機2000の一部分の上面図である。
遊技機2000における制御の概略を示すブロック図である。
図柄表示装置2038の斜視図である。
バックランプ2310の一例を示す斜視図である。
左リール2039aの斜視図である。
左リール2039aの分解斜視図である。
各リールの図柄の配列を説明するための図である。
リール停止時の図柄の表示について説明するための図である。
リールテープ2320の端部付近を説明するための図である。
所定のリール図柄のデザイン例を説明するための図である。
アタッカユニットの一例を示す図である。
デザイン部と遊技球との重なりを説明するための図である。
デザインが印刷された遊技盤の基材の構造の一例を示す断面図である。
縮み加工が施されたパネル部材を遊技者が視認した際のイメージを説明するための図である。
障害釘の植設構造を説明するためのイメージ図である。
障害釘と電子部品との位置関係の一例を示す図である。
図86に示した障害釘3301AとLED3341Aとの位置関係を模式的に示す側面図である。
障害釘と電子部品との位置関係の別例を示す図である。
装飾役物の構造例を示す断面図である。
パチンコ機4000を正面の右上方から見た外観斜視図である。
パチンコ機4000を背面の右上方から見た外観斜視図である。
図92は、パチンコ機4000の外観の三面図である。
パチンコ機4000の背面図である。
裏カバー4003dを開放したパチンコ機4000の背面の外観斜視図である。
裏カバー4003dの外観斜視図である。
裏カバー4003dの正面図である。
遊技盤4004を正面の右上方から見た外観斜視図である。
遊技盤4004を背面の右上方から見た外観斜視図である。
遊技盤4004の外観の三面図である。
遊技盤4004の背面図である。
【発明を実施するための形態】
【0009】
以下に、本発明の実施形態に係る遊技機について、図面を参照しながら説明する。
【0010】
<1.第1の実施形態>
<パチンコ機の構造>
図1は、本発明の第1の実施形態に係るパチンコ機の正面図である。また、図2以降には、図1に示したパチンコ機1について、他方向から見た様子や分解した様子等が示されている。図2は、パチンコ機の右側面図であり、図3は、パチンコ機を前方から見た斜視図であり、図4は、パチンコ機を後方から見た斜視図である。また、図5は、前枠からガラス枠を開放させるとともに、外枠から前枠を開放させた状態のパチンコ機を前方から見た斜視図であり、図6は、ガラス枠、遊技盤、前枠、及び外枠に分解したパチンコ機を前方から見た分解斜視図であり、図7は、ガラス枠、遊技盤、前枠、及び外枠に分解したパチンコ機を後方から見た分解斜視図である。
(【0011】以降は省略されています)
この特許をJ-PlatPat(特許庁公式サイト)で参照する
関連特許
サミー株式会社
遊技機
12日前
サミー株式会社
遊技機
29日前
サミー株式会社
遊技機
29日前
サミー株式会社
遊技機
29日前
サミー株式会社
遊技機
29日前
サミー株式会社
遊技機
29日前
サミー株式会社
遊技機
29日前
サミー株式会社
遊技機
29日前
サミー株式会社
遊技機
29日前
サミー株式会社
遊技機
29日前
サミー株式会社
遊技機
29日前
サミー株式会社
遊技機
29日前
サミー株式会社
遊技機
29日前
サミー株式会社
遊技機
29日前
サミー株式会社
遊技機
29日前
サミー株式会社
遊技機
29日前
サミー株式会社
遊技機
29日前
サミー株式会社
遊技機
29日前
サミー株式会社
遊技機
29日前
サミー株式会社
遊技機
29日前
サミー株式会社
遊技機
29日前
サミー株式会社
遊技機
29日前
サミー株式会社
遊技機
29日前
サミー株式会社
遊技機
29日前
サミー株式会社
遊技機
29日前
サミー株式会社
遊技機
29日前
サミー株式会社
遊技機
29日前
サミー株式会社
遊技機
29日前
サミー株式会社
遊技機
29日前
サミー株式会社
遊技機
29日前
サミー株式会社
遊技機
29日前
サミー株式会社
遊技機
29日前
サミー株式会社
遊技機
29日前
サミー株式会社
遊技機
29日前
サミー株式会社
遊技機
29日前
サミー株式会社
遊技機
29日前
続きを見る
他の特許を見る