TOP
|
特許
|
意匠
|
商標
特許ウォッチ
Twitter
他の特許を見る
公開番号
2025154632
公報種別
公開特許公報(A)
公開日
2025-10-10
出願番号
2024057744
出願日
2024-03-29
発明の名称
糖化ヘモグロビン解析方法及び糖化ヘモグロビン解析装置
出願人
東ソー株式会社
代理人
個人
,
個人
,
個人
,
個人
,
個人
,
個人
主分類
G01N
30/88 20060101AFI20251002BHJP(測定;試験)
要約
【課題】クロマトグラムの形状から健常人検体か異常ヘモグロビン種の検体かを簡便に判別することを可能とする糖化ヘモグロビン解析方法及び解析装置を提供することを目的とする。
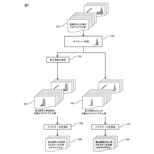
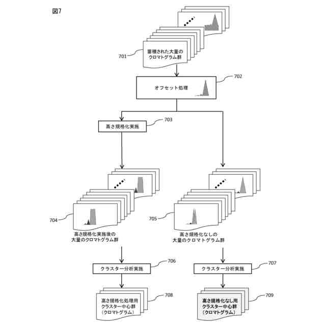
【解決手段】クロマトグラムデータの最大強度を示す第1の成分ピークが単峰性か多峰性かを判定し、単峰性クロマトグラムデータ群に対して、第1の成分ピークと異なる第2の成分ピークの高さを規格化する高さ規格化処理を行い、第1クラスター分析を行って第1クラスター群に分類し、多峰性クロマトグラムデータ群のそれぞれに対して第2クラスター分析を行って第2クラスター群に分類する、ことを特徴とする糖化ヘモグロビン解析方法及び解析装置。
【選択図】図7
特許請求の範囲
【請求項1】
液体クロマトグラフィにより得られる糖化ヘモグロビンのクロマトグラムデータ群に対して、オフセット処理を行い、
オフセット処理済の前記クロマトグラムデータ群のそれぞれに対して、クロマトグラムデータの最大強度を示す第1の成分ピークが単峰性か多峰性かを判定し、
オフセット処理済の前記クロマトグラムデータ群の内で単峰性であると判定された単峰性クロマトグラムデータ群に対して、前記第1の成分ピークと異なる第2の成分ピークの高さを規格化する高さ規格化処理を行い、
前記第2の成分ピークの高さ規格化処理済の前記第1クロマトグラムデータ群のそれぞれに対して第1クラスター分析を行って、第1クラスター群に分類し、
オフセット処理済の前記クロマトグラムデータ群の内で多峰性であると判定された多峰性クロマトグラムデータ群のそれぞれに対して第2クラスター分析を行って、第2クラスター群に分類する、
ことを特徴とする糖化ヘモグロビン解析方法。
続きを表示(約 1,400 文字)
【請求項2】
液体クロマトグラフィにより得られる未知検知の糖化ヘモグロビンのクロマトグラムデータに対して、オフセット処理を行い、
オフセット処理済の前記クロマトグラムデータに対して、クロマトグラムデータの最大強度を示す第1の成分ピークが単峰性か多峰性かを判定し、
オフセット処理済の前記クロマトグラムデータが単峰性であると判定された場合は、前記クロマトグラムデータに対して前記第2の成分ピークの高さ規格化処理を行い、前記第2の成分ピークの高さ規格化処理済の前記クロマトグラムデータと請求項1に記載の前記第1クラスター群と比較して最も類似度の高いクラスターを推定し、
オフセット処理済の前記クロマトグラムデータが多峰性であると判定された場合は、請求項1に記載の前記第2クラスター群と比較して最も類似度の高いクラスターを推定する、
ことを特徴とする糖化ヘモグロビン解析方法。
【請求項3】
液体クロマトグラフィにより得られる糖化ヘモグロビンのクロマトグラムデータの最大強度を示す第1の成分ピークが単峰性である単峰性クロマトグラムデータ群のそれぞれに対して第1クラスター分析を行って分類された第1クラスター群と、前記第1の成分ピークが多峰性である多峰性クロマトグラムデータ群のそれぞれに対して第2クラスター分析を行って分類された第2クラスター群とを記憶し、
液体クロマトグラフィにより得られる未知検体の糖化ヘモグロビンのクロマトグラムデータに対して、オフセット処理を行い、
前記オフセット処理後の前記クロマトグラムデータに対して、前記第1の成分ピークが単峰性か多峰性かを判定し、
単峰性であると判定された場合は、前記クロマトグラムデータに対して、前記第1の成分ピークと異なる第2の成分ピークの高さを規格化する高さ規格化処理を行い、前記第2の成分ピークの高さ規格化処理済の前記クロマトグラムデータと前記第1クラスター群と比較して最も類似度の高いクラスターを推定し、
多峰性であると判定された場合は、オフセット処理後の前記クロマトグラムデータと前記第2クラスター群と比較して最も類似度の高いクラスターを推定する、
ことを特徴とする糖化ヘモグロビン解析方法。
【請求項4】
液体クロマトグラフィにより得られる糖化ヘモグロビンのクロマトグラムデータの最大強度を示す第1の成分ピークが単峰性である単峰性クロマトグラムデータ群のそれぞれに対して第1クラスター分析を行って分類された第1クラスター群と、前記第1の成分ピークが多峰性である多峰性クロマトグラムデータ群のそれぞれに対して第2クラスター分析を行って分類された第2クラスター群とを記憶する記憶部と、
液体クロマトグラフィにより得られる未知検体の糖化ヘモグロビンのクロマトグラムデータを取得する取得部と、
前記クロマトグラムデータの最大強度を示す第1の成分ピークが単峰性か多峰性かを判定する判定部と、
前記判定部が単峰性であると判定した場合は、前記クロマトグラムデータと前記第1クラスター群と比較して最も類似度の高いクラスターを推定し、前記判定部が多峰性であると判定した場合には前記クロマトグラムデータと前記第2クラスター群と比較して最も類似度の高いクラスターを推定する推定部と、
前記推定部による推定結果を出力する出力部と、
を有することを特徴とする糖化ヘモグロビン解析装置。
発明の詳細な説明
【技術分野】
【0001】
本発明は、糖化ヘモグロビン解析方法及び糖化ヘモグロビン解析装置に関する。
続きを表示(約 2,600 文字)
【背景技術】
【0002】
液体クロマトグラフィは種々混合物の分離定量に用いられる手法である。カラム(充填剤)と試料成分の特性、溶離液との相互作用の差異により分離が行われ、各種検出器により各成分を検出するものである。定性分析の場合、同じ分離条件では、各成分は特定の時間に溶出することを利用し、成分が何かを特定するのが一般的な方法である。定量分析の場合は、事前に複数の濃度既知の標準試料により、濃度と検出器出力の関係(検量線)を事前に取得しておき、未知試料で得られた検出器の出力から濃度を算出する。
【0003】
液体クロマトグラフィは低分子化合物、合成高分子、タンパク質等、様々な試料の分離を行なうことができるが、その目的により分離の原理が異なる「分離モード」を使用する。低分子化合物などは、「逆相クロマトグラフィ」、合成高分子などは分子サイズの違いによる「サイズ排除クロマトグラフィ」などの分離モードが多用される。タンパク質の分離の場合は、サイズ排除クロマトグラフィや電荷の差異により分離を行なう「イオン交換クロマトグラフィ」が多用される。
【0004】
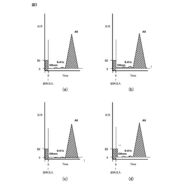
近年では、液体クロマトグラフィを臨床検査の分野で使用されることも多くなっている。その代表的な適用としては、糖尿病の指標をされるHbA1c%(ヘモグロビンA1c)の測定である。これは、血液検体(患者検体)を溶血および希釈したのち、イオン交換樹脂が充填されたカラムに注入し、イオン強度の異なる複数の溶離液によりヘモグロビンを各分画に分け、可視吸収検出器(415nm付近)で検出し、S-A1cピーク分画の量から、HbA1c%を算出するものである(イオン交換クロマトグラフィ)。実際には、全体のピーク面積の総和に対するS-A1cピーク面積の比と、事前の標準検体から作成された検量線からHbA1c%を計算し、臨床的に使用される(例えば、特許文献1参照)。
【先行技術文献】
【特許文献】
【0005】
特開2001-74748号公報
【発明の概要】
【発明が解決しようとする課題】
【0006】
しかしながら、稀に遺伝子異常の「異常ヘモグロビン種」の検体が見られることがあり、この場合、健常人のヘモグロビン種と電荷が異なるため、クロマトグラム上での溶出位置、ピーク形状が異なるケースが見られる。また、異常ヘモグロビンは多種存在し、その種類ごとにクロマトグラムのパターンにも変化が見られる。そのため、健常人のクロマトグラムと異なるパターンを示す場合、正確なHbA1c%を算出できない場合があった。正確な算出を行うためには、クロマトグラムの形状から健常人検体か異常ヘモグロビン種の検体かを判別する必要があるが、その判別には多くの経験や知見が必要であり、より簡便にその判別ができることが望まれている。
【0007】
本発明は、クロマトグラムの形状から健常人検体か異常ヘモグロビン種の検体かを簡便に判別することを可能とする糖化ヘモグロビン解析方法及び糖化ヘモグロビン解析装置を提供することを目的とする。
【課題を解決するための手段】
【0008】
本発明に係る糖化ヘモグロビン解析方法では、液体クロマトグラフィにより得られる糖化ヘモグロビンのクロマトグラムデータ群に対してオフセット処理を行い、オフセット処理済の前記クロマトグラムデータ群のそれぞれに対してクロマトグラムデータの最大強度を示す第1の成分ピークが単峰性か多峰性かを判定し、オフセット処理済のクロマトグラムデータ群の内で単峰性であると判定された単峰性クロマトグラムデータ群に対して第1の成分ピークと異なる第2の成分ピークの高さを規格化する高さ規格化処理を行い、第2の成分ピークの高さ規格化処理済の第1クロマトグラムデータ群のそれぞれに対して第1クラスター分析を行って第1クラスター群に分類し、オフセット処理済のクロマトグラムデータ群の内で多峰性であると判定された多峰性クロマトグラムデータ群のそれぞれに対して第2クラスター分析を行って第2クラスター群に分類する、ことを特徴とする。
【0009】
また、本発明に係る糖化ヘモグロビン解析方法では、液体クロマトグラフィにより得られる未知検知の糖化ヘモグロビンのクロマトグラムデータに対してオフセット処理を行い、オフセット処理済のクロマトグラムデータに対してクロマトグラムデータの最大強度を示す第1の成分ピークが単峰性か多峰性かを判定し、オフセット処理済のクロマトグラムデータが単峰性であると判定された場合はクロマトグラムデータに対して第2の成分ピークの高さ規格化処理を行い第2の成分ピークの高さ規格化処理済のクロマトグラムデータと第1クラスター群と比較して最も類似度の高いクラスターを推定し、オフセット処理済のクロマトグラムデータが多峰性であると判定された場合は前記第2クラスター群と比較して最も類似度の高いクラスターを推定する、ことが好ましい。
【0010】
本発明に係る糖化ヘモグロビン解析方法では、液体クロマトグラフィにより得られる糖化ヘモグロビンのクロマトグラムデータの最大強度を示す第1の成分ピークが単峰性である単峰性クロマトグラムデータ群のそれぞれに対して第1クラスター分析を行って分類された第1クラスター群と、第1の成分ピークが多峰性である多峰性クロマトグラムデータ群のそれぞれに対して第2クラスター分析を行って分類された第2クラスター群とを記憶し、液体クロマトグラフィにより得られる未知検体の糖化ヘモグロビンのクロマトグラムデータに対してオフセット処理を行い、オフセット処理後の前記クロマトグラムデータに対して第1の成分ピークが単峰性か多峰性かを判定し、単峰性であると判定された場合はクロマトグラムデータに対して第1の成分ピークと異なる第2の成分ピークの高さを規格化する高さ規格化処理を行い、第2の成分ピークの高さ規格化処理済のクロマトグラムデータと第1クラスター群と比較して最も類似度の高いクラスターを推定し、多峰性であると判定された場合はオフセット処理後のクロマトグラムデータと第2クラスター群と比較して最も類似度の高いクラスターを推定する、ことを特徴とする。
(【0011】以降は省略されています)
この特許をJ-PlatPat(特許庁公式サイト)で参照する
関連特許
他の特許を見る