TOP
|
特許
|
意匠
|
商標
特許ウォッチ
Twitter
他の特許を見る
公開番号
2025155196
公報種別
公開特許公報(A)
公開日
2025-10-14
出願番号
2024058848
出願日
2024-04-01
発明の名称
コルゲートチューブ、及びワイヤーハーネス
出願人
矢崎総業株式会社
代理人
個人
,
個人
主分類
H02G
3/04 20060101AFI20251006BHJP(電力の発電,変換,配電)
要約
【課題】割り構造に限定されず、電線を挿通する前後にかかわらずシールド特性を得るための材料の取り付けが可能であり、且つ、当該材料の取付作業を容易化できるコルゲートチューブ、及びワイヤーハーネスを提供する。
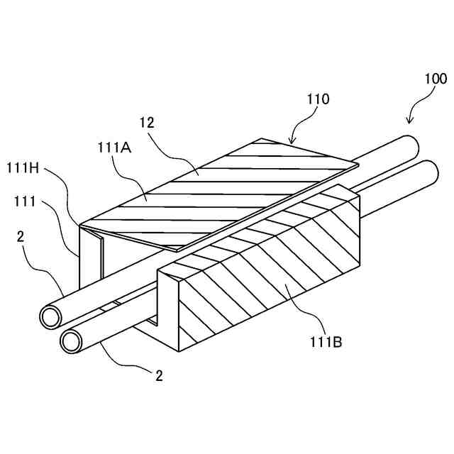
【解決手段】コルゲートチューブ10は、電線2が挿通されるコルゲートチューブ本体11と、コルゲートチューブ本体11の外周面に螺旋状に貼り付けられたメッキ不織布テープ12とを備える。
【選択図】図1
特許請求の範囲
【請求項1】
電線が挿通されるコルゲートチューブ本体と、
前記コルゲートチューブ本体の外周面に螺旋状に貼り付けられたメッキ不織布テープと
を備えるコルゲートチューブ。
続きを表示(約 410 文字)
【請求項2】
前記メッキ不織布テープが、幅方向に重なり合うように前記コルゲートチューブ本体の外周面に貼り付けられている請求項1に記載のコルゲートチューブ。
【請求項3】
前記メッキ不織布テープの幅が、前記コルゲートチューブ本体の凸部の幅以上、前記凸部の幅と前記凸部のピッチとの合計値以上である請求項1又は2に記載のコルゲートチューブ。
【請求項4】
前記メッキ不織布テープの重ね幅が、前記凸部の幅以上である請求項2を引用する請求項3に記載のコルゲートチューブ。
【請求項5】
電線と、
前記電線が挿通されたコルゲートチューブと
を備え、
前記コルゲートチューブは、
前記電線が挿通されたコルゲートチューブ本体と、
前記コルゲートチューブ本体の外周面に螺旋状に貼り付けられたメッキ不織布テープと
を備えるワイヤーハーネス。
発明の詳細な説明
【技術分野】
【0001】
本発明は、コルゲートチューブ、及びワイヤーハーネスに関する。
続きを表示(約 1,300 文字)
【背景技術】
【0002】
電線が挿通されるシールド管として、波付管(コルゲートチューブ)と、波付管の内面側に設けられたシールド層とを備えるものが知られている(例えば、特許文献1参照)。このシールド層は、伸縮可能な筒状の導電布により形成されている。
【先行技術文献】
【特許文献】
【0003】
特開2012-104727号公報
【発明の概要】
【発明が解決しようとする課題】
【0004】
特許文献1に記載のシールド管は、波付管の内周面に導電布を貼り付けるために、波付管を割り構造にする必要がある。また、波付管の内部に電線を挿通した後では、導電布を波付管の内周面に貼り付けることができないという作業制約がある。さらに、波付管の内周面に導電布を貼り付ける作業は難作業になる。
【0005】
本発明は、上記事情に鑑み、割り構造に限定されず、電線を挿通する前後にかかわらずシールド特性を得るための材料の取り付けが可能であり、且つ、当該材料の取付作業を容易化できるコルゲートチューブ、及びワイヤーハーネスを提供することを目的とする。
【課題を解決するための手段】
【0006】
本発明のコルゲートチューブは、電線が挿通されるコルゲートチューブ本体と、前記コルゲートチューブ本体の外周面に螺旋状に貼り付けられたメッキ不織布テープとを備える。
【0007】
本発明のワイヤーハーネスは、電線と、前記電線が挿通されたコルゲートチューブとを備え、前記コルゲートチューブは、前記電線が挿通されたコルゲートチューブ本体と、前記コルゲートチューブ本体の外周面に螺旋状に貼り付けられたメッキ不織布テープとを備える。
【発明の効果】
【0008】
本発明によれば、割り構造に限定されず、電線を挿通する前後にかかわらずシールド特性を得るための材料の取り付けが可能であり、且つ、当該材料の取付作業を容易化できるコルゲートチューブ、及びワイヤーハーネスを提供することができる。
【図面の簡単な説明】
【0009】
図1は、本発明の一実施形態に係るワイヤーハーネスを示す斜視図である。
図2は、図1に示すコルゲートチューブの製造工程を示す斜視図である。
図3は、図1に示すコルゲートチューブの一部を拡大して示す断面図である。
図4は、参考例に係るワイヤーハーネスを示す斜視図である。
【発明を実施するための形態】
【0010】
以下、本発明を好適な実施形態に沿って説明する。なお、本発明は、以下に示す実施形態に限られるものではなく、以下に示す実施形態は本発明の趣旨を逸脱しない範囲において適宜変更可能である。また、以下に示す実施形態においては、一部構成の図示や説明を省略している箇所があるが、省略された技術の詳細については、以下に説明する内容と矛盾点が発生しない範囲内において、適宜公知又は周知の技術が適用される。
(【0011】以降は省略されています)
この特許をJ-PlatPat(特許庁公式サイト)で参照する
関連特許
他の特許を見る