TOP
|
特許
|
意匠
|
商標
特許ウォッチ
Twitter
他の特許を見る
10個以上の画像は省略されています。
公開番号
2025158213
公報種別
公開特許公報(A)
公開日
2025-10-17
出願番号
2024060537
出願日
2024-04-04
発明の名称
基板接合方法および基板接合システム
出願人
株式会社荏原製作所
代理人
個人
,
個人
,
個人
,
個人
主分類
H01L
21/02 20060101AFI20251009BHJP(基本的電気素子)
要約
【課題】基板同士を接合する前に、基板表面へのパーティクルの付着を抑制することにある。
【解決手段】少なくとも接合面の一部に誘電体表面を含む基板同士を接合する基板接合方法であって、 少なくとも一部に誘電体表面を含む第1接合面を有する第1基板を準備する工程と、 前記第1基板の少なくとも前記第1接合面を液体に浸漬させる工程と、 前記第1接合面が前記液体に浸漬された状態で前記第1基板の前記第1接合面に水中プラズマ処理を施す工程と、 少なくとも一部に誘電体表面を含む第2接合面を有する第2基板を準備する工程と、 前記水中プラズマ処理が施された前記第1基板の前記第1接合面を、前記第2基板の前記第2接合面に貼り合わせる工程と、を含む基板接合方法。
【選択図】図5
特許請求の範囲
【請求項1】
少なくとも接合面の一部に誘電体表面を含む基板同士を接合する基板接合方法であって、
少なくとも一部に誘電体表面を含む第1接合面を有する第1基板を準備する工程と、
前記第1基板の少なくとも前記第1接合面を液体に浸漬させる工程と、
前記第1接合面が前記液体に浸漬された状態で前記第1基板の前記第1接合面に水中プラズマ処理を施す工程と、
少なくとも一部に誘電体表面を含む第2接合面を有する第2基板を準備する工程と、
前記水中プラズマ処理が施された前記第1基板の前記第1接合面を、前記第2基板の前記第2接合面に貼り合わせる工程と、
を含む基板接合方法。
続きを表示(約 1,200 文字)
【請求項2】
請求項1に記載の基板接合方法において、
前記水中プラズマ処理は減圧下で行われる、基板接合方法。
【請求項3】
請求項1に記載の基板接合方法において、
前記水中プラズマ処理の後に、前記第1基板の前記第1接合面を乾燥させる工程をさらに含む、基板接合方法。
【請求項4】
請求項3に記載の基板接合方法において、
前記乾燥させる工程は、大気圧下又は減圧下で前記第1基板を回転させることを含む、基板接合方法。
【請求項5】
請求項1に記載の基板接合方法において、
前記第1接合面を乾燥させる工程は、前記水中プラズマ処理を実施したチャンバ内で行われる、基板接合方法。
【請求項6】
請求項1に記載の基板接合方法において、
前記第1基板を準備する工程は、
前記水中プラズマ処理を行う前に前記第1基板を研磨する工程と、
前記研磨した前記第1基板を洗浄する工程と、
を含む、基板接合方法。
【請求項7】
請求項6に記載の基板接合方法において、
前記研磨する工程と前記洗浄する工程との間で前記第1基板を搬送する第1搬送工程と、
前記洗浄する工程と前記水中プラズマ処理を施す工程との間で前記第1基板を搬送する第2搬送工程と、を更に含み、
前記第1搬送工程と前記第2搬送工程は、アンチドライモジュールにより前記第1基板の少なくとも前記第1接合面がウェットに保たれた状態で行われる、基板接合方法。
【請求項8】
請求項7に記載の基板接合方法において、
前記第1搬送工程及び前記第2搬送工程において、前記アンチドライモジュールが、搬送中の前記第1基板の前記第1接合面に液体を供給する、又は前記第1基板の周りの空気を加湿する、基板接合方法。
【請求項9】
請求項8に記載の基板接合方法において、
前記アンチドライモジュールにより供給する液体は脱気されている、基板接合方法。
【請求項10】
請求項6に記載の基板接合方法において、
前記研磨する工程は、研磨モジュールにより研磨され、
前記洗浄する工程は、洗浄モジュールにより洗浄され、
前記水中プラズマ処理を施す工程は、水中プラズマ処理モジュールにより実施され、
前記貼り合わせる工程は、接合モジュールにより実施され、
前記洗浄モジュールは、前記水中プラズマ処理モジュールを介して、前記接合モジュールと接続され、
前記第1基板は、前記洗浄モジュールにより洗浄された後に、前記水中プラズマ処理モジュールを介して、前記接合モジュールに搬送される、基板接合方法。
(【請求項11】以降は省略されています)
発明の詳細な説明
【技術分野】
【0001】
本発明は、基板同士を接合するための基板接合方法および基板接合システムに関する。
続きを表示(約 2,500 文字)
【背景技術】
【0002】
半導体ウエハなどの基板同士を接合する手法として、基板の接合面をガスプラズマ処理により活性化させた後、基板表面にOH基を導入し、基板同士をファンデルワールス力および水素結合(分子間力)によって接合する方法が知られている。この方法では、活性化させた基板表面/接合面に対して、純水によりOH基の導入/洗浄が行われる。なお、基板表面が大気中の水蒸気に暴露されることでもOH基は導入される。例えば、特許文献1及び非特許文献1には、基板表面をガスプラズマ処理により活性化した後に親水化し、基板同士を接合することが記載されている。
【先行技術文献】
【特許文献】
【0003】
特開2019-186288号公報
Fumihiro Inoue et al., “Area-Selective Electroless Deposition of Cu for Hybrid Bonding,” IEEE ELECTRON DEVICE LETTERS, VOL. 42, NO. 12, pp. 1826-1829, DECEMBER 2021
【発明の概要】
【発明が解決しようとする課題】
【0004】
特許文献1及び非特許文献1に記載の方法では、プラズマ活性化後に基板表面が大気に曝されるため、大気中での基板接合面の汚染などが懸念される。例えば、プラズマ処理チャンバ内、並びにプラズマ処理チャンバから親水化処理チャンバへの基板の搬送中において、基板表面にパーティクルが付着又は固着する虞がある。パーティクルが接合面に付着又は固着した基板を他の基板に接合すると、基板間の接着力が低下する虞がある。
【0005】
本発明の目的は、上述した課題の少なくとも一部を解決することである。本発明の1つの目的は、基板同士を接合する前に、基板表面へのパーティクルの付着を抑制することにある。
【課題を解決するための手段】
【0006】
本発明の一側面によれば、少なくとも接合面の一部に誘電体表面を含む基板同士を接合する基板接合方法であって、 少なくとも一部に誘電体表面を含む第1接合面を有する第1基板を準備する工程と、 前記第1基板の少なくとも前記第1接合面を液体に浸漬させる工程と、 前記第1接合面が前記液体に浸漬された状態で前記第1基板の前記第1接合面に水中プラズマ処理を施す工程と、 少なくとも一部に誘電体表面を含む第2接合面を有する第2基板を準備する工程と、 前記水中プラズマ処理が施された前記第1基板の前記第1接合面を、前記第2基板の前記第2接合面に貼り合わせる工程と、を含む基板接合方法が提供される。
【図面の簡単な説明】
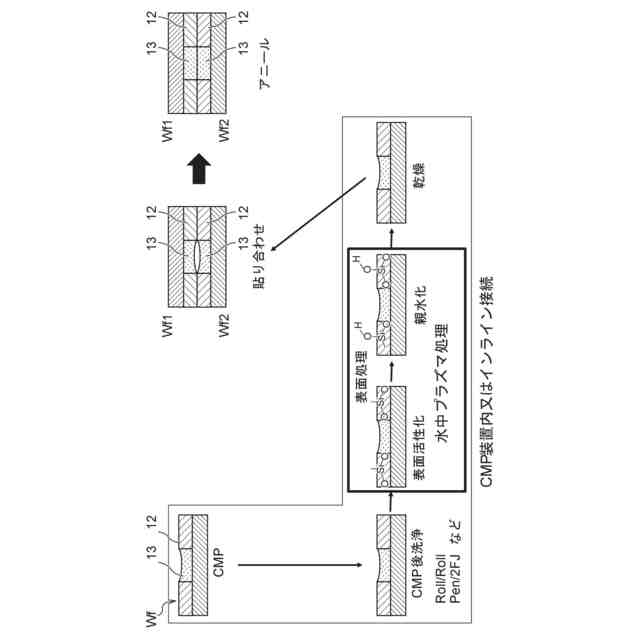
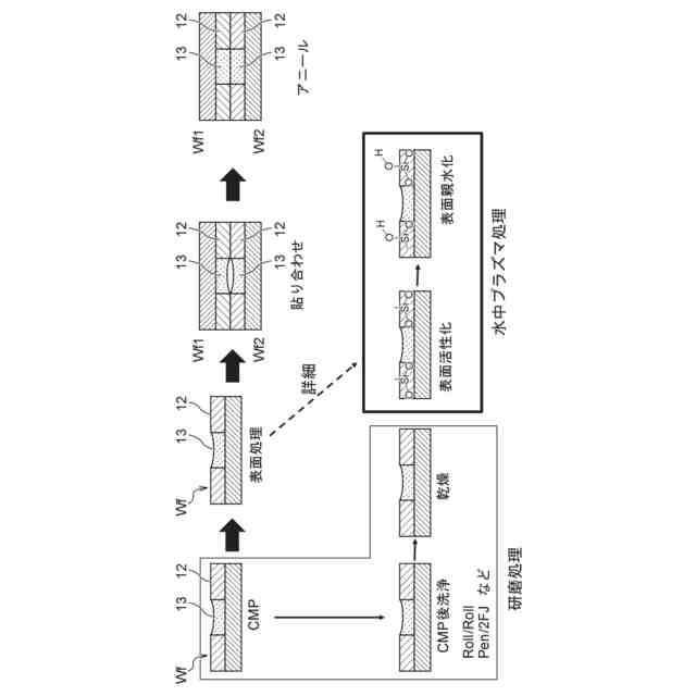
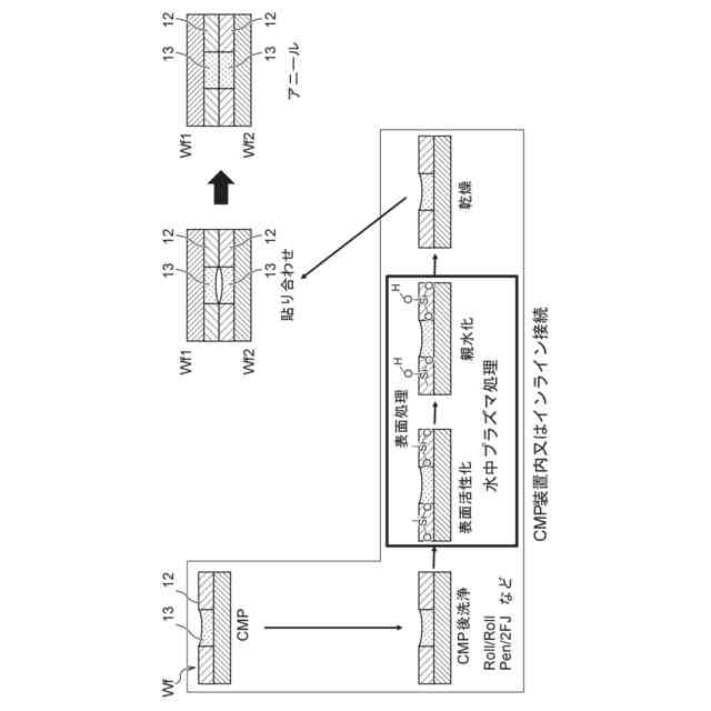
【0007】
接合される基板の模式図。
接合される基板の模式図。
基板の金属表面の状態を説明する模式図。
接合される基板の種類を説明する模式図。
接合される基板の種類を説明する模式図。
一実施形態に係る基板の接合の流れを示す模式図。
一実施形態に係る基板の接合の流れを示す模式図。
一実施形態に係る基板の接合の流れを示すフローチャート。
基板に対する成膜処理及び研磨処理の流れを示す模式図。
一実施形態に係る基板接合システムの模式図。
一実施形態に係る基板接合システムの模式図。
一実施形態に係る基板接合システムの模式図。
一実施形態に係る基板接合システムの平面図。
一実施形態に係る基板接合システムの側面図。
一実施形態に係る水中プラズマ処理モジュールの断面図。
一実施形態に係る水中プラズマ処理モジュールの断面図。
一実施形態に係る水中プラズマ処理モジュールの断面図。
一実施形態に係るプラズマ発生器の断面図である。
一実施形態に係るプラズマ発生器の断面図である。
一実施形態に係るリングノズルの上面断面図。
一実施形態に係るリングノズルの上面断面図。
一実施形態に係るリングノズルの側面断面図。
気液界面での活性種生成を説明する説明図。
一実施形態に係る水中プラズマ処理の流れを示すフローチャート。
発光分光スペクトルに基づくプラズマの制御を実施する水中プラズマ処理モジュールの断面図。
発光分光スペクトルに基づくプラズマの制御の流れを示すフローチャート。
【発明を実施するための形態】
【0008】
以下、本発明の一実施形態について図面を参照して説明する。なお、以下の各実施形態において、同一または相当する部材には同一符号を付して重複した説明を省略する。また、本明細書において「上」、「下」、「左」、「右」等の表現を用いるが、これらは、説明の都合上、例示の図面の紙面上における位置、方向を示すものであり、装置使用時等の実際の配置では異なる場合がある。
【0009】
本実施形態は、少なくとも誘電体表面を含む接合面を有する基板同士の接合に関する。図1A及び図1Bは、接合される基板の模式図を示す。図2は、基板の金属表面の状態を説明する模式図を示す。図3A及び図3Bは、接合される基板の種類を説明する模式図を示す。
【0010】
図1Aは、誘電体表面のみを含む接合面を有する基板Wf1及びWf2を接合する例を示す。同図において、基板Wf1は、基板本体11と、基板本体11上に形成された誘電体膜(誘電体表面)12と、を有する。基板本体11は、Siその他任意の基材を含み、電子回路が形成されたものであっても、電子回路が形成されていないものであってもよい。この例では、基板Wf1の接合面は、誘電体表面12のみ含む。図1Aに示すように、基板Wf2も、基板Wf1と同様の構成を有する。この場合、基板Wf1及びWf2が接合されたとき、基板Wf1及びWf2の誘電体表面12同士が互いに接合される。
(【0011】以降は省略されています)
この特許をJ-PlatPat(特許庁公式サイト)で参照する
関連特許
株式会社荏原製作所
ポンプ装置
16日前
株式会社荏原製作所
モータポンプ
1か月前
株式会社荏原製作所
往復動ポンプ
6日前
株式会社荏原製作所
熱媒体供給装置
1か月前
株式会社荏原製作所
立形多段ポンプ
12日前
株式会社荏原製作所
蒸気発電プラント
23日前
株式会社荏原製作所
周波数制御システム
16日前
株式会社荏原製作所
研磨方法および研磨装置
1か月前
株式会社荏原製作所
研磨方法および研磨装置
18日前
株式会社荏原製作所
研磨方法および研磨システム
6日前
株式会社荏原製作所
シールリングおよび往復動ポンプ
12日前
株式会社荏原製作所
ドレッサ洗浄装置および基板研磨装置
17日前
株式会社荏原製作所
基板接合方法および基板接合システム
16日前
株式会社荏原製作所
可動装置、研磨装置および基板処理装置
1か月前
株式会社荏原製作所
基板洗浄装置のキャリブレーション方法および基板洗浄方法
25日前
株式会社荏原製作所
基板表面近傍の液置換状態を評価する方法および評価用基板
1か月前
オリオン機械株式会社
ヒータおよびこれを有する液体温調装置
19日前
株式会社荏原製作所
情報処理装置、情報処理方法、情報処理プログラム、及び、記録媒体
10日前
株式会社荏原製作所
めっき装置、およびめっき方法
3日前
株式会社荏原製作所
情報処理装置、基板研磨装置、推論装置、機械学習装置、情報処理方法、推論方法、及び、機械学習方法
23日前
住友化学株式会社
メタノールの製造方法
16日前
東ソー株式会社
絶縁電線
11日前
APB株式会社
蓄電セル
9日前
個人
フレキシブル電気化学素子
23日前
株式会社東芝
端子台
3日前
日新イオン機器株式会社
イオン源
19日前
ローム株式会社
半導体装置
1か月前
ローム株式会社
半導体装置
10日前
株式会社ユーシン
操作装置
23日前
ローム株式会社
半導体装置
25日前
マクセル株式会社
電源装置
3日前
株式会社GSユアサ
蓄電設備
23日前
株式会社GSユアサ
蓄電設備
23日前
株式会社GSユアサ
蓄電装置
4日前
株式会社GSユアサ
蓄電装置
4日前
太陽誘電株式会社
全固体電池
1か月前
続きを見る
他の特許を見る