TOP
|
特許
|
意匠
|
商標
特許ウォッチ
Twitter
他の特許を見る
公開番号
2025158232
公報種別
公開特許公報(A)
公開日
2025-10-17
出願番号
2024060577
出願日
2024-04-04
発明の名称
乗物用遮音構造体、及び車両
出願人
株式会社SUBARU
代理人
弁理士法人太田特許事務所
主分類
G10K
11/16 20060101AFI20251009BHJP(楽器;音響)
要約
【課題】軽量化と高い遮音性とが両立された乗物用遮音構造体及び当該乗物用遮音構造体を有する車両を提供する。
【解決手段】乗物に設けられた音源から生じる音を遮音する乗物用遮音構造体であって、複数の第1筒状部からなり、前記音源側の第1主面、及び前記第1主面とは反対の第2主面を有する第1パネルと、複数の第2筒状部からなり、前記音源側の第3主面、及び前記第3主面とは反対の第4主面を有する第2パネルであって、前記第1パネルよりも前記音源側に設けられる第2パネルと、前記第1及び第2筒状部に連通する貫通孔を複数有し、前記第1主面と前記第4主面との間に設けられる多孔板と、前記第2主面に設けられる第1遮音板と、前記第3主面に設けられる第2遮音板と、を具備し、前記第2遮音板の厚みが、前記第1遮音板の厚み以上である、乗物用遮音構造体。
【選択図】図1
特許請求の範囲
【請求項1】
乗物に設けられた音源から生じる音を遮音する乗物用遮音構造体であって、
複数の第1筒状部からなり、前記音源側の第1主面、及び前記第1主面とは反対の第2主面を有する第1パネルと、
複数の第2筒状部からなり、前記音源側の第3主面、及び前記第3主面とは反対の第4主面を有する第2パネルであって、前記第1パネルよりも前記音源側に設けられる第2パネルと、
前記第1及び第2筒状部に連通する貫通孔を複数有し、前記第1主面と前記第4主面との間に設けられる多孔板と、
前記第2主面に設けられる第1遮音板と、
前記第3主面に設けられる第2遮音板と、を具備し、
前記第2遮音板の厚みが、前記第1遮音板の厚み以上である
乗物用遮音構造体。
続きを表示(約 340 文字)
【請求項2】
前記第1及び第2パネルは、ハニカムパネルであり、
前記第1及び第2筒状部は、ハニカムコアであり、
前記第1遮音板と、当該1筒状部の内面と、前記貫通孔と、当該第2筒状部の内面と、前記第2遮音板とが閉室を形成する
請求項1に記載の乗物用遮音構造体。
【請求項3】
前記ハニカムコアに充填材が充填される、請求項2に記載の乗物用遮音構造体。
【請求項4】
前記音源は、マイクロガスタービン、エンジン、又はパワーコントロールユニットに搭載されるインバータである、請求項1~3のいずれか1項に記載の乗物用遮音構造体。
【請求項5】
請求項1~3のいずれか1項に記載の乗物用遮音構造体を有する車両。
発明の詳細な説明
【技術分野】
【0001】
本開示は、乗物用遮音構造体、及び当該乗物用遮音構造体を有する車両に関する。
続きを表示(約 1,500 文字)
【背景技術】
【0002】
近年、車両等の乗物の運転席に座る運転者、又は助手席若しくは後部座席に座る同乗者の車室内での快適性を実現する上で、当該車室内の静粛性が求められる場合が多い。この場合、エンジン等の音源から車室内への音の進入を遮音する遮音構造体(遮音材)が車両に設けられる。
【0003】
例えば、特許文献1には、空気層を挟んで2つの平板部材が形成された建築構造において、空気層が共鳴を生じる際に音の粒子速度が速い箇所に通気性材料が設置されている遮音構造体であって、当該通気性材料の設置個所が、所望のn(nは整数)次以下の共鳴によって粒子速度が速くなる箇所である、遮音構造体が開示されている。
【先行技術文献】
【特許文献】
【0004】
特開2021-95759号公報
【発明の概要】
【発明が解決しようとする課題】
【0005】
一般的に、鉄やアルミ等の金属からなる乗物用の遮音構造体は高い遮音性が得られものの重量が重く、汎用性に劣る。一方、鉄やアルミ等の金属よりも軽い合成樹脂からなる乗物用の遮音構造体は、軽量ではあるものの、金属からなる遮音構造体よりも遮音性が劣る。このため、当該遮音構造体と同等の遮音性を実現するためには、例えばインシュレータ又はアスファルトシート等を用いる必要性が生じ、結局重量が重くなる場合が多い。即ち、従来の乗物用の遮音構造体は、軽量化と高い遮音性とが互いにトレードオフの関係にあり、軽量化と高い遮音性との両立が難しい。
【0006】
本開示は上記事情に鑑みてなされたものであり、本開示の目的は、軽量化と高い遮音性とが両立された乗物用遮音構造体、及び当該乗物用遮音構造体を有する車両を提供することにある。
【課題を解決するための手段】
【0007】
上記課題を解決するために、本開示のある観点によれば、乗物に設けられた音源から生じる音を遮音する乗物用遮音構造体であって、複数の第1筒状部からなり、前記音源側の第1主面、及び前記第1主面とは反対の第2主面を有する第1パネルと、複数の第2筒状部からなり、前記音源側の第3主面、及び前記第3主面とは反対の第4主面を有する第2パネルであって、前記第1パネルよりも前記音源側に設けられる第2パネルと、前記第1及び第2筒状部に連通する貫通孔を複数有し、前記第1主面と前記第4主面との間に設けられる多孔板と、前記第2主面に設けられる第1遮音板と、前記第3主面に設けられる第2遮音板と、を具備し、第2遮音板の厚みが、第1遮音板の厚み以上である乗物用遮音構造体が提供される
【0008】
本明細書において、「~」を用いて表される数値範囲は、「~」の前後に記載される数値を下限値及び上限値として含む範囲を意味する。例えば、「A~B」と記載されている場合、その数値範囲は、「A以上B以下」である。
【発明の効果】
【0009】
以上説明したように本開示によれば、軽量化と高い遮音性とが両立された乗物用遮音構造体、及び当該乗物用遮音構造体を有する車両を提供することができる。
【図面の簡単な説明】
【0010】
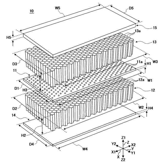
遮音構造体の構成例を示す分解斜視図である。
ハニカムコアの構成例を示す平面図である。
ハニカムコアの構成例を示す平面図である。
遮音構造体の構成例を示す拡大断面図である
実施例及び比較例に係る遮音構造体の透過損失の測定結果を示す図である。
【発明を実施するための形態】
(【0011】以降は省略されています)
この特許をJ-PlatPat(特許庁公式サイト)で参照する
関連特許
他の特許を見る