TOP
|
特許
|
意匠
|
商標
特許ウォッチ
Twitter
他の特許を見る
10個以上の画像は省略されています。
公開番号
2025162349
公報種別
公開特許公報(A)
公開日
2025-10-27
出願番号
2024065592
出願日
2024-04-15
発明の名称
配線基板及びその製造方法
出願人
信越ポリマー株式会社
代理人
個人
,
個人
主分類
H05K
1/02 20060101AFI20251020BHJP(他に分類されない電気技術)
要約
【課題】簡易な方式により、本体部からテール部分に延びる応力集中箇所の断線を防止することが可能な、配線基板及びその製造方法を提供する。
【解決手段】シート状の本体部A1と、前記本体部A1の平面視で前記本体部A1の一端から前記本体部1Aよりも狭い幅の形状で延びるテール部A2と、を有する基材2と、基材2の第一面に形成された導電層3と、前記導電層3上に重ねて形成された保護層4と、前記テール部A2上に位置する前記導電層3を覆い、本体部A1側の末端が、テール部A2上で前記テール部A2と本体部A1との境界線5Aを形成する剛性層5と、を有し、基材2は、平面視で境界線5Aを含む境界領域Eと重なる延伸抑制部20を備え、延伸抑制部20は、テール部A1の幅方向外側でテール部本体と折り返し部を介して連なっている。
【選択図】図2
特許請求の範囲
【請求項1】
シート状の本体部と、前記本体部の平面視で前記本体部の一端から該本体部よりも狭い幅で延びるテール部と、を有する、伸縮性を有する基材と、
前記基材の第一面に形成された導電層と、
前記導電層上に重ねて形成された保護層と、
前記テール部上に位置する前記導電層を覆い、前記本体部側の末端が、前記テール部上で前記テール部と前記本体部との境界線を形成する剛性層と、を有し、
前記テール部における前記境界線を含む規定長さの領域は境界領域とされ、
前記基材は、前記平面視で前記境界領域と重なる延伸抑制部を備え、
前記延伸抑制部は、前記テール部の幅方向外側でテール部本体と折り返し部を介して連なっている、配線基板。
続きを表示(約 1,000 文字)
【請求項2】
前記延伸抑制部は、前記折り返し部を展開した際に前記テール部本体の幅方向外側に延びる延在領域を形成し、
前記延伸抑制部は、前記延在領域が前記導電層、保護層及び剛性層の積層体上に重なるように折り畳まれて形成されている、請求項1に記載の配線基板。
【請求項3】
前記延伸抑制部は、前記積層体に接着層を介して接合されている、請求項2に記載の配線基板。
【請求項4】
前記延伸抑制部は、前記境界線を覆うように設けられている、請求項2に記載の配線基板。
【請求項5】
前記延伸抑制部は、前記剛性層がない前記本体部側の部位において、前記幅方向の端部が、前記幅方向の中央部よりも前記本体部側に突出するように形成されている、請求項2に記載の配線基板。
【請求項6】
前記折り返し部は、前記テール部本体よりも幅方向外側に突出し、前記積層体の端縁との間に空隙を形成している、請求項2に記載の配線基板。
【請求項7】
前記延伸抑制部は、前記折り返し部を展開した際に前記テール部本体の幅方向外側に延びる延在領域を形成し、
前記延伸抑制部は、前記延在領域が前記基材における前記第一面と反対側の第二面に重なるように折り畳まれて形成されている、請求項1に記載の配線基板。
【請求項8】
前記延伸抑制部は、前記基材の延在領域が前記基材の第二面に接着層を介さず接合されている、請求項7に記載の配線基板。
【請求項9】
前記基材は、シリコーンエラストマーからなる、請求項1に記載の配線基板。
【請求項10】
シート状の本体部と、前記本体部の平面視で前記本体部の一端から該本体部よりも狭い幅で延びるテール部と、を有する基材を切り出す前の母材の第一面に、スクリーン印刷で導電層を成膜する工程と、
前記導電層上にスクリーン印刷で保護層を成膜する工程と、
前記テール部上に定められる前記本体部と前記テール部との境界領域の幅方向外側に、テール部本体の幅方向外側に延びる延在領域を切り出す外形カットを行う工程と、
切り出された前記延在領域を、前記テール部本体側に折り畳んで接合し、前記境界領域と重なる延伸抑制部とする工程と、を備えている、配線基板の製造方法。
発明の詳細な説明
【技術分野】
【0001】
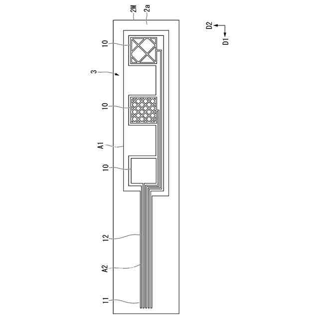
本発明は、フレキシブルタッチセンサモジュールとして利用される配線基板及びその製造方法に関する。
続きを表示(約 3,200 文字)
【背景技術】
【0002】
近年、ウェアラブルデバイス、メディカルデバイス等の測定機器として、センサ等の電子部品が実装された配線基板が使用されている。
この配線基板は、柔軟な材料で構成される基材層と導電層とを有する。
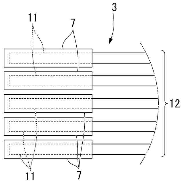
導電層は、センサ部となる電極部と、該電極部に一端部が接続される配線部と、該配線部の他端部に接続される端子部とを有する伸縮回路である。
このような配線基板においては、被着体の触り心地、着心地を阻害しないよう、柔軟性のある被着体に追従して変形可能であることが求められるが、その柔軟さ故に、特に基材の本体部から外部機器の接続端子が設置されたテール部分に延びる回路が断線し易いという問題がある。
【0003】
そして、その対策として特許文献1に示される配線基板では、伸縮性基材の一方面側又は他方面側に粘着剤層を設けるといった構成により、配線の断線を抑止している。
【0004】
また、特許文献2に示される配線基板では、基材上の配線に複数の山部及び谷部を含む蛇腹形状部が形成されるとともに、当該基材内に周囲よりも弾性係数が大きい補強部材が設けられた構成とされる。
【先行技術文献】
【特許文献】
【0005】
特開2019-96825号公報
特開2020-170758号公報
【発明の概要】
【発明が解決しようとする課題】
【0006】
そして、以上のような特許文献1では粘着剤層を別途設けるといった構成、また、特許文献2では蛇腹配線及び補強部材を設けるという構成が示されている。
また、補強部材を設けずに基材自体の厚みを局所的に厚くすることにより配線の断線を抑止する構造も考えられる。
しかしながら、このような特許文献1及び2の構成では製造工程が複雑化するという問題があり、より簡易な方式で、本体部からテール部分に延びる応力集中箇所にて、断線を防止できる技術の提供が期待されていた。
【0007】
本発明は上記実情に鑑みてなされたものであり、簡易な方式により、本体部からテール部分に延びる応力集中箇所の断線を防止することが可能な配線基板及びその製造方法を提供する。
【課題を解決するための手段】
【0008】
本発明は、以下の態様を有する。
[1]シート状の本体部と、前記本体部の平面視で前記本体部の一端から該本体部よりも狭い幅で延びる形状のテール部と、を有する、伸縮性を有した基材と、
前記基材の第一面に形成された導電層と、
前記導電層上に重ねて形成された保護層と、
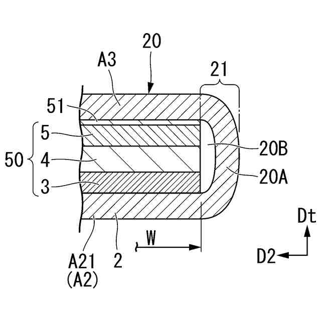
前記テール部上に位置する前記導電層を覆い、前記本体部側の末端が、前記テール部上で前記テール部と前記本体部との境界線を形成する剛性層と、を有し、
前記テール部における前記境界線を含む規定長さの領域は境界領域とされ、
前記基材は、前記平面視で前記境界領域と重なる延伸抑制部を備え、
前記延伸抑制部は、前記テール部の幅方向外側でテール部本体と折り返し部を介して連なっている、配線基板。
[2]前記延伸抑制部は、前記折り返し部を展開した際に前記テール部本体の幅方向外側に延びる延在領域を形成し、
前記延伸抑制部は、前記延在領域が前記導電層、保護層及び剛性層の積層体上に重なるように折り畳まれて形成されている、[1]に記載の配線基板。
[3]前記延伸抑制部は、前記積層体に接着層を介して接合されている、[2]に記載の配線基板。
[4]前記延伸抑制部は、前記境界線を覆うように設けられている、[2]に記載の配線基板。
[5]前記延伸抑制部は、前記剛性層がない前記本体部側の部位において、前記幅方向の端部が、前記幅方向の中央部よりも前記本体部側に突出するように形成されている、[2]に記載の配線基板。
[6]前記折り返し部は、前記テール部本体よりも幅方向外側に突出し、前記積層体の端縁との間に空隙を形成している、[2]に記載の配線基板。
[7]前記延伸抑制部は、前記折り返し部を展開した際に前記テール部本体の幅方向外側に延びる延在領域を形成し、
前記延伸抑制部は、前記延在領域が前記基材における前記第一面と反対側の第二面に重なるように折り畳まれて形成されている、[1]に記載の配線基板。
[8]前記延伸抑制部は、前記基材の延在領域が前記基材の第二面に接着層を介さず接合されている、[7]に記載の配線基板。
[9]前記基材は、シリコーンエラストマーからなる、[1]に記載の配線基板。
[10]シート状の本体部と、前記本体部の平面視で前記本体部の一端から該本体部よりも狭い幅で延びるテール部と、を有する基材を切り出す前の母材の第一面に、スクリーン印刷で導電層を成膜する工程と、
前記導電層上にスクリーン印刷で保護層を成膜する工程と、
前記テール部上に定められる前記本体部と前記テール部との境界領域の幅方向外側に、テール部本体の幅方向外側に延びる延在領域を切り出す外形カットを行う工程と、
切り出された前記延在領域を、前記テール部本体側に折り畳んで接合し、前記境界領域と重なる延伸抑制部とする工程と、を備えている、配線基板の製造方法。
【発明の効果】
【0009】
本発明によれば、本体部とテール部との境界領域にて、幅方向外側に延びる基材の延在領域を折り畳んで延伸抑制部を形成する。剛性差のある境界領域を延伸抑制部で補強することで、断線リスクを低下させることができる。
また、本発明の配線基板では、基材の延在領域を折り畳んで延伸抑制部とすることで、境界領域の幅方向端部は断面矩形状ではなく断面U字状の構造となる。このため、境界領域に別部材を重ねて剛性を向上させる方式と比較して、幅方向端部からの引き裂きに対する耐性が強くなり、導電層の断線リスクを低下させることができる。
【図面の簡単な説明】
【0010】
第一実施形態における配線基板を示す上面図である。
図1に示した配線基板のII-II線に沿う断面図である。
図1に示した配線基板における基材の延在領域を展開した上面図である。
図1に示した配線基板のIV線に沿う断面図である。
上記配線基板の変形例における図2に相当する断面図である。
第二実施形態における配線基板の製造方法の説明図であり、基材の母材の上面図である。
上記製造方法の工程1となる配線の印刷がなされた母材の上面図である。
上記製造方法の工程2となる第二導電層の印刷がなされた母材の上面図である。
図8のIX部の拡大図である。
上記製造方法の工程3となる保護層の印刷がなされた母材の上面図である。
上記製造方法の工程4となる外形カットがなされた母材の上面図である。
上記製造方法の工程5となる延在領域の折り畳みがなされた母材の上面図である。
上記製造方法の工程6となる剛性層の印刷がなされた母材の上面図である。
上記製造方法の工程7となる補強層の印刷がなされた母材の上面図である。
上記製造方法の工程8となる外形カットがなされた配線基板の上面図である。
上記製造方法の工程9となる筐体の取り付けがなされた配線基板の上面図である。
基材の延伸抑制部の変形例を示す上面図である。
図17における主要箇所の拡大図である。
【発明を実施するための形態】
(【0011】以降は省略されています)
この特許をJ-PlatPat(特許庁公式サイト)で参照する
関連特許
他の特許を見る