TOP
|
特許
|
意匠
|
商標
特許ウォッチ
Twitter
他の特許を見る
10個以上の画像は省略されています。
公開番号
2025162365
公報種別
公開特許公報(A)
公開日
2025-10-27
出願番号
2024065629
出願日
2024-04-15
発明の名称
ドリル装置
出願人
株式会社大林組
,
藤寿産業株式会社
代理人
個人
,
個人
主分類
B27C
3/02 20060101AFI20251020BHJP(木材または類似の材料の加工または保存;釘打ち機またはステープル打ち機一般)
要約
【課題】木質軸材に形成された接続孔に軸芯材を挿入したのち、該接続孔を充填材で充填する接続構造に関し、木質軸材に割裂破壊が生じにくい接続孔の形成を可能にしたドリル装置を提供する。
【解決手段】ドリル装置55は、直線状に延びる孔を有する木質軸材に孔拡幅部を形成する。ドリル装置55は、ドリル本体60と、ドリル本体60の回転軸部62にジョイント66を介して連結される基端部を有し、回転軸部62の回転軸64に沿うように延びるシャフト63と、回転軸64を中心軸として回転可能に構成され、シャフト63が挿通するシャフト孔91を偏心した位置に有し、ジョイント66を基点として回転軸64の回りをシャフト63の先端部が移動するように回転する回転板87と、シャフト63の先端部に取り付けられ、孔の側面を切削する切削具67と、を備える。
【選択図】図6
特許請求の範囲
【請求項1】
直線状に延びる孔を有する木質軸材に孔拡幅部を形成するドリル装置であって、
ドリル本体と、
前記ドリル本体の回転軸部にジョイントを介して連結される基端部を有し、前記回転軸部の回転軸に沿うように延びるシャフトと、
前記回転軸を中心軸として回転可能に構成され、前記シャフトが挿通するシャフト孔を有する回転板と、
前記シャフトの先端部に取り付けられ、前記孔の側面を切削する切削具と、を備え、
前記ジョイントは、前記回転軸部のトルクを前記シャフトに伝達するとともに前記回転軸に対して前記シャフトを屈曲可能に構成され、
前記回転板は、前記回転軸から偏心した位置に前記シャフト孔を有し、
前記回転板の回転により前記シャフトの先端部が前記回転軸の回りを移動する
ドリル装置。
続きを表示(約 390 文字)
【請求項2】
前記回転軸に沿うように前記ドリル本体を移動させ、前記孔内における前記切削具の位置を調整する切削位置調整機構を備える
請求項1に記載のドリル装置。
【請求項3】
前記切削位置調整機構は、
前記回転軸に沿って延びるレールベースと、
前記レールベースに固定され、前記回転軸に沿って延びるレールと、
前記レールベースに対して固定され、前記回転軸に沿って延びるラックギヤと、
前記ラックギヤに噛合し、前記ラックギヤ上を転動することにより前記ドリル本体を前記レールに沿って移動させるピニオンギヤと、を有する
請求項2に記載のドリル装置。
【請求項4】
前記レールベースに対して固定され、前記回転板の回転板軸部を回転可能に支持する回転板軸受部を備える
請求項3に記載のドリル装置。
発明の詳細な説明
【技術分野】
【0001】
本発明は、木質軸材に形成された直線状に延びる孔の側面に溝を形成するドリル装置に関する。
続きを表示(約 2,100 文字)
【背景技術】
【0002】
木質軸材と他部材と接続する接続構造として、木質軸材に形成した接続孔に鋼製の軸芯材を挿入したのち、木質軸材と軸芯材との間の隙間を充填材で充填する構造が知られている。また、こうした接続構造として、特許文献1には、軸芯材(棒状材)が挿入される軸芯材挿入部と軸芯材挿入部に設けられる接続孔拡幅部(拡張充填溝)とで接続孔を形成することが開示されている。接続孔拡幅部は、木質軸材の軸方向に沿う断面である軸断面において半円状をなしており、木質軸材の軸方向に所定間隔で設けられている。
【先行技術文献】
【特許文献】
【0003】
特開2018-123628号公報
【発明の概要】
【発明が解決しようとする課題】
【0004】
しかしながら、特許文献1に記載の構造では、軸接続材を軸芯材挿入部に押し込むような押込力や軸接続材を軸芯材挿入部から引き抜く引抜力が作用したとき、その力に抵抗する力が集中的に木質軸材に生じやすいため、割裂破壊が生じやすかった。そのため、木質軸材に割裂破壊が生じにくい接続構造を実現可能な接続孔を形成可能なドリル装置が求められている。
【課題を解決するための手段】
【0005】
上記課題を解決するドリル装置は、直線状に延びる孔を有する木質軸材に孔拡幅部を形成する。前記ドリル装置は、ドリル本体と、前記ドリル本体の回転軸部にジョイントを介して連結される基端部を有し、前記回転軸部の回転軸に沿うように延びるシャフトと、前記回転軸を中心軸として回転可能に構成され、前記シャフトが挿通するシャフト孔を有する回転板と、前記シャフトの先端部に取り付けられ、前記孔の側面を切削する切削具と、を備える。前記ジョイントは、前記回転軸部のトルクを前記シャフトに伝達するとともに前記回転軸に対して前記シャフトを屈曲可能に構成され、前記回転板は、前記回転軸から偏心した位置に前記シャフト孔を有し、前記回転板の回転により前記シャフトの先端部が前記回転軸の回りを移動する。
【発明の効果】
【0006】
本発明によれば、内包部と拡幅部との境界部分において充填材に生じる剪断力を低減可能な接続孔を形成することができる。
【図面の簡単な説明】
【0007】
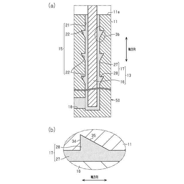
図1は、ドリル装置の一実施形態を用いて接続孔が形成された木質軸材に軸接続材が接続された状態の概略構成を他部材とともに示す斜視図である。
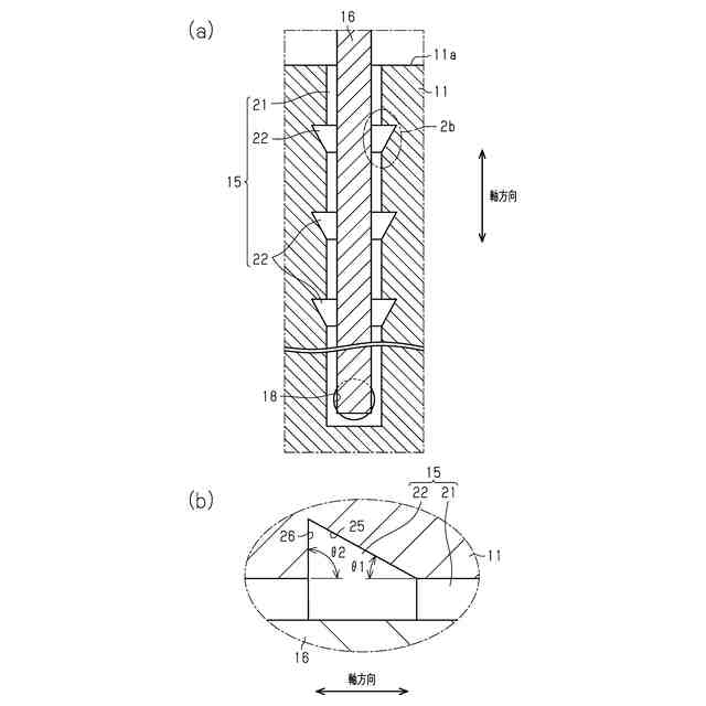
図2(a)は軸方向に沿う軸断面において接続孔に軸芯材が挿入された状態を示す図であり、図2(b)は2b線で囲まれた部分の拡大図である。
図3(a)は軸方向に沿う軸断面において充填材が形成された状態を示す図であり、図3(b)は3b線で囲まれた部分の拡大図である。
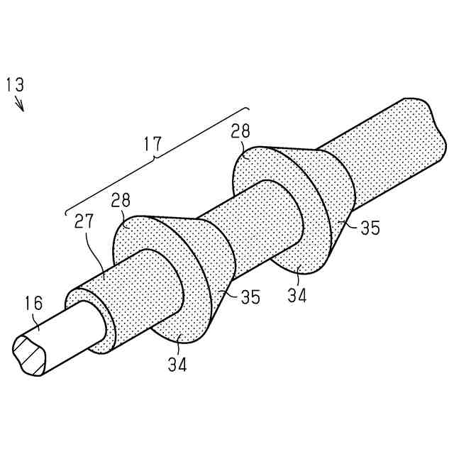
図4は、軸接続材を示す部分斜視図である。
図5は、第1木質軸材と第2木質軸材との接続方法における過程を模式的に示す断面図である。
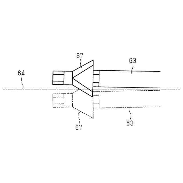
図6は、ドリル装置の一実施形態の概略構成を示す斜視図である。
図7(a)はドリル装置の一実施形態の概略構成を示す側面図であり、図7(b)はドリル装置の一実施形態の概略構成を示す上面図である。
図8は、回転板の正面構造を示す図である。
図9は、回転軸の回りをシャフトが移動する様子を模式的に示す図である。
図10(a)は接続孔拡幅部の形成位置に切削具が配置された状態を模式的に示す図であり、図10(b)は接続孔拡幅部が形成されている様子を模式的に示す図であり、図10(c)は他の接続孔拡幅部の形成位置に切削具が移動させた状態を模式的に示す図である。
【発明を実施するための形態】
【0008】
図1~図10を参照して、ドリル装置の一実施形態について説明する。まず、図1~図5を参照して、ドリル装置によって形成される接続孔拡幅部を有する接続孔を用いた接続構造について説明する。
【0009】
図1に示すように、接続構造10は、木質軸材11と他部材12とを軸方向に軸接続材13で接続する。木質軸材11は、例えば柱や梁など、建築物を構成する部材の一部である。他部材12は、例えば柱や梁、仕口など、建築物を構成する部材の一部である。他部材12は、木質材であってもよいし、プレキャスト材であってもよい。
【0010】
木質軸材11には、接続孔15が形成されている。接続孔15は、軸方向における一端面である接続面11aに開口を有して軸方向に延びる非貫通孔である。接続孔15には、軸接続材13を構成する軸芯材16が挿入される。「軸方向」とは、軸芯材16が延びる方向である。軸芯材16は、接続面11aから軸方向に突出している。木質軸材11は、軸芯材16の突出部分を利用して他部材12と接続される。軸芯材16は、例えば、異形鉄筋、全ねじボルト、グラスファイバー筋など、木質軸材11よりも強度の高い部材で構成することができる。
(【0011】以降は省略されています)
この特許をJ-PlatPat(特許庁公式サイト)で参照する
関連特許
株式会社大林組
建物
3か月前
株式会社大林組
建物
3か月前
株式会社大林組
加泥材
3か月前
株式会社大林組
測定方法
1か月前
株式会社大林組
基礎構造
2か月前
株式会社大林組
接続構造
6日前
株式会社大林組
操縦装置
6日前
株式会社大林組
接合構造
6日前
株式会社大林組
開封装置
3日前
株式会社大林組
接合構造
1か月前
株式会社大林組
接続構造
3か月前
株式会社大林組
減衰装置
3か月前
株式会社大林組
減衰装置
3か月前
株式会社大林組
飛込み台
1か月前
株式会社大林組
加熱装置
3日前
株式会社大林組
免震建築物
2か月前
株式会社大林組
建物の構造
1か月前
株式会社大林組
仮設建築物
1か月前
株式会社大林組
ドリル装置
6日前
株式会社大林組
ルーバー構造
1か月前
株式会社大林組
免震建物構造
3か月前
株式会社大林組
空調システム
2か月前
株式会社大林組
監視システム
2か月前
株式会社大林組
耐火被覆構造
3か月前
株式会社大林組
土壌改良方法
3か月前
株式会社大林組
摩擦ダンパー
3か月前
株式会社大林組
摩擦ダンパー
3か月前
株式会社大林組
耐火被覆構造
3か月前
株式会社大林組
耐火被覆構造
1か月前
株式会社大林組
スロープ構造
3日前
株式会社大林組
折畳み構造物
9日前
株式会社大林組
建物の躯体構造
2か月前
株式会社大林組
シャッター装置
2か月前
株式会社大林組
可搬式充電設備
1か月前
株式会社大林組
積層材成型方法
2か月前
株式会社大林組
床板の設置方法
1か月前
続きを見る
他の特許を見る