TOP
|
特許
|
意匠
|
商標
特許ウォッチ
Twitter
他の特許を見る
10個以上の画像は省略されています。
公開番号
2025162611
公報種別
公開特許公報(A)
公開日
2025-10-28
出願番号
2024065871
出願日
2024-04-16
発明の名称
電動式運搬補助装置
出願人
株式会社大林組
,
西尾レントオール株式会社
代理人
個人
,
個人
主分類
B62B
3/00 20060101AFI20251021BHJP(鉄道以外の路面車両)
要約
【課題】荷台とは別体でありながら、荷台の移動を電動式に支援できる電動式運搬補助装置を提供する。
【解決手段】 本体部と、本体部に対して上側位置と下側位置との間で移動可能に支持され、上側位置で荷台のフレーム部を把持可能である把持部と、本体部に回転可能に支持される電動式の駆動輪とを備える、電動式運搬補助装置が開示される。
【選択図】図5
特許請求の範囲
【請求項1】
本体部と、
前記本体部に対して上側位置と下側位置との間で移動可能に支持され、前記上側位置で荷台のフレーム部を把持可能である把持部と、
前記本体部に回転可能に支持される電動式の駆動輪と、を備える、電動式運搬補助装置。
続きを表示(約 530 文字)
【請求項2】
前記本体部は、
従動輪を有し、前記荷台の下方に位置することが可能な本体前部と、
前記本体前部を支持し、前記駆動輪を有する本体後部と、を備え、
前記本体前部が前記荷台の下方に位置しかつ前記把持部が前記下側位置にある場合、前記従動輪は、地面から離れ、前記本体前部が前記荷台の下方に位置しかつ前記把持部が前記上側位置にある場合、前記従動輪は、前記荷台の重量に応じて接地する、請求項1に記載の電動式運搬補助装置。
【請求項3】
前記本体後部は、前記本体前部を上下軸まわりに回転可能に支持し、
前記本体後部に対する前記本体前部の回転しやすさを変化させる連結機構を更に備える、請求項2に記載の電動式運搬補助装置。
【請求項4】
前記本体部には、マニュアル操作が可能なペダル部が設けられ、
前記把持部は、前記ペダル部の動きに連動して、前記下側位置と前記上側位置との間で移動する、請求項1に記載の電動式運搬補助装置。
【請求項5】
前記把持部は、前記フレーム部を前後方向に挟む態様で、前記フレーム部を把持する、請求項1から4のうちのいずれか1項に記載の電動式運搬補助装置。
発明の詳細な説明
【技術分野】
【0001】
本開示は、電動式運搬補助装置に関する。
続きを表示(約 1,500 文字)
【背景技術】
【0002】
荷台と、電気モータ及び電動式の車輪が設けられる本体とが一体的に固定された運搬台車が知られている。
【先行技術文献】
【特許文献】
【0003】
特開2022-121216号公報
【発明の概要】
【発明が解決しようとする課題】
【0004】
しかしながら、上記のような従来技術では、本体に荷台が一体的に固定しているため、本体と荷台とを切り離して利用できず、利便性が良好でない。
【0005】
そこで、本開示は、荷台とは別体でありながら、荷台の移動を電動式に支援できる電動式運搬補助装置の提供を目的とする。
【課題を解決するための手段】
【0006】
1つの側面では、本体部と、
前記本体部に対して上側位置と下側位置との間で移動可能に支持され、前記上側位置で荷台のフレーム部を把持可能である把持部と、
前記本体部に回転可能に支持される電動式の駆動輪と、を備える、電動式運搬補助装置が提供される。
【発明の効果】
【0007】
本開示によれば、荷台とは別体でありながら、荷台の移動を電動式に支援できる電動式運搬補助装置を提供することが可能となる。
【図面の簡単な説明】
【0008】
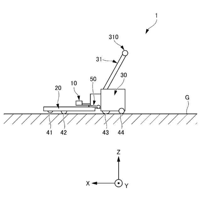
電動式運搬補助装置の単体状態を示す側面図であり、把持部が下側位置にある状態を示す図である。
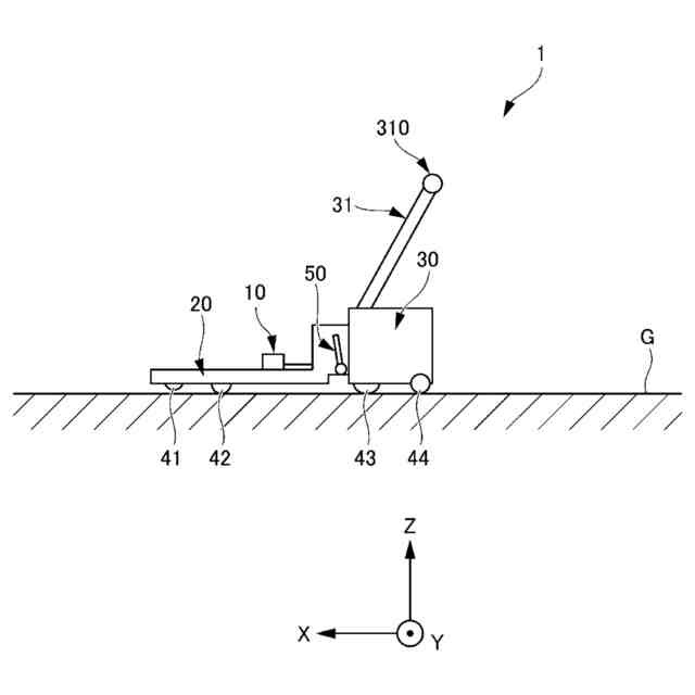
電動式運搬補助装置の単体状態を示す側面図であり、把持部が上側位置にある状態を示す図である。
荷を積んだ荷台の側面図(左右方向に視た図)である。
荷を積んだ荷台の正面図(前後方向に視た図)である。
荷台と電動式運搬補助装置とを併せて示す側面図である。
荷台の下方に電動式運搬補助装置の本体前部が潜り込んだ状態を示す側面図である。
把持部を介して荷台に電動式運搬補助装置が係合した状態(把持状態)を示す側面図である。
把持状態における把持部とフレーム部との関係を示す断面図である。
上り勾配に対して上側から電動式運搬補助装置の操作部を引っ張る操作の説明図である。
上り勾配に対して下側から電動式運搬補助装置の操作部を押す操作の説明図である。
電動式運搬補助装置の斜視図である。
電動式運搬補助装置を下方から視た平面図である。
図8の電動式運搬補助装置の把持部を拡大した側面図である。
図10に示す構成に代わる変形例を示す図である。
図8の電動式運搬補助装置の連結機構を拡大した斜視図である。
本体後部に対する本体前部の回転しやすさを変化させる連結機構の原理の簡易な説明図(その1)である。
本体後部に対する本体前部の回転しやすさを変化させる連結機構の原理の簡易な説明図(その2)である。
【発明を実施するための形態】
【0009】
以下、添付図面を参照しながら各実施例について詳細に説明する。なお、図面の寸法比率はあくまでも一例であり、これに限定されるものではなく、また、図面内の形状等は、説明の都合上、部分的に誇張している場合がある。また、図面では、見易さのために、複数存在する同一属性の部位には、一部のみしか参照符号が付されていない場合がある。
【0010】
以下では、まず、図1Aから図7を参照して、本実施例による電動式運搬補助装置1を概説する。なお、図1Aから図7は、電動式運搬補助装置1を概略的に示しており、詳細な構造は、図8以降を参照して後述する。
(【0011】以降は省略されています)
この特許をJ-PlatPat(特許庁公式サイト)で参照する
関連特許
株式会社大林組
加泥材
3か月前
株式会社大林組
飛込み台
1か月前
株式会社大林組
接合構造
6日前
株式会社大林組
開封装置
3日前
株式会社大林組
基礎構造
2か月前
株式会社大林組
接合構造
1か月前
株式会社大林組
接続構造
6日前
株式会社大林組
操縦装置
6日前
株式会社大林組
測定方法
1か月前
株式会社大林組
接続構造
3か月前
株式会社大林組
加熱装置
3日前
株式会社大林組
仮設建築物
1か月前
株式会社大林組
建物の構造
1か月前
株式会社大林組
ドリル装置
6日前
株式会社大林組
免震建築物
2か月前
株式会社大林組
折畳み構造物
9日前
株式会社大林組
監視システム
2か月前
株式会社大林組
耐火被覆構造
3か月前
株式会社大林組
耐火被覆構造
3か月前
株式会社大林組
土壌改良方法
3か月前
株式会社大林組
スロープ構造
3日前
株式会社大林組
耐火被覆構造
1か月前
株式会社大林組
ルーバー構造
1か月前
株式会社大林組
空調システム
2か月前
株式会社大林組
可搬式充電設備
1か月前
株式会社大林組
建物の躯体構造
2か月前
株式会社大林組
建物の躯体構造
2か月前
株式会社大林組
シャッター装置
2か月前
株式会社大林組
床板の設置方法
1か月前
株式会社大林組
積層材成型方法
2か月前
株式会社大林組
安全支援システム
2か月前
株式会社大林組
日射遮蔽発電装置
2か月前
株式会社大林組
鋼矢板の圧入方法
1か月前
株式会社大林組
作業支援システム
2か月前
株式会社大林組
リフトアップ装置
1か月前
株式会社大林組
リフトアップ装置
1か月前
続きを見る
他の特許を見る