TOP
|
特許
|
意匠
|
商標
特許ウォッチ
Twitter
他の特許を見る
10個以上の画像は省略されています。
公開番号
2025162803
公報種別
公開特許公報(A)
公開日
2025-10-28
出願番号
2024066230
出願日
2024-04-16
発明の名称
配線基板群、配線基板群の製造方法、及び配線基板の製造方法
出願人
大日本印刷株式会社
代理人
個人
,
個人
,
個人
主分類
H05K
3/00 20060101AFI20251021BHJP(他に分類されない電気技術)
要約
【課題】無機層の厚みを正確に測定できる配線基板群、配線基板群の製造方法、及び配線基板の製造方法を提供する。
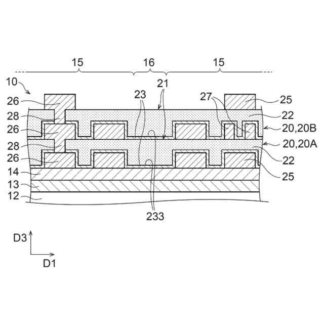
【解決手段】配線基板群10は、複数の配線領域15と、隣り合う配線領域15の間に位置する切断領域16と、を含む。配線基板群10は、キャリア基板12と、配線領域15においてキャリア基板12上に位置する配線層20と、を備える。配線層20は、導電層25と、導電層25を少なくとも部分的に覆う絶縁層21と、を含む。絶縁層21は、導電層25を少なくとも部分的に覆う無機層23と、無機層23上に位置する有機層22と、を含む。無機層23は、配線領域15から切断領域16にわたって延びている。
【選択図】図3
特許請求の範囲
【請求項1】
複数の配線領域と、隣り合う前記配線領域の間に位置する切断領域と、を含む配線基板群であって、
キャリア基板と、
前記配線領域において前記キャリア基板上に位置する配線層と、を備え、
前記配線層は、導電層と、前記導電層を少なくとも部分的に覆う絶縁層と、を含み、
前記絶縁層は、前記導電層を少なくとも部分的に覆う無機層と、前記無機層上に位置する有機層と、を含み、
前記無機層は、前記配線領域から前記切断領域にわたって延びている、配線基板群。
続きを表示(約 960 文字)
【請求項2】
前記キャリア基板は、前記配線層に向いた平坦面を含み、
前記無機層は、前記切断領域において、前記平坦面に平行な面を含む、請求項1に記載の配線基板群。
【請求項3】
前記切断領域の幅が、1μm以上である、請求項1に記載の配線基板群。
【請求項4】
前記キャリア基板と前記無機層との間に位置する光反射層を備える、請求項1に記載の配線基板群。
【請求項5】
前記有機層は、前記配線領域から前記切断領域にわたって連続的に形成されている、請求項1に記載の配線基板群。
【請求項6】
前記有機層は、前記切断領域に形成された開口を含む、請求項1に記載の配線基板群。
【請求項7】
前記配線層は、複数の前記配線層を含み、
複数の前記配線層のうちの少なくとも1つの前記配線層において、前記絶縁層が、前記無機層を含む、請求項1に記載の配線基板群。
【請求項8】
複数の前記配線層のうちの少なくとも1つの前記配線層において、前記有機層が、前記切断領域に形成された開口を含む、請求項7に記載の配線基板群。
【請求項9】
複数の配線領域と、隣り合う前記配線領域の間に位置する切断領域と、を含む配線基板群の製造方法であって、
キャリア基板を準備するキャリア基板準備工程と、
前記配線領域において前記キャリア基板上に配線層を形成する配線層形成工程と、を含み、
前記配線層形成工程は、導電層を形成する導電層形成工程と、前記導電層を少なくとも部分的に覆うように絶縁層を形成する絶縁層形成工程と、を含み、
前記絶縁層形成工程は、前記導電層を少なくとも部分的に覆うように無機層を形成する無機層形成工程と、前記無機層上に有機層を形成する有機層形成工程と、を含み、
前記無機層形成工程において、前記配線領域から前記切断領域にわたって延びるように前記無機層を形成する、配線基板群の製造方法。
【請求項10】
前記切断領域において、前記無機層の厚みを計測する厚み計測工程を含む、請求項9に記載の配線基板群の製造方法。
(【請求項11】以降は省略されています)
発明の詳細な説明
【技術分野】
【0001】
本開示は、配線基板群、配線基板群の製造方法、及び配線基板の製造方法に関する。
続きを表示(約 1,100 文字)
【背景技術】
【0002】
CPUやメモリ等、機能の異なる複数の半導体素子を一つの基板上に高密度で実装するパッケージング技術が注目されている。複数の半導体素子を電気的に接続する構造体は、インターポーザとも称される。インターポーザは、例えば、導電層及び絶縁層を含む配線層を含む。配線層は、例えば、半導体素子のパッド又は端子を別の場所へ再配置するという機能を果たす。このような配線層は、再配線層とも称される。
【0003】
配線層は、導電層と、導電層を少なくとも部分的に覆う絶縁層と、を含む。特許文献1には、絶縁層が、導電層を少なくとも部分的に覆う無機層と、無機層を覆う有機層と、を有する構造が開示されている。
【先行技術文献】
【特許文献】
【0004】
特開2018-22894号公報
【発明の概要】
【発明が解決しようとする課題】
【0005】
配線層の形成工程において、無機層が適切に形成されているかを確認するため、例えば非接触の光学的な計測方法により、無機層の厚みを計測することが考えられる。しかしながら、この場合、微細なパターンを有する導電層上に形成された無機層では、光の散乱が生じ、無機層の厚みを正確に測定できないことが懸念される。
【0006】
本開示の実施形態は、このような課題を効果的に解決し得る配線基板群、配線基板群の製造方法、及び配線基板の製造方法を提供することを目的とする。
【課題を解決するための手段】
【0007】
本開示の実施形態は、以下の[1]~[11]に関する。
【0008】
[1] 複数の配線領域と、隣り合う前記配線領域の間に位置する切断領域と、を含む配線基板群であって、
キャリア基板と、
前記配線領域において前記キャリア基板上に位置する配線層と、を備え、
前記配線層は、導電層と、前記導電層を少なくとも部分的に覆う絶縁層と、を含み、
前記絶縁層は、前記導電層を少なくとも部分的に覆う無機層と、前記無機層上に位置する有機層と、を含み、
前記無機層は、前記配線領域から前記切断領域にわたって延びている、配線基板群。
【0009】
[2] 前記キャリア基板は、前記配線層に向いた平坦面を含み、
前記無機層は、前記切断領域において、前記平坦面に平行な面を含む、[1]に記載の配線基板群。
【0010】
[3] 前記切断領域の幅が、1μm以上である、[1]又は[2]に記載の配線基板群。
(【0011】以降は省略されています)
この特許をJ-PlatPat(特許庁公式サイト)で参照する
関連特許
大日本印刷株式会社
印刷物
16日前
大日本印刷株式会社
印刷物
16日前
大日本印刷株式会社
太陽電池
12日前
大日本印刷株式会社
床構成体
25日前
大日本印刷株式会社
除電装置
5日前
大日本印刷株式会社
積層シート
23日前
大日本印刷株式会社
床用化粧材
19日前
大日本印刷株式会社
旅行記作成システム
9日前
大日本印刷株式会社
積層体および包装容器
19日前
大日本印刷株式会社
積層体および包装容器
23日前
大日本印刷株式会社
調光部材及び合わせ板
9日前
大日本印刷株式会社
加飾シート及び樹脂成形品
19日前
大日本印刷株式会社
再配線層及びその製造方法
18日前
大日本印刷株式会社
学習支援装置及びプログラム
25日前
大日本印刷株式会社
情報処理装置及びプログラム
24日前
大日本印刷株式会社
水素センサおよび水素検知システム
24日前
大日本印刷株式会社
作業装置、作業システム、作業方法
1か月前
大日本印刷株式会社
位相差板、光学部材、及び、表示装置
19日前
大日本除蟲菊株式会社
薬剤揮散装置
26日前
大日本印刷株式会社
熱転写シートと中間転写媒体との組合せ
23日前
大日本印刷株式会社
加飾シート、加飾部材及び表示システム
3日前
大日本印刷株式会社
情報処理装置、情報処理方法及びプログラム
24日前
大日本印刷株式会社
情報処理システム、装着装置及びプログラム
9日前
大日本印刷株式会社
情報処理装置、情報処理方法及びプログラム
24日前
大日本印刷株式会社
プログラム、情報処理方法、及び情報処理装置
26日前
大日本印刷株式会社
加飾積層体、転写シート、加飾部材、及び移動体
23日前
大日本印刷株式会社
加飾シート、外装部材の製造方法および外装部材
23日前
大日本印刷株式会社
測定システム、測定方法、測定プログラム、物体
17日前
大日本印刷株式会社
化粧シート、化粧シートの製造方法および化粧部材
26日前
大日本印刷株式会社
化粧シート、化粧材、及び、化粧シートの製造方法
19日前
大日本印刷株式会社
化粧シート、化粧材、及び、化粧シートの製造方法
19日前
大日本印刷株式会社
金属板の測定装置、測定方法、及び金属板の製造方法
9日前
大日本印刷株式会社
合掌ガセット袋および合掌ガセット袋用シート製造方法
3日前
大日本印刷株式会社
コンピュータプログラム、情報処理方法及び情報処理装置
5日前
大日本印刷株式会社
熱転写シートの洗浄方法およびリサイクル原料の製造方法
23日前
大日本印刷株式会社
仮想空間監視装置、プログラム及び仮想空間監視システム
4日前
続きを見る
他の特許を見る